| Maintenance Service Interval | Maintenance Procedure |
|---|---|
| Before each use or daily |
|
This machine is a ride-on, reel-blade greens mower intended to be used by professional, hired operators in commercial applications. It is primarily designed for cutting grass on well-maintained turf. Using this product for purposes other than its intended use could prove dangerous to you and bystanders.
Read this information carefully to learn how to operate and maintain your product properly and to avoid injury and product damage. You are responsible for operating the product properly and safely.
Visit www.Toro.com for more information, including safety tips, training materials, accessory information, help finding a dealer, or to register your product.
Whenever you need service, genuine Toro parts, or additional information, contact an authorized Toro distributor and have the model and serial numbers of your product ready. Figure 1 identifies the location of the model and serial numbers on the product. Write the numbers in the space provided.
Important: With your mobile device, you can scan the QR code on the serial number decal (if equipped) to access warranty, parts, and other product information.

This manual identifies potential hazards and has safety messages identified by the safety-alert symbol (Figure 2), which signals a hazard that may cause serious injury or death if you do not follow the recommended precautions.

This manual uses 2 words to highlight information. Important calls attention to special mechanical information and Note emphasizes general information worthy of special attention.
This product complies with all relevant European directives; for details, please see the separate product specific Declaration of Conformity (DOC) sheet.
It is a violation of California Public Resource Code Section 4442 or 4443 to use or operate the engine on any forest-covered, brush-covered, or grass-covered land unless the engine is equipped with a spark arrester, as defined in Section 4442, maintained in effective working order or the engine is constructed, equipped, and maintained for the prevention of fire.
The enclosed engine owner's manual is supplied for information regarding the US Environmental Protection Agency (EPA) and the California Emission Control Regulation of emission systems, maintenance, and warranty. Replacements may be ordered through the engine manufacturer.
If this machine is equipped with a telematics device, refer to your authorized Toro distributor for instructions to activate the device.
CALIFORNIA
Proposition 65 Warning
The engine exhaust from this product contains chemicals known to the State of California to cause cancer, birth defects, or other reproductive harm.
Battery posts, terminals, and related accessories contain lead and lead compounds, chemicals known to the State of California to cause cancer and reproductive harm. Wash hands after handling.
Use of this product may cause exposure to chemicals known to the State of California to cause cancer, birth defects, or other reproductive harm.
This product is capable of amputating hands and feet and of throwing objects.
Read and understand the contents of this Operator’s Manual before starting the engine.
Use your full attention while operating the machine. Do not engage in any activity that causes distractions; otherwise, injury or property damage may occur.
Do not put your hands or feet near moving components of the machine.
Do not operate the machine without all guards and other safety protective devices in place and functioning properly on the machine.
Keep bystanders and children out of the operating area. Never allow children to operate the machine.
Shut off the machine, remove the key, and wait for all movement to stop before you leave the operator’s position. Allow the machine to cool before adjusting, servicing, cleaning, or storing it.
Improperly using or maintaining this machine can result in injury.
To reduce the potential for injury, comply with these safety instructions
and always pay attention to the safety-alert symbol
, which means
Caution, Warning, or Danger—personal safety instruction. Failure
to comply with these instructions may result in personal injury or
death.
![]() |
Safety decals and instructions are easily visible to the operator and are located near any area of potential danger. Replace any decal that is damaged or missing. |










Parts needed for this procedure:
| Roll bar | 1 |
| Bolt (1/2 x 3-3/4 inches) | 4 |
| Flange nut (1/2 inch) | 4 |
Remove the top crate support from the crate.
Remove the roll bar from the crate.
Remove the 3 bolts that secure the right side cover to the machine and remove the side cover.
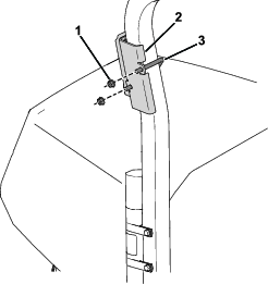
Remove the 2 bolts that secure the fuse-block bracket to the ROPS bracket as shown in Figure 3.

Align the fuse-block bracket on the right ROPS bracket and use 4 bolts (1/2 x 3-3/4 inches) and 4 flange nuts (1/2 inch) to install the roll bar into the ROPS brackets on each side of the machine.
Torque the fasteners to 136 to 149 N∙m (100 to 110 ft-lb).
Use the 3 bolts that you previously removed to secure the right side cover to the machine.
Parts needed for this procedure:
| Seat | 1 |
| Seat wire harness | 1 |
Note: Mount the seat in the front set of mounting holes to gain an additional 7.6 cm (3 inches) in the forward adjustment, or in the rear mounting holes for an additional 7.6 cm (3 inches) in the rearward adjustment.
Remove and discard the lag bolts securing the seat slides and cut the shipping straps.
Remove the 4 bolts (5/16 x 3/4 inch) and washers from the shipping bracket and discard the bracket.
Secure the seat to the seat base with 4 bolts and washers removed previously (Figure 4).

Locate the open connector on the main wire harness to the right of the seat and connect it to the wire harness that came with the seat.
Route the seat wire harness around the seat slides, ensuring that it is not pinched when you move the seat, and connect it to the port on the bottom of the seat.
Parts needed for this procedure:
| Steering wheel | 1 |
| Locknut (1-1/2 inches) | 1 |
| Washer | 1 |
| Steering-wheel cap | 1 |
Slide the steering wheel onto the steering shaft (Figure 5).

Slide the washer onto the steering shaft (Figure 5).
Secure the steering wheel to the shaft with a locknut and tighten it to 27 to 35 N∙m (20 to 26 ft-lb) (Figure 5).
Install the cap to the steering wheel and secure it with 6 bolts (Figure 5).
Parts needed for this procedure:
| Telematics device | 1 |
| Device bracket | 1 |
| Telematics wire harness | 1 |
| Hex-head bolt (#10 x 1 inch) | 4 |
| Locknut (#10) | 4 |
| U-bolt | 1 |
| Flange nut (3/8 inch) | 2 |
| Cable tie | 4 |
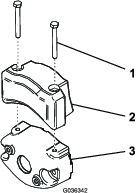
Use 4 hex-head bolts (#10 x 1 inch) and 4 locknuts (#10) to secure the telematics device to the device bracket (Figure 6).

Use a U-bolt and 2 flange nuts (3/8 inch) to secure the device bracket to the area above the manual tube on the roll bar (Figure 7).

Install the connector labeled P02 on the telematics wire harness to the telematics device (Figure 8).

Remove the right side cover (Figure 9) from the machine.

Route the wire harness down the roll bar and connect the wire-harness connector labeled P01 to the connector on the machine wire harness labeled P49 (Figure 10).
Secure the telematics harness to the main harness with a cable tie (Figure 10).

Secure the harness to the roll bar using cable ties as shown.

Install the right side cover to the machine (Figure 9).
Charge the battery; refer to Charging the Battery.
Parts needed for this procedure:
| Oil Cooler Kit—Greensmaster 3300 Series Traction Unit (Part No. 119-1691 [purchased separately]) | – |
If you are operating the machine in hot climates, where the ambient temperature is above 29°C (85°F), or using it for heavy-duty use (mowing other than greens, such as fairways or verticutting), install the optional hydraulic oil cooler kit (Part No. 119-1691).
Parts needed for this procedure:
| Grass-basket hook | 6 |
| Flange bolts | 12 |
Install the 6 grass-basket hooks onto the ends of the suspension-arm bars using the 12 flange bolts (Figure 12).

Parts needed for this procedure:
| Gauge bar | 1 |
| Cutting unit (obtain from your authorized Toro distributor) | 3 |
| Grass basket | 3 |
| Electric-reel-motor counterweight | 3 |
| Capscrew | 6 |
| O-ring | 3 |
Prepare the cutting units for installation; refer to your cutting unit Operator’s Manual.
Apply grease to the inside diameter of the drive coupler.
Install an O-ring to each reel motor as shown in Figure 13.

Install the electric-reel-motor counterweight; refer to Installing the Electrical Counterweights.
Install the cutting units; refer to Installing the Cutting Units.
The machine has a clip-control feature that varies the speed of the reels with the speed of the machine to maintain a constant clip. This achieves a consistent, high quality-of-cut and a uniform after-cut appearance. The clip-control feature is off by default; to configure it and turn it on, refer to Setting the Clip-Control Feature
Parts needed for this procedure:
| Warning decal (Part No. 136-8505) | 1 |
| CE mark decal | 1 |
| Production year decal | 1 |
If you use this machine in a country that complies to CE standards, perform the following steps after you install the guard kit to the machine:
The tires are overinflated at the factory for shipping purposes. Reduce the pressure to the proper levels before starting the machine; refer to Checking the Tire Pressure.
Burnish the brakes; refer to Burnishing the Brakes.

The traction pedal (Figure 17) has 3 functions: to make the machine move forward, to move it backward, and to stop the machine. Press the top of the pedal to move forward and the bottom of the pedal to move backward or to assist in stopping when moving forward. Also, allow the pedal to move to the neutral position to stop the machine. For your comfort, do not rest the heal of your foot on the reverse pad of the traction pedal when you are driving the machine forward. (Figure 18).


Ground speeds are as follows:
3.2 to 8 km/h (2 to 5 mph) forward mowing speed
16 km/h (10 mph) maximum transport speed
4.0 km/h (2.5 mph) reverse speed
Press the pedal (Figure 17) and raise or lower the steering arm for operator comfort, then, release the pedal to lock the arm in place.
The throttle lever (Figure 19) allows you to control the speed of the engine. Move the throttle lever toward the FAST position to increases the engine speed; move it toward the SLOW position to decrease the engine speed.
Note: You cannot shut off the engine using the throttle lever.

To start a cold engine, close the carburetor choke by pushing the choke lever forward (Figure 19) to the CLOSED position. After the engine starts, regulate the choke lever to keep the engine running smoothly. As soon as possible, open the choke by pulling the lever rearward to the OPEN position. A warm engine requires little or no choking.
Moving the control (Figure 19) forward during cutting operation lowers the cutting units and starts the reels. Pull back on the control to stop the reels and raise the cutting units. To stop the reels without raising the cutting units, pull back on the control momentarily and releasing it. Start the reels by moving the control forward.
The functional control lever (Figure 19) provides 2 traction selections plus a NEUTRAL position. You can shift from mow to transport or transport to mow (not to neutral) while the machine is in motion; no damage will result.
REAR position—neutral position; use when backlapping the reels
MIDDLE position—use when cutting grass
FRONT position—use when driving the machine between job sites
Insert the key into the switch (Figure 19) and turn it clockwise to the START position to start the engine. Release the key as soon as the engine starts; the key moves to the ON position. Turn the key counterclockwise to the STOP position to shut off the engine.
Pull the brake lever (Figure 20) to engage the parking brake. Disengage it by squeezing the release lever on the underside of the brake lever and lowering it to the released position. Engage the parking brake whenever you leave the machine.

The InfoCenter display shows information about your machine, such as the operating status, various diagnostics, and other information about the machine.

Note: The purpose of each button may change depending on what is required at the time. Each button is labeled with an icon displaying its current function.
Use the navigational buttons to navigate between the main information screen, the eReel motor screen, and menu items:
Main information screen (Figure 22): shows current machine information while the key is in the ON position.

eReel motor screen (Figure 23): shows the speed and current of each cutting-unit motor.

Main menu: refer to Using the Menus.
![]() | Hour meter |
![]() | Function-control switch is in the NEUTRAL position. |
![]() | Function-control switch is in the TRANSPORT position. |
![]() | Function-control switch is in the MOW position. |
![]() | The operator must sit in the seat. |
![]() | The parking brake is engaged. |
![]() | Start the engine. |
![]() | Engine |
![]() | The PTO is on. |
![]() | The PTO is disengaged. |
![]() | Battery |
![]() | Indicates when the cutting units are being raised. |
![]() | Indicates when the cutting units are being lowered. |
![]() | Active |
![]() | Inactive |
![]() | Previous |
![]() | Next |
![]() | Increase |
![]() | Decrease |
![]() | Previous screen |
![]() | Next screen |
![]() | Increase value |
![]() | Decrease value |
![]() | Menu |
![]() | Scroll up/down |
![]() | Scroll left/right |
To access the InfoCenter-menu system, press the MENU ACCESS button while at the main screen. This brings you to the MAIN MENU. Refer to the following tables for a synopsis of the options available from the menus:
| Menu Item | Description |
| FAULT | The FAULTS menu contains a list of the recent machine faults. Refer to the Service Manual or your authorized Toro distributor for more information on the FAULTS menu and the information contained there. |
| SERVICE | The SERVICE menu contains information on the machine such as hours of use and other similar numbers. Refer to the Service table. |
| DIAGNOSTICS | The DIAGNOSTICS menu lists various states that the machine currently has. You can use this to troubleshoot certain issues as it will quickly tell you which machine controls are on and which are off. |
| SETTINGS | The SETTINGS menu allows you to modify settings for the InfoCenter display. Refer to the Settings table. |
MACHINE SETTINGS![]() | The MACHINE SETTINGS menu allows you to adjust machine settings, such as reel speed, maximum mowing speed, and maximum transport speed. Refer to the Machine Settings table. |
| ABOUT | The ABOUT menu lists the model number, serial number, and software version of your machine. Refer to the About table. |
| Menu Item | Description |
| HOURS | Lists the total number of hours that the machine, engine, reels, backlap, and fan have been on, as well as the number of hours the machine has been transported and overheated. |
| COUNTS | Lists the number of preheats and starts the machine has experienced. |
| BACKLAP | Turns backlapping ON/OFF (once ON you can turn backlapping Off with this setting or by turning off the ignition key). |
| Menu Item | Description |
| ENTER PIN | Allows a person (superintendent/mechanic) authorized by your company with the PIN code to access protected menus. |
| BACKLIGHT | Controls the brightness of the LCD display. |
| LANGUAGE | Controls the language used on the InfoCenter. |
| FONT SIZE | Controls the size of the font on the InfoCenter. |
| UNITS | Controls the units used on the InfoCenter. The menu choices are English or metric. |
PROTECT SETTINGS ![]() | Controls the protected menus. |
RESET DEFAULTS![]() | Resets the InfoCenter to default settings. |
| Menu Item | Description |
RESET DEFAULTS![]() | Resets the InfoCenter to default settings. |
RAISE DELAY![]() | Controls the raise delay time for the center cutting unit. |
LOWER DELAY![]() | Controls the lower delay time for the center cutting unit. |
TAPOFF TIME![]() | Controls the tap-off delay. |
REEL SPEED![]() | Controls the blade speed on the cutting units. |
BACKLAP SPEED![]() | Controls the backlap speed. |
CLIP CONTROL![]() | Turns the automatic clip-control feature on or off. |
BLADE COUNT![]() | Sets the number of blades in each reel. This setting is only necessary if CLIP CONTROL is set to ON. |
HEIGHT OF CUT![]() | Sets the desired height of cut. This setting is only necessary if CLIP CONTROL is set to ON. |
| Menu Item | Description |
| MODEL | Lists the model number of the machine. |
| SN | Lists the serial number of the machine. |
| S/W REV | Lists the software revision of the master controller. |
XDM-2700 ![]() | Lists the software revision of the InfoCenter. |
CUTTING UNIT 1![]() | Lists the software revision of the center cutting unit motor. |
CUTTING UNIT 2![]() | Lists the software revision of the front, left cutting unit motor. |
CUTTING UNIT 3![]() | List the software revision of the front, right cutting unit motor. |
GENERATOR![]() | Lists the serial number of the generator. |
Note:
Protected
under Protected Menus—accessible only by entering PIN; refer
to Accessing Protected Menus.
Note: The factory default PIN code for you machine is either 0000 or 1234.If you changed the PIN code and forgot the code, contact your authorized Toro distributor for assistance.
From the MAIN MENU, scroll down to the SETTINGS menu and press the select button (Figure 24).

In the SETTINGS menu, scroll to ENTER PIN and press the select button (Figure 25A).

To enter the PIN code, press the up/down navigation buttons until the correct first digit appears, then press the right navigation button to move on to the next digit (Figure 25B and Figure 25C). Repeat this step until the last digit is entered.
Press the select button (Figure 25D).
Note: If the display accepts the PIN code and the protected menu is
unlocked,
displays in the upper right corner of the screen.
To lock the protected menu, rotate the key switch to the OFF position and then to the ON position.
In SETTINGS, scroll down to PROTECT SETTINGS.
To view and change the settings without entering a
PIN code, use the select button to change the PROTECT
SETTINGS to
(Off).
To view and change the settings with a PIN code, use
the select button to change the PROTECT SETTINGS to
(On),
set the PIN code, and turn the key in the ignition switch to the OFF position and then to the ON position.

Flashing red—active fault
Solid red—active advisory
Solid blue—calibration/dialog messages
Solid green—normal operation
Adjust the raise and lower delay time for the center cutting with the InfoCenter, as desired from 1 to 10 according to the table below. The factory default setting is 6 (375 ms) and is optimized for a 3.8 mph mow speed.
| Increment Number | Delay Time (Seconds) |
| 1 | 0.100 |
| 2 | 0.150 |
| 3 | 0.200 |
| 4 | 0.250 |
| 5 | 0.300 |
| 6 | 0.375 |
| 7 | 0.475 |
| 8 | 0.600 |
| 9 | 0.750 |
| 10 | 0.925 |
The tap-off delay feature allows the cutting units to turn off without raising, and you may adjust it with the InfoCenter. The delay setting represents the maximum time for the raise/lower joystick to remain in the raise position to activate this feature. The factory default setting is 1 which disables this feature.
| Increment Number | Delay Time (Seconds) |
| 1 | Off |
| 2 | 0.050 |
| 3 | 0.100 |
| 4 | 0.150 |
| 5 | 0.200 |
| 6 | 0.250 |
| 7 | 0.300 |
| 8 | 0.350 |
| 9 | 0.400 |
| 10 | 0.450 |
To achieve a consistent, high quality of cut and a uniform after-cut appearance, the machine has a clip-control feature that varies the speed of the reels with the speed of the machine to maintain a constant clip. This feature is OFF by default. If you turn on this feature, ensure that the blade count and height of cut are configured to their appropriate values in the SETTINGS menu.
The clip-control feature automatically sets the reel speed to match the machine speed. If you choose not to use the clip-control feature, set the reel speed manually as follows:
Select the height-of-cut at which the cutting units are set.
Choose the desired ground speed best suited for conditions.
Using the appropriate graph (Figure 27) for 5-, 8-, 11-, or 14-blade cutting units, determine the proper reel speed setting.

To set the reel speed on the InfoCenter, open the Main Menu and scroll down to SETTINGS.
In the SETTINGS menu, scroll down to REEL SPEED and use the appropriate button to set the reel speed to the desired number.
The fault-log indicator icon appears on the main screen in the event of a fault in the machine. When this icon is present there is a new log entry in the Faults menu that you or your distributor can use to identify the problem.
For a list of faults, refer to your authorized Toro distributor or the Service Manual.
The seat-adjusting lever is located on the front, left corner of the seat (Figure 28), allowing you to adjust the seat forward and rearward.
Note: If you need to adjust the seat more, you can remove the 4 nuts that secure the seat slide rails to the base and move the seat slide rails to the second set of mounting holes provided.

Close the fuel-shutoff valve (Figure 29), behind the seat and under the fuel tank, when storing or transporting the machine on a truck or trailer.

Before installing, removing, or working on the cutting units, disconnect the cutting units from the power supply by separating the cutting unit power disconnect connectors (Figure 30), located at the base of the rollover bar on the left side of the traction unit. Plug the connectors together before operating the machine.

If you do not disconnect the power to the cutting units, someone could accidentally start the cutting unit, causing serious injury to hands and feet.
Always separate the cutting unit power disconnect connectors before working on the cutting units.
Note: Specifications and design are subject to change without notice.
Note: The weight listed is the weight of the machine in the most common configuration.The total weight includes the traction unit with three 11-blade cutting units.
| Width of cut | 151 cm (59.5 inches) |
| Wheel tread | 128 cm (50.5 inches) |
| Wheel base | 119 cm (46.9 inches) |
| Overall length (w/baskets) | 249 cm (98.0 inches) |
| Overall width | 179 cm (70.6 inches) |
| Overall height | 205 cm (80.8 inches) |
| Weight | 712 kg (1,569 lb) |
A selection of Toro approved attachments and accessories is available for use with the machine to enhance and expand its capabilities. Contact your Authorized Service Dealer or authorized Toro distributor or go to www.Toro.com for a list of all approved attachments and accessories.
To ensure optimum performance and continued safety certification of the machine, use only genuine Toro replacement parts and accessories. Replacement parts and accessories made by other manufacturers could be dangerous, and such use could void the product warranty.
Note: Determine the left and right sides of the machine from the normal operating position.
Never allow children or untrained people to operate or service the machine. Local regulations may restrict the age of the operator. The owner is responsible for training all operators and mechanics.
Become familiar with the safe operation of the equipment, operator controls, and safety signs.
Engage the parking brake, shut off the machine, remove the key, and wait for all movement to stop before you leave the operator’s position. Allow the machine to cool before adjusting, servicing, cleaning, or storing it.
Know how to stop the machine and shut off the machine quickly.
Check that operator-presence controls, safety switches, and safety protective devices are attached and functioning properly. Do not operate the machine unless they are functioning properly.
Before mowing, always inspect the machine to ensure that the cutting units are in good working condition.
Inspect the area where you will use the machine and remove all objects that the machine could throw.
Use extreme care in handling fuel. It is flammable and its vapors are explosive.
Extinguish all cigarettes, cigars, pipes, and other sources of ignition.
Use only an approved fuel container.
Do not remove the fuel cap or fill the fuel tank while the engine is running or hot.
Do not add or drain fuel in an enclosed space.
Do not store the machine or fuel container where there is an open flame, spark, or pilot light, such as on a water heater or other appliance.
If you spill fuel, do not attempt to start the engine; avoid creating any source of ignition until the fuel vapors have dissipated.
Fuel tank capacity: 20 L (4.75 US gallons)
Recommended Fuel: Unleaded gasoline with an octane rating of 87 or higher ((R+M)/2 rating method)
Ethanol: Gasoline with up to 10% ethanol (gasohol) or 15% MTBE (methyl tertiary butyl ether) by volume is acceptable. Ethanol and MTBE are not the same. Gasoline with 15% ethanol (E15) by volume is not approved for use.
Never use gasoline that contains more than 10% ethanol by volume, such as E15 (contains 15% ethanol), E20 (contains 20% ethanol), or E85 (contains up to 85% ethanol).
Do not use fuel that contains methanol.
Do not store fuel either in the fuel tank or fuel containers over the winter, unless you use a fuel stabilizer.
Do not add oil to gasoline.
For best results, use only clean, fresh (less than 30 days old) fuel.
Using unapproved gasoline may cause performance problems and/or engine damage, which may not be covered under the warranty.
Important: Do not use fuel additives other than a fuel stabilizer/conditioner. Do not use fuel stabilizers with an alcohol base such as ethanol, methanol, or isopropanol.
Clean around the fuel-tank cap and remove it (Figure 31).

Add the specified fuel to the fuel tank until the level is 25 mm (1 inch) below the bottom of the filler neck. This space in the tank allows the fuel to expand.
Important: Do not fill the fuel tank completely full.
Install the cap.
Note: You will hear a click sound when the cap is secure.
Wipe up any spilled fuel.
| Maintenance Service Interval | Maintenance Procedure |
|---|---|
| Before each use or daily |
|
Before starting the machine each day, perform the following procedures:
Check the engine-oil level—refer to Checking the Engine Oil.
Check the hydraulic-fluid level—refer to Checking the Hydraulic-Fluid Level.
Check the reel-to-bedknife contact—refer to Checking the Reel-to-Bedknife Contact.
Check the tire pressure—refer to Checking the Tire Pressure.
The owner/operator can prevent and is responsible for accidents that may cause personal injury or property damage.
Wear appropriate clothing, including eye protection; long pants; substantial, slip-resistant footwear, and hearing protection. Tie back long hair and do not wear loose clothing or loose jewelry.
Do not operate the machine while ill, tired, or under the influence of alcohol or drugs.
Use your full attention while operating the machine. Do not engage in any activity that causes distractions; otherwise, injury or property damage may occur.
Before you start the engine, ensure that all drives are in neutral, the parking brake is engaged, and you are in the operating position.
Do not carry passengers on the machine.
Keep bystanders and children out of the operating area. If co-workers must be present, use caution and ensure that the grass baskets are installed on the machine.
Operate the machine only in good visibility to avoid holes or hidden hazards.
Avoid mowing on wet grass. Reduced traction could cause the machine to slide.
Keep your hands and feet away from the cutting units.
Look behind and down before backing up to be sure of a clear path.
Use care when approaching blind corners, shrubs, trees, or other objects that may obscure your vision.
Stop the cutting units whenever you are not mowing.
Slow down and use caution when making turns and crossing roads and sidewalks with the machine. Always yield the right-of-way.
Operate the engine only in well-ventilated areas. Exhaust gases contain carbon monoxide, which is lethal if inhaled.
Do not leave a running machine unattended.
Before you leave the operating position, do the following:
Park the machine on a level surface.
Lower the cutting units to the ground and ensure that they are disengaged.
Engage the parking brake.
Shut off the engine and remove the key.
Wait for all movement to stop.
Operate the machine only in good visibility and appropriate weather conditions. Do not operate the machine when there is the risk of lightning.
Do not remove any of the ROPS components from the machine.
Ensure that the seat belt is attached and that you can release it quickly in an emergency.
Always wear your seat belt.
Check carefully for overhead obstructions and do not contact them.
Keep the ROPS in safe operating condition by thoroughly inspecting it periodically for damage and keeping all the mounting fasteners tight.
Replace all damaged ROPS components. Do not repair or alter them.
Slopes are a major factor related to loss of control and rollover accidents, which can result in severe injury or death. You are responsible for safe slope operation. Operating the machine on any slope requires extra caution.
Evaluate the site conditions to determine if the slope is safe for machine operation, including surveying the site. Always use common sense and good judgment when performing this survey.
Review the slope instructions, listed below, for operating the machine on slopes. Before you operate the machine, review the site conditions to determine whether you can operate the machine in the conditions on that day and at that site. Changes in the terrain can result in a change in slope operation for the machine.
Avoid starting, stopping, or turning the machine on slopes. Avoid making sudden changes in speed or direction. Make turns slowly and gradually.
Do not operate a machine under any conditions where traction, steering, or stability is in question.
Remove or mark obstructions such as ditches, holes, ruts, bumps, rocks, or other hidden hazards. Tall grass can hide obstructions. Uneven terrain could overturn the machine.
Be aware that operating the machine on wet grass, across slopes, or downhill may cause the machine to lose traction. Loss of traction to the drive wheels may result in sliding and a loss of braking and steering.
Use extreme caution when operating the machine near drop-offs, ditches, embankments, water hazards, or other hazards. The machine could suddenly roll over if a wheel goes over the edge or the edge caves in. Establish a safety area between the machine and any hazard.
Identify hazards at the base of the slope. If there are hazards, mow the slope with a pedestrian-controlled machine.
If possible, keep the cutting units lowered to the ground while operating on slopes. Raising the cutting units while operating on slopes can cause the machine to become unstable.
Use extreme caution with grass-collection systems or other attachments. These can change the stability of the machine and cause a loss of control.
Refer to the engine Owner’s Manual supplied with the machine for oil change and maintenance procedures recommended during the break-in period.
Only 8 hours of operation is required for the break-in period.
Since the first hours of operation are critical to future dependability of the machine, monitor its functions and performance closely so that minor difficulties, which could lead to major problems, are noted and can be corrected. Inspect the machine frequently during break-in for signs of oil leakage, loose fasteners, or any other malfunction.
Note: Inspect the areas beneath the cutting units to ensure that they are clear of debris.
Sit on the seat, engage the parking brake, disengage the raise/lower mow control and move the functional-control lever to the NEUTRAL position.
Ensure that the traction pedal is in the NEUTRAL position and that you foot is off the pedal.
If you are starting a cold engine, move the choke to the ON position.
Move the throttle lever to the HALF THROTTLE position.
Insert and rotate the ignition key clockwise until the engine starts.
After the engine starts, adjust the choke to run the engine smoothly. As soon as possible, open the choke by pulling it rearward to the OFF position. A warm engine requires little or no choking.
Move the throttle lever to the FAST position.
Move the raise/lower mow control lever forward momentarily.
The cutting units should lower and all the reels should rotate.
Note: The function lever should be in the middle (mow) position for the reels run when lowering the cutting units
Move the raise/lower mow control lever rearward.
The cutting reels should stop rotating and the cutting units should raise to the full transport position.
Engage the brake to keep the machine from moving, and operate the traction pedal through the forward and reverse positions.
Continue the above procedure for 1 or 2 minutes. Move the functional-control lever to the NEUTRAL position, engage the parking brake, and shut off the engine.
Check for fluid leaks and tighten the hydraulic fittings if any leaks are found.
Note: When the machine is new and the bearings and reels are tight, it is necessary to use the FAST throttle-lever position for this check. A fast throttle setting may not be required after the break-in period.
Note: If fluid leaks continue to appear, contact your authorized Toro distributor for assistance and, if necessary, replacement parts.
Important: A trace of fluid on the motor or wheel seals is normal. Seals require a small amount of lubrication to perform properly.
Move the throttle lever to the SLOW position, pull back the raise/lower mow control, and move the functional-control lever to the NEUTRAL position.
Rotate the ignition key to the OFF position to shut off the engine. Remove the key from the switch to prevent accidental starting.
Close the fuel shut-off valve before storing the machine.
| Maintenance Service Interval | Maintenance Procedure |
|---|---|
| Before each use or daily |
|
If the safety interlock switches are disconnected or damaged the machine could operate unexpectedly, causing personal injury.
Do not tamper with the interlock switches.
Check the operation of the interlock switches daily and replace any damaged switches before operating the machine.
The purpose of the safety-interlock system is to prevent operation of the machine where there is possible injury to you or damage to the machine.
The safety-interlock system prevents the engine from starting unless:
The traction pedal is in the NEUTRAL position.
The functional-control lever is in the NEUTRAL position.
The safety-interlock system prevents the machine from moving unless:
The parking brake is disengaged.
You are seated in the operator's seat.
The functional-control lever is in the MOW position or the TRANSPORT position.
The safety-interlock system prevents the reels from operating unless the functional-control lever is in the MOW position.
| Maintenance Service Interval | Maintenance Procedure |
|---|---|
| Before each use or daily |
|
Perform the following system checks daily to ensure that the interlock system is operating correctly:
Sit on the seat, move the traction pedal to the NEUTRAL position, move the functional-control lever to the NEUTRAL position, and engage the parking brake.
Try to move the traction pedal forward or backward.
The pedal should not move, which indicates that the interlock system is operating correctly. Correct the problem if it is not operating properly.
Sit on the seat, move the traction pedal to the NEUTRAL position, move the functional-control lever to the NEUTRAL position, and engage the parking brake.
Move the functional-control lever to the MOW position or the TRANSPORT position and try to start the engine.
The engine should not turnover or start, which indicates that the interlock system is operating correctly. Correct the problem if it is not operating properly.
Sit on the seat, move the traction pedal to the NEUTRAL position, move the functional-control lever to the NEUTRAL position, and engage the parking brake.
Start the engine and move the functional-control lever to the MOW position or the TRANSPORT position.
The engine should shut off, which indicates that the interlock system is operating correctly.
Correct the problem if it is not operating properly.
Sit on the seat, move the traction pedal to the NEUTRAL position, move the functional control lever to the NEUTRAL position, and engage the parking brake.
Start the engine.
Release the parking brake, move the functional control lever to the MOW position, and rise from the seat.
The engine should shut off, which indicates that the interlock system is operating correctly. Correct the problem if it is not operating properly.
Sit on the seat, move the traction pedal to the NEUTRAL position, move the functional control lever to the NEUTRAL position, and engage the parking brake.
Start the engine.
Move the raise/lower mow control forward to lower the cutting units. The cutting units should lower but not start rotating.
If they start rotating, the interlock system is not operating correctly; correct the problem before operating the machine.
Ensure that the cutting units are fully raised.
Move the functional-control lever to the TRANSPORT position.
Use the brakes to slow the machine while going down steep hills to avoid loss of control.
Always approach rough areas at a reduced speed and cross severe undulations carefully.
Familiarize yourself with the width of the machine. Do not attempt to pass between objects that are close together to prevent costly damage and downtime.
Important: If the leak detector alarm (if equipped on your model) sounds or you notice an oil leak while cutting on a green, immediately raise the cutting units, drive directly off the green, and stop the machine in an area away from the green. Determine the cause of the leak and correct the problem.
Before mowing greens, find a clear area and practice performing basic machine functions (e.g., starting and stopping the machine, raising and lowering the cutting units, and turning).
Inspect the green for debris, remove the flag from the cup, and determine the best direction to mow. Base the direction to mow on the previous mowing direction. Always mow in an alternate pattern from the previous mowing so that the grass blades are less apt to lay down and therefore be difficult to trap between the reel blades and the bedknife.
Approach the green with the functional-control lever in the MOW position and the throttle at full speed.
Start on 1 edge of the green so that you can use the ribbon procedure of cutting.
Note: This holds compaction to a minimum and leaves a neat, attractive pattern on the greens.
Push forward the raise/lower mow lever as the front edges of the grass baskets cross the outer edge of the green.
Note: This procedure drops the cutting units to the turf and starts the reels.
Important: The center cutting unit drops and raises slightly after the front cutting units do; therefore, you should practice gaining the required timing necessary to minimize the cleanup mowing operation.
Note: The delay in raising and lowering the center cutting unit depends on hydraulic fluid temperature. Cold hydraulic fluid results in a longer delay. As the fluid temperature increases, the delay time becomes shorter.
Overlap a minimal amount with the previous cut on return passes.
Note: To assist in maintaining a straight line across the green and keeping the machine an equal distance from the edge of the previous cut, imagine a sight line approximately 1.8 to 3 m (6 to 10 ft) ahead of the machine to the edge of the uncut portion of the green (Figure 33). Include the outer edge of the steering wheel as part of the sight line; i.e., keep the steering wheel edge aligned with a point that is always kept the same distance away from the front of the machine.
As the front edges of the baskets cross the edge of the green, pull back the raise/lower mow lever rearward and hold it until all the cutting units have risen. This stops the reels and lifts the cutting units.
Important: Time this step correctly so that you do not cut into the fringe area, yet cut as much of the green as possible to minimize the amount of grass left to mow around the outer periphery.
To cut down on operating time and to ease the lineup for the next pass, momentarily turn the machine in the opposite direction, then turn it in the direction of the uncut portion. This movement is a tear-shaped turn (Figure 32), which quickly lines the machine up for your next pass.

Note: Try to make as short of a turn as possible, except during warmer weather—a wider arc minimizes the turf bruising.

Note: The steering wheel does not return to its original position after you complete a turn.
Important: Never stop the machine on a green while the cutting units are engaged, as damage to the turf may result. Stopping the machine on a wet green may leave marks or indentations from the wheels.
Finish cutting the green by mowing the outer periphery. Change the direction of cutting from the previous mowing.
Note: Use the throttle lever to adjust the machine speed when you cut the periphery. This will match the clip to the green and may reduce triplex ring.
Note: Always keep weather and turf conditions in mind and be sure to change the direction of mowing from the previous cutting.
When finished mowing the outer periphery, tap the raise/lower mow lever rearward to stop the reels, then drive off the green. When all the cutting units are off the green, raise the cutting units.
Note: This step minimizes grass clumps left on the green.
Replace the flag.
Empty the grass baskets of all clippings before you transport the machine to the next green.
Note: Heavy wet clippings place an undue strain on the baskets and add unnecessary weight to the machine, which increases the load on the machine systems (e.g., engine, hydraulic system, and brakes).
Engage the parking brake, shut off the engine, remove the key, and wait for all movement to stop before you leave the operator’s position. Allow the machine to cool before adjusting, servicing, cleaning, or storing it.
Clean grass and debris from the cutting units and drives to help prevent fires. Clean up oil or fuel spills.
Shut off the fuel while storing or hauling the machine.
Disengage the drive to the attachment whenever you are hauling or not using the machine.
Allow the machine to cool before storing the machine in any enclosure.
Maintain and clean the seat belt(s) as necessary.
Do not store the machine or fuel container where there is an open flame, spark, or pilot light, such as on a water heater or on other appliances.
Tow only with a machine that has a hitch designed for towing. Do not attach towed equipment except at the hitch point.
Follow the manufacturer’s recommendation for weight limits for towed equipment and towing on slopes. On slopes, the weight of the towed equipment may cause loss of traction and loss of control.
Never allow children or others in or on towed equipment.
Travel slowly and allow extra distance to stop when towing.
In case of an emergency, you can tow the machine for up to 0.4 km (1/4 mi).
Important: Do not tow the machine faster than 3 to 5 km/h (2 to 3 mph) to avoid damaging the drive system. If you must move the machine more than 0.4 km (1/4 mi), transport it on a truck or trailer.
Locate the bypass valve on the pump (Figure 34).

Open the bypass valve by turning the valve 3 revolutions counterclockwise.
Before starting the engine, tighten the bypass valve and torque the valve to 12 N∙m (9 ft-lb).
Important: Do not start the engine when the bypass valve is open.
| Maintenance Service Interval | Maintenance Procedure |
|---|---|
| Before each use or daily |
|
After mowing, thoroughly wash the machine with a garden hose without a nozzle so that excessive water pressure does not contaminate and damage the seals and bearings. Do not wash a warm engine or the electrical connections with water.
After cleaning the machine, do the following:
Inspect the machine for possible hydraulic fluid leaks, damage or wear to hydraulic and mechanical components.
Inspect the cutting units for sharpness.
Lubricate the brake-shaft assembly with SAE 30 oil or spray lubricant to deter corrosion and help keep the machine performing satisfactorily during the next mowing operation.
Use care when loading or unloading the machine into a trailer or a truck.
Use a full-width ramp for loading the machine into a trailer or a truck.
Tie the machine down securely using straps, chains, cable, or ropes. Both front and rear straps should be directed down and outward from the machine (Figure 35).

Failure to properly maintain the machine could result in premature failure of machine systems causing possible harm to you or bystanders.
Keep the machine well maintained and in good working order as indicated in these instructions.
Note: Determine the left and right sides of the machine from the normal operating position.
Note: Download a free copy of the electrical or hydraulic schematic by visiting www.Toro.com and searching for your machine from the Manuals link on the home page.
Important: Refer to your engine owner's manual for additional maintenance procedures.
If you leave the key in the ignition switch, someone could accidently start the engine and seriously injure you or other bystanders.
Remove the key from the ignition and disconnect the wires from the spark plugs before you do any maintenance. Set the wires aside so that they do not accidentally contact the spark plugs.
Before you leave the operator’s position, do the following:
Park the machine on a level surface.
Disengage the cutting unit(s).
Engage the parking brake.
Shut off the engine and remove the key.
Wait for all movement to stop.
Allow machine components to cool before performing maintenance.
If possible, do not perform maintenance while the engine is running. Keep away from moving parts.
Support the machine with jack stands whenever you work under the machine.
Carefully release pressure from components with stored energy.
Keep all parts of the machine in good working condition and all hardware tightened.
Replace all worn or damaged decals.
To ensure safe, optimal performance of the machine, use only genuine Toro replacement parts. Replacement parts made by other manufacturers could be dangerous, and such use could void the product warranty.
| Maintenance Service Interval | Maintenance Procedure |
|---|---|
| After the first hour |
|
| After the first 10 hours |
|
| After the first 50 hours |
|
| Before each use or daily |
|
| Every 50 hours |
|
| Every 100 hours |
|
| Every 200 hours |
|
| Every 400 hours |
|
| Every 500 hours |
|
| Every 800 hours |
|
| Every 1,000 hours |
|
| Every 2,000 hours |
|
| Yearly |
|
| Every 2 years |
|
| Maintenance Service Interval | Maintenance Procedure |
|---|---|
| Every 400 hours |
|
Lubricate the grease fitting with No. 2 lithium grease.
Wipe the grease fitting clean so that you do not force foreign matter into the bearing or bushing (Figure 36).

Pump grease into the bearing or bushing until the grease is visible. Wipe up excess grease.
Shut off the engine before checking the oil or adding oil to the crankcase.
Do not change the governor speed or overspeed the engine.
| Maintenance Service Interval | Maintenance Procedure |
|---|---|
| Every 50 hours |
|
| Every 100 hours |
|
Clean the air-cleaner cover (Figure 37).

Release the locking clips and remove the air-cleaner cover.
Remove the wing nut securing the elements to the air-cleaner body (Figure 38).
If the foam element is dirty, remove it from the paper element (Figure 38). Clean it thoroughly, as follows:
Wash the foam element in a solution of liquid soap and warm water. Squeeze it to remove dirt.
Dry it by wrapping it in a clean rag. Squeeze the rag and foam element dry.
Important: When drying the foam element, do not twist it; the foam may tear.

Check the condition of the paper element. Clean it by gently tapping it on a flat surface or replace it if needed.
Install the foam element, paper element, wing nut, and air-cleaner cover.
Important: Do not operate the engine without the air-cleaner element because extreme engine wear and damage will likely result.
The engine is shipped with oil in the crankcase; however, you must check the oil level before and after starting the engine the first time.
API Oil Service Classification: SJ or higher
Oil Viscosity: SAE 30
Note: Use any high-quality detergent oil.
| Maintenance Service Interval | Maintenance Procedure |
|---|---|
| Before each use or daily |
|
Park the machine on a level surface, shut off the engine and remove the key.
Unscrew the dipstick, remove it, and wipe it with a clean rag.
Insert the dipstick into the dipstick tube and thread it into the tube (Figure 39).

Unscrew the dipstick, pull it out of the tube, and check the oil level.
If the oil level is low, remove the filler cap from the valve cover and add oil into the engine through the filler neck until the oil level is up to the FULL mark on the dipstick.
Add the oil slowly and check the level often during this process.
Important: Do not overfill the engine with oil.
Install the filler cap and dipstick.
| Maintenance Service Interval | Maintenance Procedure |
|---|---|
| Every 100 hours |
|
Engine oil quantity: 1.65 L (1-3/4 US qt) with filter
Remove the drain plug (Figure 40) and let the oil flow into a drain pan.

Clean the threads of the drain plug, apply PTFE sealant, and install the drain plug (Figure 40).
Remove the oil filter (Figure 40).
Apply a light coat of clean oil to the new filter gasket.
Screw the filter on by hand until the gasket contacts the filter adapter, then tighten it 3/4 to 1 turn further. Do not overtighten it.
Add oil to the crankcase; refer to Checking the Engine Oil and Engine Oil Specification.
Dispose of the oil filter and used oil properly.
| Maintenance Service Interval | Maintenance Procedure |
|---|---|
| Every 1,000 hours |
|
Spark plug specification: Champion RC 14YC
Air gap specification: 0.76 mm (0.030 inch)
Clean the area around the spark plugs so that foreign matter cannot fall into the cylinder.
Pull the wires off the spark plugs and remove the plugs.
Check the condition of the side electrode, center electrode, and center electrode insulator to ensure that there is no damage.
Important: Replace a cracked, fouled, dirty, or otherwise malfunctioning spark plug. Do not sand blast, scrape, or clean electrodes by using a wire brush because grit may eventually release from the plug, fall into the cylinder, and damage the engine.
Set the air gap between the center and side of the electrodes at 0.76 mm (0.030 inches) as shown in Figure 41.

Install the spark plug and gasket seal, and torque the plug to 23 N∙m (200 in-lb).
| Maintenance Service Interval | Maintenance Procedure |
|---|---|
| Every 500 hours |
|
The in-line fuel filter is in the fuel line between the fuel tank and carburetor (Figure 42).
In certain conditions, fuel is extremely flammable and highly explosive. A fire or explosion from fuel can burn you and others and can damage property.
Drain fuel from the fuel tank when the engine is cold. Do this outdoors in an open area. Wipe up any fuel that spills.
Never smoke when draining fuel, and stay away from an open flame or where a spark may ignite the fumes.
Close the fuel-shutoff valve (Figure 42).

Place a drain pan under the filter, loosen the hose clamp on the carburetor side of filter, and remove the fuel line from the filter (Figure 42).
Loosen the other hose clamp and remove the filter (Figure 42).
Install the new filter with the arrow on the filter body pointing away from the fuel tank.
| Maintenance Service Interval | Maintenance Procedure |
|---|---|
| Every 2 years |
|
Inspect the fuel lines for deterioration, damage, or loose connections.
Disconnect the battery before repairing the machine. Disconnect the negative terminal first and the positive last. Connect the positive terminal first and the negative last.
Charge the battery in an open, well-ventilated area, away from sparks and flames. Unplug the charger before connecting or disconnecting the battery. Wear protective clothing and use insulated tools.
Battery terminals or metal tools could short against metal components, causing sparks. Sparks can cause the battery gasses to explode, resulting in personal injury.
When removing or installing the battery, do not allow the battery terminals to touch any metal parts of the machine.
Do not allow metal tools to short between the battery terminals and metal parts of the machine.
Incorrect battery cable routing could damage the machine and cables causing sparks. Sparks can cause the battery gasses to explode, resulting in personal injury.
Always disconnect the negative (black) battery cable before disconnecting the positive (red) cable.
Incorrect battery cable routing could damage the machine and cables causing sparks. Sparks can cause the battery gasses to explode, resulting in personal injury.
Always connect the positive (red) battery cable before connecting the negative (black) cable.
Battery terminals or metal tools could short against metal machine components, causing sparks. Sparks can cause the battery gasses to explode, resulting in personal injury.
When removing or installing the battery, do not allow the battery terminals to touch any metal parts of the machine.
Do not allow metal tools to short between the battery terminals and metal parts of the machine.
Disconnect the battery; refer to Disconnecting the Battery.
Remove the wing nuts and rods that secure the battery to the platform (Figure 45) and lift out the battery.

Connect a 2 to 4 A battery charger to the battery posts. Charge the battery for at least 2 hours at 4 A or for at least 4 hours at 2 A until the specific gravity is 1.250 or higher and the temperature is at least 16°C (60°F) with all cells gassing freely.
Charging the battery produces gasses that can explode.
Never smoke near the battery and keep sparks and flames away from the battery.
Important: If you do not charge the battery for at least the time specified in this step, you may reduce the life of the battery.
When the battery is charged, disconnect the charger from the electrical outlet and battery posts.
Place the battery on the battery tray and secure it with the previously removed rods and fasteners (Figure 45).
Connect the battery; refer to Connecting the Battery.
If you need to jump start the machine, you can use the alternate-positive post (located on the starter solenoid) instead of the positive battery post (Figure 48).

| Maintenance Service Interval | Maintenance Procedure |
|---|---|
| Before each use or daily |
|
Vary the tire pressure for all 3 wheels, depending upon your turf conditions, from a minimum of 83 to a maximum of 110 kPa (12 psi to 16 psi).
| Maintenance Service Interval | Maintenance Procedure |
|---|---|
| After the first hour |
|
| After the first 10 hours |
|
| Every 200 hours |
|
Wheel hub nut torque specification: 420 to 461 N∙m (310 to 340 ft-lb)
| Maintenance Service Interval | Maintenance Procedure |
|---|---|
| After the first hour |
|
| After the first 10 hours |
|
| Every 200 hours |
|
Failure to maintain proper torque of the wheel nuts could result in personal injury.
Torque the wheel nuts to the specified torque at the specified intervals.
Wheel nut torque specification: 95 to 122 N∙m (70 to 90 ft-lb)
Note: To ensure even distribution, torque the wheel nuts in a X pattern.
If the machine creeps when the traction-control pedal is in the NEUTRAL position, adjust the neutral-return mechanism.
Ensure that the bypass valve is closed.
Lift the machine and support it at the frame so that 1 of the front wheels is off the floor.
Note: If the machine is equipped with a 3-Wheel Drive Kit, also raise and block the rear wheel.
Start the engine, move the throttle to the SLOW position, and ensure that the front wheel that is off the floor is not rotating.
If the wheel is rotating, shut off the engine and proceed as follows:
Loosen the nut securing the eccentric to the top of the hydrostat (Figure 49).

Move the functional-control lever to the NEUTRAL position and the throttle to the SLOW position. Start the engine.
Rotate the eccentric until creep does not occur in either direction. When the wheel stops rotating, tighten the nut locking the eccentric and the adjustment (Figure 49). Verify the adjustment with the throttle in the SLOW and FAST position.
Note: If the wheel still turns when the eccentric is at the maximum adjustment, contact your authorized Toro distributor or refer to the Service Manual for further adjustment.
The traction pedal comes adjusted for maximum-transport speed, but you may need to adjust it if the pedal reaches full stroke before it contacts the pedal stop, or if you want to a decrease the transport speed.
To obtain the maximum-transport speed, put the functional control lever in the TRANSPORT position and press down on the traction pedal. If the pedal contacts the stop (Figure 50) before you feel tension on the cable, perform the following adjustment procedure:

Put the functional-control lever in the TRANSPORT position and loosen the locknut securing the pedal stop to the floor plate (Figure 50).
Tighten the pedal stop until it does not contact the traction pedal.
Continue applying a light load on the transport pedal and adjust the pedal stop so it contacts the pedal rod and tighten the nuts.
Important: Ensure that the tension on the cable is not excessive or you will reduce the cable life.
Press down on the traction pedal and loosen the locknut securing the pedal stop to the floor plate.
Loosen the pedal stop until you obtain the desired transport speed.
Tighten the locknut securing the pedal stop.
The mow speed is set to 3.8 mph at the factory.
You can adjust the forward moving speed from 0 to 8 km/h (0 to 5 mph).
Loosen the jam nut on the trunnion bolt (Figure 51).
Loosen the nut securing the lock and mow brackets on the pedal pivot.

Rotate the trunnion bolt clockwise to reduce the mowing speed and counterclockwise to increase the mowing speed.
Tighten the jam nut on the trunnion bolt and the nut on the pedal pivot to lock the adjustment (Figure 51). Check the adjustment and adjust as required.
| Maintenance Service Interval | Maintenance Procedure |
|---|---|
| Yearly |
|
Firmly apply the brakes and drive the machine at mowing speed until the brakes are hot, as indicated by their smell. You may need to adjust the brakes after the break-in period; refer to Adjusting the Brakes.
If the brake fails to hold the machine while parked, you can adjust the brakes using the bulkhead fitting near the brake drum; contact your Authorized Service Dealer or refer to the Service Manual for more information.
Note: Burnish the brakes annually; refer to Burnishing the Brakes.
Seek immediate medical attention if fluid is injected into skin. Injected fluid must be surgically removed within a few hours by a doctor.
Ensure that all hydraulic-fluid hoses and lines are in good condition and all hydraulic connections and fittings are tight before applying pressure to the hydraulic system.
Keep your body and hands away from pinhole leaks or nozzles that eject high-pressure hydraulic fluid.
Use cardboard or paper to find hydraulic leaks.
Safely relieve all pressure in the hydraulic system before performing any work on the hydraulic system.
Important: Regardless of the hydraulic fluid type used, any traction unit used for off-green applications, verticutting or used during ambient temperatures above 29° C (85°F) should have the Oil Cooler Kit installed; refer to Installing the Oil Cooler.
The reservoir is filled at the factory with high-quality hydraulic fluid. Check the level of the hydraulic fluid before you first start the engine and daily thereafter; refer to Checking the Hydraulic-Fluid Level.
Recommended hydraulic fluid: Toro PX Extended Life Hydraulic Fluid; available in 19 L (5 US gallon) pails or 208 L (55 US gallon) drums.
Note: A machine using the recommended replacement fluid requires less frequent fluid and filter changes.
Alternative hydraulic fluids: If Toro PX Extended Life Hydraulic Fluid is not available, you may use another conventional, petroleum-based hydraulic fluid having specifications that fall within the listed range for all the following material properties and that it meets industry standards. Do not use synthetic fluid. Consult with your lubricant distributor to identify a satisfactory product.
Note: Toro does not assume responsibility for damage caused by improper substitutions, so use products only from reputable manufacturers who will stand behind their recommendation.
| Material Properties: | ||
| Viscosity, ASTM D445 | cSt @ 40°C (104°F) 44 to 48 | |
| Viscosity Index ASTM D2270 | 140 or higher | |
| Pour Point, ASTM D97 | -37°C to -45°C (-34°F to -49°F) | |
| Industry Specifications: | Eaton Vickers 694 (I-286-S, M-2950-S/35VQ25 or M-2952-S) | |
Note: Many hydraulic fluids are almost colorless, making it difficult to spot leaks. A red dye additive for the hydraulic fluid is available in 20 ml (0.67 fl oz) bottles. A bottle is sufficient for 15 to 22 L (4 to 6 US gallons) of hydraulic fluid. Order Part No. 44-2500 from your authorized Toro distributor.
Important: Toro Premium Synthetic Biodegradable Hydraulic Fluid is the only synthetic biodegradable fluid approved by Toro. This fluid is compatible with the elastomers used in Toro hydraulic systems and is suitable for a wide-range of temperature conditions. This fluid is compatible with conventional mineral oils, but for maximum biodegradability and performance, the hydraulic system should be thoroughly flushed of conventional fluid. The oil is available in 19 L (5 US gallons) pails or 208 L (55 US gallons) from your authorized Toro distributor.
| Maintenance Service Interval | Maintenance Procedure |
|---|---|
| Before each use or daily |
|
The hydraulic-fluid reservoir is filled at the factory with approximately 25.7 L (6.8 US gallons) of high quality hydraulic fluid. Before operating the machine each day, check the level of the hydraulic fluid. Your machine has a dipstick in the hydraulic-fluid reservoir (behind the seat on the left side) that is used to check the hydraulic-fluid level. The fluid should be between the dipstick marks; if not, add the appropriate fluid.
Important: To prevent system contamination, clean the top of the hydraulic fluid containers before puncturing them. Ensure that the pour spout and funnel are clean.
Position the machine on a level surface.
Note: Ensure that the machine has cooled down so that the fluid is cold.
Locate the dipstick on the top of the main hydraulic tank (Figure 52) and proceed to step 3.

Remove the dipstick and wipe it with a clean rag, then screw the dipstick back into the tank.
Remove the dipstick and check the fluid level. If the fluid is between the marks on the dipstick, the level is sufficient. If the fluid level is not between the marks, more fluid is needed.
Remove the dipstick from the hydraulic fluid tank and slowly fill the tank with the appropriate high-quality hydraulic fluid until the level is between the 2 marks on the dipstick.
Note: Do not mix fluids.
Install the cap.
Note: Perform a close visual inspection of the hydraulic components. Inspect them for issues (e.g., leaks, loose fasteners, missing parts, and improperly routed lines). Make any necessary corrections.
| Maintenance Service Interval | Maintenance Procedure |
|---|---|
| Every 800 hours |
|
| Every 1,000 hours |
|
| Every 2,000 hours |
|
Hydraulic Fluid Capacity: 25.7 L (6.8 US gallons)
If the fluid becomes contaminated, have your authorized Toro distributor flush the system. Contaminated fluid looks milky or black when compared to clean fluid.
Clean the area around the filter mounting area (Figure 53). Place a drain pan under the filter and remove the filter.

Note: If you will not be draining the fluid, disconnect and plug the hydraulic line going to the filter.
Fill the replacement filter with the appropriate hydraulic fluid, lubricate the sealing gasket, and hand turn it until the gasket contacts the filter head. Then tighten it 3/4 turn further.
Fill the hydraulic reservoir with hydraulic fluid; refer to Hydraulic Fluid Specifications and Checking the Hydraulic-Fluid Level.
Start the machine and run it at idle for 3 to 5 minutes to circulate the fluid and remove any air trapped in the system. Shut off the engine and check the fluid level.
Dispose of the fluid and filter properly.
| Maintenance Service Interval | Maintenance Procedure |
|---|---|
| Before each use or daily |
|
Hydraulic fluid escaping under pressure can penetrate skin and cause injury.
Get immediate medical help if fluid is injected into skin.
Ensure that all hydraulic fluid hoses and lines are in good condition and all hydraulic connections and fittings are tight before applying pressure to the hydraulic system.
Keep your body and hands away from pinhole leaks or nozzles that eject high-pressure hydraulic fluid.
Use cardboard or paper to find hydraulic leaks.
Safely relieve all pressure in the hydraulic system before performing any work on the hydraulic system.
Check the hydraulic lines and hoses daily for leaks, kinked lines, loose mounting supports, wear, loose fittings, weather deterioration, and chemical deterioration. Make all necessary repairs before operating the machine.
The leak detector system is designed to assist in early detection of hydraulic-fluid-system leaks. If the fluid level in the main hydraulic reservoir is lowered by 118 to 177 ml (4 to 6 oz), the float switch in the tank will close. After a 1 second delay, the alarm sounds, alerting the operator (Figure 56). Expansion of fluid, due to normal heating during machine operation, causes the fluid to transfer into the auxiliary fluid reservoir. The fluid returns to the main tank when you turn off the ignition switch.



With ignition switch in the ON position, move the leak detector switch rearward and hold. After the 1-second delay elapses, the alarm should sound.
Release the leak-detector switch.
Move the ignition switch to the ON position. Do not start the engine.
Remove the hydraulic-tank cap from the neck of the tank.
Insert a clean rod or screwdriver into the tank neck and gently push down on the float switch (Figure 57); the alarm should sound after the 1-second delay.

Release the float; the alarm should stop sounding.
Install the hydraulic-tank cap.
Move the ignition switch to the OFF position.
The leak detector alarm may sound for 1 of the following reasons:
A leak of 118 to 177 ml (4 to 6 oz) has occurred.
The fluid level in the main reservoir is reduced by 118 to 177 ml (4 to 6 oz) due to contraction of the fluid by cooling.
If the alarm sounds, turn off the machine as quickly as possible and inspect it for leaks. If the alarm sounds while operating on a green, drive off the green first. Determine the source of the leak and repair it before continuing operation.
If you do not find a leak and suspect a false alarm, move the ignition switch to the OFF position and allow the machine to stand for 1 to 2 minutes to allow the fluid levels to stabilize. Then start the machine and operate it in a non-sensitive area to confirm that no leak exists.
False alarms, due to fluid contraction, may be caused by extended idling of the machine after normal operation. A false alarm may also occur if you work the machine at a reduced workload after an extended period of a heavier workload. To avoid false alarms, turn the machine off rather than idling for extended periods.
A worn or damaged blade or bedknife can break, and a piece could be thrown toward you or bystanders, resulting in serious personal injury or death.
Inspect the blades and bedknives periodically for excessive wear or damage.
Use care when checking the blades. Wear gloves and use caution when servicing them. Only replace or backlap the blades and bedknives; never straighten or weld them.
On machines with multiple cutting units, take care when rotating a cutting unit; it can cause the reels in the other cutting units to rotate.
Note: When sharpening, setting the height-of-cut, or performing other maintenance procedures on the cutting units, store the cutting unit reel motors in the storage location on the front of the suspension arms to prevent damage to them.
Important: Do not raise the suspension to the transport position when the reel motors are in the holders in the machine frame. Damage to the motors or hoses could result.
Important: Whenever you need to tip the cutting unit, prop up rear of cutting unit to ensure that the nuts on the bedbar adjusting screws are not resting on work surface (Figure 58).

Disconnect the cutting unit power disconnect couplers; refer to Cutting Unit Power Disconnect Connectors.
If you do not disconnect the power to the cutting units, someone could accidentally start the cutting unit, causing serious injury to hands and feet.
Always separate the cutting unit power disconnect couplers before working on the cutting units.
Lift up on the foot rest and swing it open, allowing access to the center cutting unit position (Figure 61).
The foot rest can pinch fingers if it falls into the closed position.
Keep your fingers clear of the area where the foot rest seats while it is open.

Position the cutting unit under the center suspension arm.
With the latches on the suspension-arm bar pointing up (i.e., open) (Figure 62), push the suspension arm down so that the bar fits over the bar across the top of the cutting unit (Figure 63).


Close the latches down and around the cutting-unit bar and lock them in place (Figure 62).
Note: You can hear a click and feel when the latches are properly locked in place.
Coat the spline shaft of the cutting unit motor with clean grease (Figure 64).
Insert the motor into the left side of the cutting unit (as viewed from the operator's position) and pull the motor retaining bar on the cutting unit toward the motor until you hear a click from both sides of the motor (Figure 64).

Mount a grass basket onto the basket hooks on the suspension arm.
Repeat this procedure for the other cutting units.
Connect the cutting unit power disconnect couplers; refer to Cutting Unit Power Disconnect Connectors.
Disconnect the cutting unit power disconnect couplers; refer to Cutting Unit Power Disconnect Connectors.
If you do not disconnect the power to the cutting units, someone could accidentally start the cutting unit, causing serious injury to hands and feet.
Always separate the cutting unit power disconnect couplers before working on the cutting units.
Park the machine on a clean level surface, lower the cutting units to the ground until the suspension hydraulics are fully extended, shut off the engine, and engage the parking brake.
Push the motor retaining bar out of the slots on the motor toward the cutting unit and remove the motor from the cutting unit.

Move the motor to the storage location on the front of the suspension arm (Figure 66).

Note: When sharpening, setting the height-of-cut, or performing other maintenance procedures on the cutting units, store the cutting unit reel motors in the storage location on the front of the suspension arms to prevent damage to them.
Important: Do not raise the suspension to the transport position when the reel motors are in the holders in the machine frame. Damage to the motors or hoses could result. If you must move the traction unit without the cutting units installed, secure them to the suspension arms using cable ties.
Open the latches on the suspension-arm bar of the cutting unit you are removing (Figure 62).
Disconnect the latches from the cutting-unit bar.
Roll the cutting unit out from under the suspension arm.
Repeat steps 3 through 7 for the other cutting units as required.
Connect the cutting unit power disconnect couplers; refer to Cutting Unit Power Disconnect Connectors.
| Maintenance Service Interval | Maintenance Procedure |
|---|---|
| Before each use or daily |
|
Each day before operating the machine, check the reel-to-bedknife contact, regardless if the quality of cut had previously been acceptable. There must be light contact across the full length of the reel and bedknife; refer to the Cutting Unit Operator’s Manual.
Before checking the reels, disconnect the cutting unit power disconnect couplers; refer to Cutting Unit Power Disconnect Connectors. Connect them when finished.
Contact with the reels or other moving parts can result in personal injury.
Keep your fingers, hands, and clothing away from the reels or other moving parts.
Never attempt to turn the reels by hand or foot while the engine is running.
Park the machine on a level surface, lower the cutting units, shut off the engine, and engage the parking brake.
Remove the plastic cover to the left side of the seat.
Make initial reel-to-bedknife adjustments appropriate for backlapping on all cutting units that you want to backlap; refer to the cutting unit Operator’s Manual.
Start the engine and run at low idle speed. If the engine stalls, increase the engine speed.
On the InfoCenter control, from the SERVICE menu, select BACKLAP.
Set BACKLAP to ON.
Pull up the Main Menu and scroll down to Settings.
In the SETTINGS menu scroll down to BACKLAP RPM and use the ± button to select the desired backlap speed.
With the functional control lever in the NEUTRAL position, move the Raise/Lower Mow control forward to start the backlapping operation on the designated reels.
Apply lapping compound with a long handle brush. Never use a short handled brush.
If the reels stall or become erratic while backlapping, select a higher reel speed setting until the speed stabilizes.
To make an adjustment to the cutting units while backlapping, turn the reels off by moving the Raise/Lower Mow control rearward and shut off the engine. After completing adjustments, repeat steps 4 through 10.
Repeat the procedure for all cutting units that you want to backlap.
When finished, return the InfoCenter BACKLAP setting to OFF or turn the ignition key to the OFF position to return the machine to forward cutting operation.
Wash all lapping compound off of the cutting units. Adjust the cutting unit reel to bedknife as needed. Move the cutting-unit reel speed control to the desired mowing position.
If you wish to store the machine for a long period of time, the perform following steps:
Shut off the machine, remove the key, and wait for all movement to stop before you leave the operator’s position. Allow the machine to cool before adjusting, servicing, cleaning, or storing it.
Do not store the machine or fuel container where there is an open flame, spark, or pilot light, such as on a water heater or other appliance.
Always shut off the engine, remove the key (if equipped), wait for all moving parts to stop, and allow the machine to cool before adjusting, cleaning, storing, or repairing the machine.
Remove accumulations of dirt and old grass clippings. Sharpen the reels and bedknives, if necessary; refer to the cutting unit Operator's Manual. Coat the bedknives and reel blades with a rust preventive. Oil all lubrication points.
Raise and support the machine to remove its weight from the tires.
Replace the hydraulic fluid and filter. Inspect the hydraulic lines and fittings, and replace damaged or worn parts as needed. Refer toChecking the Hydraulic Lines and Hoses, Checking the Hydraulic-Fluid Level, and Changing the Hydraulic Fluid and Filter.
All fuel should be removed from the fuel tank. Run the engine until it shuts off. Replace the fuel filter; refer to Replacing the Fuel Filter.
While the engine is still warm, drain the oil from the crankcase. Refill it with fresh oil; refer to Changing the Engine Oil and Filter.
Remove the spark plugs, pour 30 ml (1 fl oz) of SAE 30 oil into the cylinders, and crank slowly to distribute the oil. Replace the spark plugs; refer to Replacing the Spark Plugs.
Clean dirt and chaff from the cylinder, cylinder head fins, and blower housing.
Remove the battery and charge it fully; refer to Charging the Battery. Either store it on the shelf or on the machine. Leave the cables disconnected if it is stored on the machine. Store the battery in a cool atmosphere to avoid quick deterioration of the charge in the battery.
If possible, store the machine in a warm, dry location.