| Périodicité d'entretien | Procédure d'entretien |
|---|---|
| À chaque utilisation ou une fois par jour |
|
Cette machine est une tondeuse de greens autoportée à cylindre prévue pour les utilisateurs professionnels employés à des applications professionnelles. Elle est principalement conçue pour tondre les pelouses régulièrement entretenues. L'utilisation de ce produit à d'autres fins que celle prévue peut être dangereuse pour vous-même et toute personne à proximité.
Lisez attentivement cette notice pour apprendre comment utiliser et entretenir correctement votre produit, et éviter ainsi de l'endommager ou de vous blesser. Vous êtes responsable de l'utilisation sûre et correcte du produit.
Pour plus d’informations, y compris des conseils de sécurité, des documents de formation, des renseignements concernant un accessoire, pour obtenir l'adresse d'un concessionnaire ou pour enregistrer votre produit, rendez-vous sur www.Toro.com.
Pour obtenir des prestations de service, des pièces d'origine Toro ou des renseignements complémentaires, munissez-vous des numéros de modèle et de série du produit et contactez un distributeur Toro agréé. La Figure 1 indique l'emplacement des numéros de modèle et de série sur le produit. Inscrivez les numéros dans l'espace réservé à cet effet.
Important: Avec votre appareil mobile, vous pouvez scanner le QR code sur l'autocollant du numéro de série (le cas échéant) pour accéder aux informations sur la garantie, les pièces détachées et autres renseignements concernant le produit.

Les mises en garde de ce manuel soulignent des dangers potentiels et sont signalées par le symbole de sécurité (Figure 2), qui indique un danger pouvant entraîner des blessures graves ou mortelles si les précautions recommandées ne sont pas respectées.

Ce manuel utilise deux termes pour faire passer des renseignements essentiels. Important pour attirer l'attention sur des informations d'ordre mécanique spécifiques et Remarque pour souligner des informations d'ordre général méritant une attention particulière.
Ce produit est conforme à toutes les directives européennes pertinentes. Pour plus de renseignements, reportez-vous à la Déclaration de conformité spécifique du produit fournie séparément.
Vous commettez une infraction à la section 4442 ou 4443 du Code des ressources publiques de Californie si vous utilisez cette machine dans une zone boisée, broussailleuse ou recouverte d'herbe à moins d'équiper le moteur d'un pare-étincelles, tel que défini à la section 4442, maintenu en bon état, ou à moins de construire, équiper et entretenir le moteur de manière à prévenir les incendies.
Le manuel du propriétaire du moteur ci-joint est fourni à titre informatif concernant la réglementation de l'Agence américaine pour la protection de l'environnement (EPA) et la réglementation antipollution de l'état de Californie relative aux systèmes antipollution, à leur entretien et à leur garantie. Vous pouvez vous en procurer un nouvel exemplaire en vous adressant au constructeur du moteur.
Si cette machine est équipée d'un système télématique, demandez conseil à votre distributeur Toro agréé pour savoir comment l'activer.
CALIFORNIE
Proposition 65 - Avertissement
Les gaz d'échappement de ce produit contiennent des substances chimiques considérées par l'état de Californie comme susceptibles de provoquer des cancers, des malformations congénitales et autres troubles de la reproduction.
Les bornes de la batterie et accessoires connexes contiennent du plomb et des composés de plomb. L'état de Californie considère ces substances chimiques comme susceptibles de provoquer des cancers et des troubles de la reproduction. Lavez-vous les mains après avoir manipulé la batterie.
L'utilisation de ce produit peut entraîner une exposition à des substances chimiques considérées pas l'état de Californie comme capables de provoquer des cancers, des anomalies congénitales ou d'autres troubles de la reproduction.
Ce produit peut sectionner les mains ou les pieds et projeter des objets.
Vous devez lire et comprendre le contenu de ce Manuel de l'utilisateur avant de démarrer le moteur.
Accordez toute votre attention à l'utilisation de la machine. Ne faites rien d’autre qui puisse vous distraire, au risque de causer des dommages corporels ou matériels.
N'approchez pas les mains ou les pieds des composants mobiles de la machine.
N'utilisez pas la machine s'il manque des capots ou d'autres dispositifs de protection, ou s'ils sont défectueux.
N'admettez personne, notamment les enfants, dans le périmètre de travail. N'autorisez jamais les enfants à utiliser la machine.
Avant de quitter la position d'utilisation, coupez le moteur, enlevez la clé et attendez l'arrêt complet de tout mouvement. Laissez refroidir la machine avant de la régler, d'en faire l'entretien, de la nettoyer ou de la remiser.
L'usage ou l'entretien incorrect de cette machine
peut occasionner des accidents. Pour réduire les risques d'accidents
et de blessures, respectez les consignes de sécurité
qui suivent. Tenez toujours compte des mises en garde signalées
par le symbole de sécurité (
) et la mention
Prudence, Attention ou Danger. Le non respect de ces instructions
peut entraîner des blessures graves ou mortelles.
![]() |
Des autocollants de sécurité et des instructions bien visibles par l'utilisateur sont placés près de tous les endroits potentiellement dangereux. Remplacez tout autocollant endommagé ou manquant. |












Chargez la batterie ; voir Charge de la batterie.
Pièces nécessaires pour cette opération:
| Boulon de carrosserie (5/16" x ¾") | 2 |
| Écrou (5/16") | 2 |
Montez la batterie derrière le siège en dirigeant les bornes vers l'avant de la machine (Figure 3).
Branchez le câble de batterie positif (rouge) entre le solénoïde de démarreur et la borne positive (+) de la batterie (Figure 3). Fixez-le avec un boulon de carrosserie et un écrou.
Important: Vérifiez que le siège ne touche pas le câble quand il est reculé au maximum, car cela pourrait user ou endommager le câble.
Les bornes de la batterie ou les outils en métal peuvent causer des courts-circuits au contact des pièces métalliques de la machine et produire des étincelles. Les étincelles peuvent provoquer l'explosion des gaz de la batterie et vous blesser.
Lors du retrait ou de la mise en place de la batterie, les bornes ne doivent toucher aucune partie métallique de la machine.
Évitez de créer des courts-circuits entre les bornes de la batterie et les parties métalliques de la machine avec des outils en métal.

Branchez le câble de masse noir (de la base du moteur) à la borne négative (-) de la batterie. Fixez-le avec un boulon de carrosserie et un écrou.
S'ils sont mal acheminés, les câbles de la batterie peuvent subir des dommages ou endommager la machine et produire des étincelles. Les étincelles peuvent provoquer l'explosion des gaz de la batterie et vous blesser.
Débranchez toujours le câble négatif (noir) de la batterie avant le câble positif (rouge).
Connectez toujours le câble positif (rouge) de la batterie avant le câble négatif (noir).
Enduisez les bornes de vaseline.
Mettez en place la barrette de maintien de la batterie et les rondelles et fixez le tout avec les écrous à oreilles (Figure 3).
Mettez le capuchon en place sur la borne positive (+) de la batterie.
Pièces nécessaires pour cette opération:
| Boulon (½" x 1¾") | 2 |
| Boulon (½" x 1½") | 6 |
| Écrou (½") | 8 |
Retirez les vis et écrous qui soutiennent l'appui de cric sur le côté droit de la machine.
Abaissez l'arceau de sécurité (Figure 4) sur les supports de montage en alignant les trous de fixation.

Fixez le côté gauche de l'arceau de sécurité au support de montage avec 4 boulons (½ x 1½") et contre-écrous (Figure 4).
Serrez les fixations à un couple de 91 à 115 N·m.
Fixez le côté droit de l'arceau de sécurité et l'appui de cric déposé précédemment sur le support de fixation au moyen de 2 boulons (½" x 1½"), 2 boulons (½" x 1¾"), 1 rondelle et des contre-écrous, comme montré à la Figure 4.
Serrez les fixations à un couple de 91 à 115 N·m.
Si vous utilisez la machine sans attacher votre ceinture de sécurité, vous risquez d'être éjecté du siège et de vous blesser si la machine se retourne.
Attachez toujours la ceinture de sécurité.
Pièces nécessaires pour cette opération:
| Dispositif télématique | 1 |
| Support du dispositif | 1 |
| Faisceau de câblage du dispositif télématique | 1 |
| Boulon (nº 10) | 2 |
| Écrou (nº 10) | 2 |
| Étrier fileté | 1 |
| Écrou (⅜") | 2 |
Avec 2 boulons (nº 10) et 2 écrous (nº 10), fixez le dispositif télématique sur son support (Figure 5).

Fixez le support du dispositif sur l'arceau de sécurité (Figure 5) à l'aide de étrier fileté et de 2 écrous (⅜").
Branchez le connecteur du dispositif sur le connecteur du faisceau du dispositif télématique étiqueté P02 (Figure 5).
Acheminez le faisceau de câblage vers le bas, le long de l'arceau de sécurité et branchez le connecteur du faisceau étiqueté P01 sur le connecteur du faisceau de la machine étiqueté P48.
Pièces nécessaires pour cette opération:
| Unité de coupe | 3 |
| Bac à herbe | 3 |
Important: N'élevez pas la suspension en position de transport lorsque les moteurs des cylindres sont sur les supports du cadre de la machine. Vous risqueriez d'endommager les moteurs ou les flexibles.
Note: Lors de l'affûtage des lames, du réglage de la hauteur de coupe ou de toute autre procédure d'entretien des unités de coupe, rangez les moteurs des cylindres de coupe dans les tubes de support à l'avant du cadre et sur le côté de la machine pour éviter d'endommager les flexibles.
Sortez les unités de coupe des cartons d'expédition. Procédez à l'assemblage et au réglage comme expliqué dans le Manuel de l'utilisateur de l'unité de coupe.
Poussez l'unité de coupe sous le cadre de traction en accrochant le crochet de levage au bras de levage (Figure 6).

Repoussez le manchon sur chaque douille de rotule et accrochez la douille à la tige rotule de l'unité de coupe. Relâchez le manchon pour qu'il vienne recouvrir la tige et solidarise les ensembles (Figure 7).

Posez les bacs sur les cadres de traction, desserrez les écrous de blocage des bras de traction et réglez les douilles de rotule pour obtenir un écart de 6 à 13 mm entre le bord du bac et les lames du cylindre.
Note: Cela évite que le bac ne fasse basculer l'unité de coupe en avant pendant la tonte, ce qui décrocherait le galet de levage du bras de levage.
Note: Vérifiez que les bords du bac sont à égale distance des lames le long de chaque cylindre. Si le bac est trop près du cylindre, le cylindre peut le toucher quand l'unité de coupe est élevée ou abaissée au sol.
Alignez les douilles de rotule de sorte que le côté ouvert soit centré vers la tige de rotule, puis serrez les écrous de blocage pour fixer les douilles en position (Figure 8).

Veillez à laisser dépasser environ 13 mm de filetage sur chaque boulon de fixation de moteur d'entraînement de cylindre (Figure 9).

Enduisez de graisse propre l'arbre cannelé du moteur.
Montez le moteur en le tournant dans le sens horaire pour que les brides ne touchent pas les tiges de rotule, puis tournez-le dans le sens antihoraire jusqu'à ce que les brides entourent les goujons.
Resserrez les boulons de montage (Figure 9).
Pour faciliter l'alignement de la machine pour exécuter des passes de coupe successives, préparez les bacs des unités de coupe nº 2 et nº 3 comme suit :
Mesurez environ 13 cm à partir du bord extérieur de chaque bac.
Placez une bande de papier blanc ou un trait de peinture sur chaque bac parallèlement à son bord extérieur (Figure 10).

Pièces nécessaires pour cette opération:
| Kit de protection CE – réf 04440 (vendu séparément) | 1 |
Montez le kit de protection CE ; voir les instructions d'installation du kit de protection CE – groupe de déplacement Greensmaster® 3150 à 2 roues motrices.
Pièces nécessaires pour cette opération:
| Autocollant de marque de conformité CE | 1 |
| Autocollant de l'année de production | 1 |
Si vous utilisez cette machine dans un pays qui respecte les normes de la CE, procédez comme suit après avoir monté le kit de protection sur la machine.
Appliquez l'autocollant de la marque CE et l'autocollant de l'année de production près de la plaque du numéro de série sur le support du repose-pieds (Figure 11).

Les pneus sont surgonflés à l'usine pour l'expédition. Rétablissez la pression correcte avant de mettre la machine en marche ; voir Contrôle de la pression des pneus.
Rodez les freins ; voir Rodage des freins.

La pédale de déplacement (Figure 13) a 3 fonctions : faire avancer, reculer et arrêter la machine. Appuyez sur le haut de la pédale pour avancer, et sur le bas pour faire marche arrière ou pour réduire la distance d'arrêt pendant le déplacement avant. Laissez la pédale revenir à la position NEUTRE pour arrêter la machine. Ne posez pas le talon sur la partie arrière de la pédale pendant que la machine se déplace en marche avant (Figure 13).


Enfoncez la pédale de frein (Figure 13) pour arrêter la machine en actionnant les freins des roues avant.
Pour serrer le frein de stationnement, appuyez sur la pédale de frein puis sur la tige du frein de stationnement (Figure 13) pour serrer les freins. Pour débloquer la tige, enfoncez la pédale de frein. Serrez le frein de stationnement avant de quitter la machine.
La commande d'accélérateur (Figure 15) permet de réguler le régime moteur. Déplacez la commande d'accélérateur en avant vers la position HAUT RéGIME pour augmenter le régime moteur et vers la position BAS RéGIME pour réduire le régime ; cela n'arrête pas le moteur.

Pour démarrer le moteur à froid, fermez le volet de starter en poussant la commande de starter (Figure 15) vers l'avant à la position FERMéE. Dès que le moteur a démarré, réglez la commande de starter de façon à obtenir un régime moteur régulier. Dès que possible, ouvrez le volet de starter en tirant la commande en arrière à la position OUVERTE. Le starter n'est pas ou presque pas nécessaire si le moteur est chaud.
Cet interrupteur (Figure 15) permet de contrôler le fonctionnement de l'alarme et la temporisation du détecteur de fuite.
Le compteur horaire (Figure 15) indique le nombre total d'heures de fonctionnement de la machine. Il se déclenche chaque fois que vous tournez la clé de contact en position CONTACT.
Le levier de réglage du siège est situé sur le côté gauche du siège (Figure 16). Déplacez le levier pour débloquer le siège et l'avancer ou le reculer de 10 cm.

Déplacez le levier multifonction (Figure 17) vers l'avant pendant la tonte pour abaisser les unités de coupe et démarrer les cylindres. Ramenez le levier en arrière pour arrêter les cylindres et élever les unités de coupe. Pour arrêter les cylindres sans lever les unités de coupe, tirez le levier en arrière momentanément et relâchez-le ; redémarrez les cylindres en poussant le levier en avant.

Le sélecteur de fonction (Figure 17) permet de choisir 2 fonctions de déplacement plus le POINT MORT. Vous pouvez passer de la position de tonte à la position de transport ou inversement (mais pas au point mort) pendant le déplacement de la machine sans entraîner de dommages.
Position ARRIèRE – position point mort ; pour le rodage des cylindres.
Position CENTRALE – pour la tonte
Position AVANT – pour conduire la machine d'un lieu de travail à l'autre
Insérez la clé dans le commutateur d'allumage (Figure 17) et tournez-la dans le sens horaire en position DéMARRAGE pour mettre le moteur en marche. Relâchez la clé dès que le moteur démarre ; elle revient automatiquement à la position CONTACT. Tournez la clé de contact dans le sens antihoraire en position ARRêT pour couper le moteur.
Tournez le levier (Figure 18) vers l'avant pour débloquer le volant ; vous pouvez alors le monter ou l'abaisser à la position la plus confortable pour vous. Tournez ensuite le levier en arrière pour bloquer le volant en position.

Desserrez le bouton (Figure 19) jusqu'à ce que l'épaulement passe au-dessus des encoches du bras de direction. Élevez ou abaissez le bras de direction à la hauteur voulue, en alignant l'épaulement du bouton sur l'encoche dans le bras de direction. Serrez le bouton pour bloquer le réglage.

Fermez le robinet d'arrivée de carburant (Figure 20) situé sous le réservoir de carburant avant de remiser la machine ou de la transporter sur une remorque ou un véhicule utilitaire.

Utilisez le levier de rodage (Figure 21) avec le levier multifonction et la commande de vitesse des cylindres pour roder les cylindres.

Utilisez la commande de vitesse (Figure 21) pour régler la vitesse de rotation des cylindres.
Note: Les caractéristiques et le design de la machine sont susceptibles de modifications sans préavis.
| Largeur de coupe | 150 cm |
| Voie | 126 cm |
| Empattement | 119 cm |
| Longueur hors tout | 229 cm |
| Largeur hors tout | 177 cm |
| Hauteur hors tout | 189 cm |
| Poids net | 493 kg |
Une sélection d'outils et d'accessoires agréés par Toro est disponible pour augmenter et améliorer les capacités de la machine. Pour obtenir la liste de tous les accessoires et outils agréés, contactez votre concessionnaire-réparateur ou votre distributeur Toro agréé, ou rendez-vous sur www.Toro.com.
Pour garantir un rendement optimal et conserver la certification de sécurité de la machine, utilisez uniquement des pièces de rechange et accessoires d'origine Toro. Les pièces de rechange et accessoires provenant d'autres constructeurs peuvent être dangereux, et leur utilisation risque d'annuler la garantie de la machine.
Note: Les côtés gauche et droit de la machine sont déterminés d'après la position d'utilisation normale.
Ne confiez jamais l'utilisation ou l'entretien de la machine à des enfants ou à des personnes non qualifiées. La réglementation locale peut imposer un âge minimum pour les utilisateurs. Le propriétaire de la machine doit assurer la formation de tous les utilisateurs et mécaniciens.
Familiarisez-vous avec le maniement correct du matériel, les commandes et les symboles de sécurité.
Avant de quitter la position d'utilisation, serrez le frein de stationnement, coupez le moteur, enlevez la clé et attendez l'arrêt complet de tout mouvement. Laissez refroidir la machine avant de la régler, d'en faire l'entretien, de la nettoyer ou de la remiser.
Apprenez à arrêter la machine et à couper le moteur rapidement.
Vérifiez toujours que les commandes de présence de l'utilisateur, les contacteurs de sécurité et les dispositifs de protection et de sécurité sont en place et fonctionnent correctement. N'utilisez pas la machine s'ils ne fonctionnent pas correctement.
Avant de tondre, vérifiez toujours que les unités de coupe sont en bon état de marche.
Inspectez la zone de travail et débarrassez-la de tout objet pouvant être projeté par la machine.
Faites preuve de la plus grande prudence quand vous manipulez du carburant, en raison de son inflammabilité et du risque d'explosion des vapeurs qu'il dégage.
Éteignez cigarettes, cigares, pipes et autres sources d'étincelles.
Utilisez exclusivement un bidon à carburant homologué.
N'enlevez pas le bouchon du réservoir de carburant et n'ajoutez pas de carburant pendant que le moteur tourne ou est encore chaud.
N'ajoutez pas de carburant et ne vidangez pas le réservoir dans un local fermé.
Ne rangez pas la machine ni les bidons de carburant à proximité d'une flamme nue, d'une source d'étincelles ou d'une veilleuse, telle celle d'un chauffe-eau ou autre appareil.
Si vous renversez du carburant, ne mettez pas le moteur en marche. Évitez toute source possible d'inflammation jusqu'à dissipation complète des vapeurs de carburant.
Capacité du réservoir de carburant : 26,6 litres
Carburant recommandé : essence sans plomb avec indice d'octane de 87 ou plus (méthode de calcul [R+M]/2).
Éthanol : De l'essence contenant jusqu'à 10 % d'éthanol (essence-alcool) ou 15 % de MTBE (éther méthyltertiobutylique) par volume peut être utilisée. L'éthanol et le MTBE sont deux produits différents. L'utilisation d'essence contenant 15 % d'éthanol (E15) par volume n'est pas agréée.
N'utilisez jamais d'essence contenant plus de 10 % d'éthanol par volume, comme E15 (qui contient 15 % d'éthanol), E20 (qui contient 20 % d'éthanol) ou E85 (qui contient jusqu'à 85 % d'éthanol).
N'utilisez pas de carburant contenant du méthanol.
Ne stockez pas le carburant dans le réservoir ou dans des bidons de carburant pendant l'hiver, à moins d'utiliser un stabilisateur de carburant.
N'ajoutez pas d'huile à l'essence.
Pour assurer le fonctionnement optimal de la machine, utilisez uniquement du carburant propre et frais (stocké depuis moins d'un mois).
L'utilisation d'essence non agréée peut entraîner des problèmes de performances et/ou des dommages au moteur qui peuvent ne pas être couverts par la garantie.
Important: N'utilisez pas d'additifs de carburant autres qu'un stabilisateur/conditionneur. N'utilisez pas de stabilisateurs à base d'alcools tels que l'éthanol, le méthanol ou l'isopropanol.
Nettoyez la surface autour du bouchon du réservoir de carburant et enlevez le bouchon (Figure 22).

Remplissez le réservoir de carburant spécifié jusqu'à 25 mm au-dessous de la base du goulot de remplissage.
L'espace au-dessus doit rester vide pour permettre au carburant de se dilater. Ne remplissez pas complètement le réservoir de carburant.
Remettez le bouchon en place.
Note: Vous entendrez un déclic quand le bouchon sera complètement fermé.
Essuyez le carburant éventuellement répandu.
| Périodicité d'entretien | Procédure d'entretien |
|---|---|
| À chaque utilisation ou une fois par jour |
|
Avant de démarrer la machine chaque jour, effectuez les procédures suivantes :
Contrôlez le niveau d'huile moteur ; voir Contrôle du niveau d'huile moteur.
Contrôlez le niveau de liquide hydraulique ; voir Contrôle du niveau de liquide hydraulique.
Contrôlez le contact cylindre/contre-lame ; voir Contrôle du contact cylindre/contre-lame.
Contrôlez la pression des pneus ; voir Contrôle de la pression des pneus.
Le propriétaire/l'utilisateur est responsable des accidents pouvant entraîner des dommages corporels ou matériels et peut les prévenir.
Portez une tenue adéquate, y compris une protection oculaire, un pantalon, des chaussures solides à semelle antidérapante et des protecteurs d'oreilles. Si vos cheveux sont longs, attachez-les et ne portez pas de vêtements amples ni de bijoux pendants.
N'utilisez pas la machine si vous êtes fatigué(e), malade ou sous l'emprise de l'alcool, de médicaments ou de drogues.
Accordez toute votre attention à l'utilisation de la machine. Ne faites rien d’autre qui puisse vous distraire, au risque de causer des dommages corporels ou matériels.
Avant de mettre le moteur en marche, assurez-vous que tous les embrayages sont au point mort, que le frein de stationnement est serré et que vous êtes au poste d'utilisation.
Ne transportez jamais personne sur la machine.
N'admettez personne, notamment les enfants, dans le périmètre de travail. Si d'autres personnes doivent obligatoirement être présentes, faites preuve de prudence et vérifiez que les bacs de ramassage sont en place sur la machine.
N'utilisez la machine que si la visibilité est bonne pour éviter les trous ou autres dangers cachés.
Ne tondez pas l'herbe humide. La perte de motricité peut faire déraper la machine.
N'approchez pas les pieds ni les mains des unités de coupe.
Avant de faire marche arrière, vérifiez que la voie est libre juste derrière la machine et sur sa trajectoire.
Soyez prudent à l'approche de tournants sans visibilité, de buissons, d'arbres ou d'autres objets susceptibles de vous masquer la vue.
Arrêtez les unités de coupe quand vous ne tondez pas.
Ralentissez et faites preuve de prudence quand vous changez de direction, ainsi que pour traverser des routes et des trottoirs avec la machine. Cédez toujours le passage.
Ne faites tourner le moteur que dans des lieux bien aérés. Les gaz d'échappement contiennent du monoxyde de carbone, qui est mortel en cas d'inhalation.
Ne laissez pas la machine en marche sans surveillance.
Avant de quitter la position d'utilisation :
Garez la machine sur une surface plane et horizontale.
Abaissez les unités de coupe au sol et vérifiez qu'elles sont débrayées.
Serrez le frein de stationnement.
Coupez le moteur et retirez la clé.
Attendez l'arrêt complet de tout mouvement.
N'utilisez la machine que si la visibilité est suffisante et les conditions météorologiques favorables. N'utilisez pas la machine s'il y a risque d'orage.
Ne retirez aucun des composants de la structure ROPS de la machine.
Attachez bien la ceinture de sécurité et apprenez à la détacher rapidement en cas d'urgence.
Attachez toujours la ceinture de sécurité.
Vérifiez soigneusement où se trouvent les obstacles en hauteur et ne les touchez pas.
Maintenez la structure ROPS en bon état en vérifiant minutieusement et régulièrement qu'elle n'est pas endommagée et en maintenant toutes les fixations bien serrées.
Remplacez tous les composants du ROPS qui sont endommagés. Ne les réparez pas et ne les modifiez pas.
Les pentes augmentent significativement les risques de perte de contrôle et de retournement de la machine pouvant entraîner des accidents graves, voire mortels. Vous êtes responsable de la sécurité d'utilisation de la machine sur les pentes. L'utilisation de la machine sur une pente, quelle qu'elle soit, demande une attention particulière.
Vous devez évaluer l'état du terrain, l'étudier et le baliser pour déterminer si la pente permet d'utiliser la machine sans risque. Faites toujours preuve de bon sens et de discernement quand vous réalisez cette étude.
Lisez les instructions relatives à l'utilisation sur les pentes ci-dessous avant d'utiliser la machine sur une pente. Avant d'utiliser la machine, examinez l'état actuel du terrain pour déterminer s'il se prête à l'utilisation de la machine. Les variations de terrain peuvent modifier le fonctionnement de la machine sur les pentes.
Évitez de démarrer, de vous arrêter ou de tourner sur les pentes. Évitez de changer soudainement de vitesse ou de direction. Tournez lentement et graduellement.
N'utilisez pas la machine si l'adhérence, la direction ou la stabilité peuvent être compromises.
Enlevez ou balisez les obstacles tels que fossés, trous, ornières, bosses, rochers ou autres dangers cachés. L'herbe haute peut masquer les accidents du terrain. Les irrégularités du terrain peuvent provoquer le retournement de la machine.
Tenez compte du fait qu'une perte de l'adhérence peut se produire sur l'herbe humide, en travers des pentes ou dans les descentes. La perte d'adhérence des roues motrices peut faire patiner la machine et entraîner la perte du freinage et de la direction.
Faites preuve de la plus grande prudence lorsque vous utilisez la machine près de fortes dénivellations, de fossés, de berges, d'étendues d'eau ou autres dangers. La machine pourrait se retourner brusquement si une roue passe par-dessus une dénivellation quelconque et se retrouve dans le vide, ou si un bord s'effondre. Établissez une zone de sécurité entre la machine et tout danger potentiel.
Identifiez les dangers potentiels depuis le bas de la pente. Si vous constatez la présence de dangers, tondez la pente avec une machine à conducteur marchant.
Dans la mesure du possible, gardez les unités de coupe abaissées au sol quand vous utilisez la machine sur des pentes. La machine peut devenir instable si vous levez les unités de coupe alors qu'elle se déplace sur une pente.
Redoublez de prudence quand des systèmes de ramassage ou d'autres accessoires sont montés sur la machine. Ils peuvent modifier la stabilité et entraîner la perte du contrôle de la machine.
Lisez les procédures de vidange d'huile et d'entretien recommandées pendant le rodage dans le manuel du propriétaire du moteur fourni avec la machine.
La machine est rodée après seulement 8 heures de fonctionnement.
Comme les premières heures de fonctionnement sont déterminantes pour la fiabilité ultérieure de la machine, surveillez étroitement les performances de la machine afin de noter et corriger les petites anomalies qui pourraient dégénérer en problèmes importants. Examinez fréquemment la machine pendant le rodage pour détecter les signes éventuels de fuites d'huile, de fixations desserrées ou d'autres anomalies.
Note: Examinez la surface sous la tondeuse pour vous assurer qu'elle est parfaitement dégagée.
Asseyez-vous sur le siège, serrez le frein de stationnement, débrayez le levier multifonction et placez le sélecteur de fonction au POINT MORT.
Ne mettez par le pied sur la pédale de déplacement et vérifiez qu'elle revient à la position NEUTRE.
Amenez la commande de starter à la position EN SERVICE (seulement si le moteur est froid) et la commande d'accélérateur à MI-COURSE.
Démarrez le moteur et réglez la commande de starter de façon à obtenir un régime moteur régulier.
Dès que possible, ouvrez le volet de starter en tirant la commande en arrière à la position HORS SERVICE.
Note: Le starter n'est pas ou presque pas nécessaire si le moteur est chaud.
Contrôlez la machine en procédant comme suit après le démarrage du moteur :
Placez la commande d'accélérateur à la position HAUT RéGIME.
Amenez la commande de déplacement à la position de TONTE et engagez momentanément les cylindres en déplaçant le levier multifonction vers l'avant.
Les unités de coupe doivent s'abaisser et tous les cylindres doivent tourner.
Déplacez le levier multifonction en arrière jusqu'à ce que les unités de coupe soient levées à la position de transport.
Les unités de coupe s'arrêtent de tourner dès qu'elles commencent à s'élever. Si vous relâchez le levier avant que les unités de coupe soient complètement levées, la course ascendante s'interrompt mais les unités s'arrêtent quand-même de tourner.
Serrez le frein de stationnement et coupez le moteur.
Vérifiez que le rebord d'aucun des bacs n'est en contact avec le cylindre pendant le fonctionnement.
Si un contact est constaté, réglez les bras de traction ; voir Montage des unités de coupe.
Recherchez d'éventuelles fuites d'huile et resserrez les raccords hydrauliques au besoin.
Note: Lorsque la machine est neuve, les roulements et les cylindres sont serrés et il faut donc utiliser la position HAUT RéGIME de la commande d'accélérateur pour ce contrôle. La position haut régime de l'accélérateur ne sera peut-être pas nécessaire après la période de rodage.
Note: Si de l'huile continue d'apparaître, contactez votre distributeur Toro agréé et faites remplacer les pièces le cas échéant.
Important: La présence de traces d'huile sur les joints de moteur ou de roues n'a rien d'anormal. Les joints ont besoin d'être légèrement lubrifiés pour fonctionner correctement.
Placez la commande d'accélérateur à la position HAUT RéGIME.
Poussez le levier multifonction en avant momentanément.
Les unités de coupe doivent s'abaisser et tous les cylindres doivent tourner.
Note: Le sélecteur de fonction doit se trouver à la position centrale (tonte) pour que les cylindres tournent quand vous abaissez les unités de coupe.
Ramenez le levier multifonction en arrière.
Les cylindres de coupe doivent s'arrêter de tourner et les unités de coupe doivent s'élever à la position de transport maximale.
Serrez le frein pour immobiliser la machine et faites passer la pédale de déplacement par les positions de marche avant et de marche arrière.
Continuez la procédure ci-dessus pendant 1 à 2 minutes. Placez le sélecteur de fonction au POINT MORT, serrez le frein de stationnement et coupez le moteur.
Recherchez d'éventuelles fuites de liquide et resserrez les raccords hydrauliques au besoin.
Note: Lorsque la machine est neuve, les roulements et les cylindres sont serrés et il faut donc utiliser la position HAUT RéGIME de la commande d'accélérateur pour ce contrôle. La position haut régime de l'accélérateur ne sera peut-être pas nécessaire après la période de rodage.
Note: Si du liquide continue d'apparaître, contactez votre distributeur Toro agréé et faites remplacer les pièces le cas échéant.
Important: La présence de traces d'huile sur les joints de moteur ou de roues n'a rien d'anormal. Les joints ont besoin d'être légèrement lubrifiés pour fonctionner correctement.
Amenez la commande d'accélérateur en position BAS RéGIME, tirez le levier multifonction vers l'arrière et placez le sélecteur de fonction en position POINT MORT.
Tournez la clé de contact en position ARRêT pour couper le moteur. Retirez la clé du commutateur pour éviter tout démarrage accidentel.
Fermez le robinet d'arrivée de carburant avant de remiser la machine.
| Périodicité d'entretien | Procédure d'entretien |
|---|---|
| À chaque utilisation ou une fois par jour |
|
Si les contacteurs de sécurité sont déconnectés ou endommagés, la machine peut se mettre en marche inopinément et causer des blessures.
Ne modifiez pas abusivement les contacteurs de sécurité.
Vérifiez chaque jour le fonctionnement des contacteurs de sécurité et remplacez ceux qui sont endommagés avant d'utiliser la machine.
Le rôle du système de sécurité est d'empêcher le fonctionnement de la machine si cela peut vous exposer à des blessures ou endommager la machine.
Le système de sécurité empêche le démarrage du moteur, sauf si :
La pédale de déplacement est en position NEUTRE.
Amenez le sélecteur de fonction en position POINT MORT.
Le système de sécurité empêche la machine de se déplacer, sauf si :
Le frein de stationnement est desserré.
Vous êtes assis sur le siège du conducteur.
Le sélecteur de fonction est à la position TONTE ou TRANSPORT.
Le système de sécurité empêche les cylindres de tourner si le sélecteur de fonction n'est pas à la position TONTE.
| Périodicité d'entretien | Procédure d'entretien |
|---|---|
| À chaque utilisation ou une fois par jour |
|
Procédez chaque jour aux contrôles suivants pour vérifier que le système de sécurité fonctionne correctement.
Asseyez-vous sur le siège, placez la pédale de déplacement à la position NEUTRE et le sélecteur de fonction au POINT MORT, et serrez le frein de stationnement.
Essayez de déplacer la pédale de déplacement vers l'avant ou l'arrière.
Elle ne doit pas bouger, ce qui signifie que le système de sécurité fonctionne correctement. Corrigez le problème en cas de mauvais fonctionnement.
Asseyez-vous sur le siège, placez la pédale de déplacement à la position NEUTRE et le sélecteur de fonction au POINT MORT, et serrez le frein de stationnement.
Placez le sélecteur de fonction en position TONTE ou TRANSPORT et essayez de démarrer le moteur.
Le démarreur ne doit pas fonctionner et le moteur ne doit pas démarrer, ce qui signifie que le système de sécurité fonctionne correctement. Corrigez le problème en cas de mauvais fonctionnement.
Asseyez-vous sur le siège, placez la pédale de déplacement à la position NEUTRE et le sélecteur de fonction au POINT MORT, et serrez le frein de stationnement.
Démarrez le moteur et placez le sélecteur de fonction à la position TONTE ou TRANSPORT.
Le moteur doit s'arrêter, ce qui signifie que le système de sécurité fonctionne correctement.
Corrigez le problème en cas de mauvais fonctionnement.
Asseyez-vous sur le siège, placez la pédale de déplacement à la position NEUTRE et le sélecteur de fonction au POINT MORT, et serrez le frein de stationnement.
Mettez le moteur en marche.
Desserrez le frein de stationnement, placez le sélecteur de fonction à la position TONTE et soulevez-vous du siège.
Le moteur doit s'arrêter, ce qui signifie que le système de sécurité fonctionne correctement. Corrigez le problème en cas de mauvais fonctionnement.
Asseyez-vous sur le siège, placez la pédale de déplacement à la position NEUTRE et le sélecteur de fonction au POINT MORT, et serrez le frein de stationnement.
Mettez le moteur en marche.
Déplacez le levier multifonction vers l'avant pour abaisser les unités de coupe. Les unités de coupe ne doivent pas s'abaisser ni se mettre à tourner.
Si elles se mettent à tourner, cela signifie que le système de sécurité ne fonctionne pas correctement. Remédiez au problème avant d'utiliser la machine.
Assurez-vous que les unités de coupe sont levées.
Amenez le sélecteur de fonction à la position de TRANSPORT.
Utilisez les freins pour ralentir la machine dans les descentes afin d'éviter une perte de contrôle.
Approchez les zones accidentées à vitesse réduite et traversez les ondulations importantes avec prudence.
Familiarisez-vous avec la largeur de la machine. Pour éviter des réparations et des temps d'immobilisation coûteux, n'essayez pas de passer entre des objets trop rapprochés.
Important: Si l'alarme du détecteur de fuite (si votre modèle en est équipé) se déclenche ou si vous remarquez une fuite d'huile pendant que vous travaillez sur un green, élevez immédiatement les unités de coupe, quittez directement le green et arrêtez la machine une fois qu'elle est éloignée. Recherchez la cause de la fuite et corrigez le problème.
Avant de tondre des greens, trouvez une zone dégagée et entraînez-vous à exécuter les fonctions de base de la machine (démarrage et arrêt, levée et abaissement des unités de coupe, changement de direction, etc.).
Débarrassez le green des débris qui peuvent s'y trouver, retirez le drapeau de la coupelle et déterminez la direction de travail la plus appropriée. Basez la direction de travail sur la tonte précédente. Alternez toujours le sens des passages par rapport à la coupe précédente pour éviter que l'herbe se couche et soit ainsi difficile à saisir entre les lames de coupe et la contre-lame.
Approchez-vous du green avec le sélecteur de fonction en position de TONTE et l'accélérateur en position de plein régime.
Commencez d'un côté du green de manière à pouvoir utiliser la procédure de coupe avec le ruban de repère.
Note: Cette méthode minimise le compactage et laisse des bandes esthétiques sur les greens.
Poussez le levier multifonction vers l'avant lorsque le bord avant des bacs à herbe franchit le bord extérieur du green.
Note: Cette manœuvre abaisse les unités de coupe sur le gazon et démarrez les cylindres.
Important: L'unité centrale s'abaisse et remonte légèrement à la suite des unités avant ; pour cette raison, entraînez-vous à synchroniser les opérations pour minimiser la tonte de rattrapage nécessaire.
Note: Le retard de levée ou d'abaissement de l'unité de coupe centrale dépend de la température du liquide hydraulique. Si le liquide hydraulique est froid, le retard sera plus long. Le temps de retard diminue quand la température du liquide augmente.
Minimisez le chevauchement de la passe précédente lors de la passe de retour.
Note: Pour vous aider à traverser le green en ligne droite et à maintenir la machine à égale distance du bord de la passe précédente, imaginez une ligne de vision imaginaire à environ 1,8 à 3 m en avant de la machine jusqu'au bord de la partie non coupée du green (Figure 24). Faites passer la ligne de vision par le bord extérieur du volant, c.-à-d. de maintenir le bord du volant aligné sur un point se trouvant toujours à la même distance par rapport à l'avant de la machine.
Lorsque le bord avant des bacs à herbe franchit le bord du green, ramenez le levier multifonction en arrière et maintenez-le dans cette position jusqu'à ce que toutes les unités de coupe soient levées. Cela arrête les cylindres et lève les unités de coupe.
Important: Programmez cette procédure correctement pour éviter d'empiéter sur la zone limitrophe, tout en tondant la plus grande superficie possible du green de sorte à minimiser la quantité d’herbe restant à couper autour de la périphérie extérieure.
Pour réduire le temps de travail et faciliter l'alignement pour la passe suivante, tournez momentanément la machine dans la direction opposée, puis tournez-la vers la partie à tondre. Exécutez un demi-tour en « goutte d'eau » (Figure 23) pour aligner rapidement la machine pour la passe suivante.

Note: Essayez de faire tourner la machine avec un rayon de braquage aussi court que possible, sauf lorsqu'il fait chaud quand un arc plus grand minimise les dommages possibles à la pelouse.

Note: Le volant ne revient pas à sa position de départ après un changement de direction.
Important: N'arrêtez jamais la machine sur un green quand les cylindres des unités coupe sont en marche, car cela pourrait endommager la pelouse. Si vous arrêtez la machine sur un green humide, les roues peuvent y laisser des marques ou des empreintes.
Terminez la tonte du green par sa périphérie. Changez la direction de la coupe par rapport à la tonte précédente.
Note: Utilisez la commande d'accélérateur pour régler la vitesse de la machine quand vous tondez la périphérie du terrain. Cela fera correspondre la tonte à l'état du green et peut contribuer à réduire la « zone triplex ».
Note: Tenez toujours compte des conditions météorologiques et de l'état de la pelouse et changez la direction de la tonte par rapport à la coupe précédente.
Lorsque vous avez fini de tondre la périphérie extérieure, ramenez le levier multifonction en arrière pour arrêter les cylindres, puis quittez le green. Levez toutes les unités de coupe une fois qu'elles sont toutes sorties du green.
Note: Cette opération minimise les paquets d'herbe qui restent à la surface du green.
Remettez le drapeau en place.
Videz complètement les bacs à herbe avant d'amener la machine sur le green suivant.
Note: L'herbe coupée, humide et lourde pèse de manière anormale dans les bacs et ajoute un poids inutile à la machine, ce qui augmente la charge imposée aux systèmes de la machine (ex. moteur, système hydraulique et freins).
Avant de quitter la position d'utilisation, serrez le frein de stationnement, coupez le moteur, enlevez la clé et attendez l'arrêt complet de tout mouvement. Laissez refroidir la machine avant de la régler, d'en faire l'entretien, de la nettoyer ou de la remiser.
Enlevez les débris d'herbe coupée et autres agglomérés sur les unités de coupe et les entraînements pour éviter les risques d'incendie. Nettoyez les coulées éventuelles d'huile ou de carburant.
Fermez le robinet d'arrivée de carburant si vous remisez ou faites transporter la machine.
Désengagez l'entraînement de l'outil quand vous transportez la machine ou qu'elle ne sert pas.
Laissez refroidir la machine avant de la remiser dans un local fermé.
Faites l'entretien de la ou des ceintures de sécurité, et nettoyez-les au besoin.
Ne rangez pas la machine ni les bidons de carburant à proximité d'une flamme nue, d'une source d'étincelles ou d'une veilleuse, telle celle d'un chauffe-eau ou d'autres appareils.
Le remorquage ne doit être effectué que par une machine équipée à cet effet. Le matériel remorqué ne doit être attelé qu'au point d'attelage.
Suivez les recommandations du fabricant en ce qui concerne les limites de poids relatives au matériel remorqué et au remorquage sur pentes. Sur les pentes, le poids du matériel remorqué peut provoquer une perte de la motricité et du contrôle de la machine.
N'autorisez jamais ni enfants ni adultes à monter sur ou dans le matériel remorqué.
Conduisez lentement et prévoyez une distance de freinage plus grande que la normale pendant le remorquage.
En cas d'urgence, vous pouvez remorquer la machine sur une distance maximale de 400 m.
Important: Ne remorquez pas la machine à plus 3 à 5 km/h au risque d'endommager la transmission. S'il est nécessaire de déplacer la machine sur plus de 400 m, transportez-la sur un camion ou sur une remorque.
Trouvez la vanne de dérivation sur la pompe (Figure 25).

Ouvrez la vanne de dérivation en la desserrant de 3 tours dans le sens antihoraire.
Avant de démarrer le moteur, fermez la vanne de dérivation et serrez-la à 12 N·m.
Important: Ne mettez pas le moteur en marche quand la vanne de dérivation est ouverte.
| Périodicité d'entretien | Procédure d'entretien |
|---|---|
| À chaque utilisation ou une fois par jour |
|
Après la tonte, lavez soigneusement la machine au jet d'eau sans buse pour éviter qu'une pression d'eau excessive ne contamine et n'endommage les joints et les roulements. Ne lavez pas un moteur chaud ni des connexions électriques avec de l'eau.
Avant de nettoyer la machine, effectuez la procédure suivante :
Vérifiez que la machine ne présente pas de fuites de liquide hydraulique, de dommages ou d'usure des composants hydrauliques et mécaniques.
Vérifiez l'affûtage des unités de coupe.
Lubrifiez l'axe de frein avec de l'huile SAE 30 ou un lubrifiant en aérosol pour prévenir la corrosion et maintenir la machine en parfait état de fonctionnement pendant la prochaine opération de tonte.
Procédez avec prudence pour charger la machine sur une remorque ou un camion, ainsi que pour la décharger.
Utilisez une rampe d'une seule pièce pour charger la machine sur une remorque ou un camion.
Arrimez solidement la machine au moyen de sangles, chaînes, câbles ou cordes. Les sangles avant et arrière doivent être dirigées vers le bas et l'extérieur de la machine (Figure 26).

Un mauvais entretien de la machine peut entraîner une défaillance prématurée des divers systèmes et vous blesser ou blesser toute personne à proximité.
Maintenez la machine bien entretenue et en bon état de marche, conformément aux instructions du présent manuel.
Note: Les côtés gauche et droit de la machine sont déterminés d'après la position d'utilisation normale.
Note: Vous pouvez télécharger un exemplaire gratuit du schéma hydraulique ou électrique en vous rendant sur www.Toro.com et en cherchant votre machine sous le lien Manuels sur la page d'accueil.
Important: Reportez-vous au manuel du propriétaire du moteur pour toutes procédures d'entretien supplémentaires.
Si vous laissez la clé dans le commutateur d'allumage, quelqu'un pourrait mettre le moteur en marche accidentellement et vous blesser gravement, ainsi que toute personne à proximité.
Avant tout entretien, enlevez la clé de contact et débranchez le fil des bougies. Éloignez les fils pour éviter tout contact accidentel avec les bougies.
Avant de quitter la position d'utilisation, effectuez la procédure suivante :
Garez la machine sur une surface plane et horizontale.
Débrayez la ou les unités de coupe.
Serrez le frein de stationnement.
Coupez le moteur et retirez la clé.
Attendez l'arrêt complet de tout mouvement.
Laissez refroidir les composants de la machine avant d'effectuer toute opération d'entretien.
Si possible, n'effectuez aucun entretien quand le moteur est en marche. Ne vous approchez pas des pièces mobiles.
Soutenez la machine avec des chandelles chaque fois que vous devez travailler dessous.
Libérez la pression emmagasinée dans les composants avec précaution.
Maintenez toutes les pièces de la machine en bon état de marche et toutes les fixations bien serrées.
Remplacez tous les autocollants usés ou endommagés.
Pour garantir le fonctionnement sûr et optimal de la machine, utilisez exclusivement des pièces de rechange d'origine Toro. Les pièces de rechange provenant d'autres constructeurs peuvent être dangereuses, et leur utilisation risque d'annuler la garantie de la machine.
| Périodicité d'entretien | Procédure d'entretien |
|---|---|
| Après la 1ère heure de fonctionnement |
|
| Après les 10 premières heures de fonctionnement |
|
| Après les 50 premières heures de fonctionnement |
|
| À chaque utilisation ou une fois par jour |
|
| Toutes les 50 heures |
|
| Toutes les 100 heures |
|
| Toutes les 200 heures |
|
| Toutes les 800 heures |
|
| Toutes les 1000 heures |
|
| Toutes les 2000 heures |
|
| Une fois par an |
|
| Tous les 2 ans |
|
Copiez cette page pour pouvoir vous en servir régulièrement.
| Entretiens à effectuer | Pour la semaine du : | ||||||
|---|---|---|---|---|---|---|---|
| Lun. | Mar. | Mer. | Jeu. | Ven. | Sam. | Dim. | |
| Vérifiez le fonctionnement du système de sécurité. | |||||||
| Vérifiez le fonctionnement des instruments | |||||||
| Vérifiez l'alarme du détecteur de fuite. | |||||||
| Vérifiez le fonctionnement des freins. | |||||||
| Contrôlez le niveau de carburant. | |||||||
| Contrôlez le niveau de liquide hydraulique. | |||||||
| Contrôlez le niveau d'huile moteur. | |||||||
| Nettoyez les ailettes de refroidissement du moteur. | |||||||
| Examinez le préfiltre du filtre à air. | |||||||
| Vérifiez tous bruits anormaux en provenance du moteur. | |||||||
| Vérifiez le réglage cylindre/contre-lame. | |||||||
| Vérifiez l'état des flexibles hydrauliques. | |||||||
| Recherchez des fuites éventuelles. | |||||||
| Contrôlez la pression des pneus. | |||||||
| Vérifiez le réglage de la hauteur de coupe. | |||||||
| Lubrifiez tous les graisseurs.1 | |||||||
| Lubrifiez la timonerie de tonte, de levage et de freins. | |||||||
| Retouchez les peintures endommagées. | |||||||
|
1. Immédiatement après chaque lavage, quelle que soit la fréquence d'entretien indiquée |
|||||||
| Contrôle effectué par : | ||
| Point contrôlé | Date | Information |
Note: Si vous déposez le siège fréquemment, vous pouvez remplacer la goupille cylindrique par une goupille fendue (réf. 3290-467).
Déposez le siège pour accéder au bloc hydraulique de la machine.
Déverrouillez et relevez le siège, et bloquez-le en position avec la béquille.
Débranchez les 2 connecteurs du faisceau de câblage sous le siège.
Abaissez le siège et retirez la goupille cylindrique qui fixe la tige de pivot du siège au cadre (Figure 27).

Poussez la tige de pivot du siège vers la gauche.
Avancez le siège et soulevez-le hors de la machine.
Inversez la procédure pour remettre le siège en place.
Si la machine n'est pas correctement soutenue, elle peut retomber et vous écraser ou écraser d'autres personnes.
Avant l'entretien, placez des chandelles ou des cales en bois sous la machine.
Avant de soulever la machine, abaissez les unités de coupe. Les points de levage sont les suivants :
Côté droit – sous l'appui de cric et adjacent au support du système antiretournement (ROPS) (Figure 28)
Côté gauche – sous la marche
Arrière – au niveau de la fourche de roue pivotante.

| Périodicité d'entretien | Procédure d'entretien |
|---|---|
| Toutes les 50 heures |
|
Graissez régulièrement les graisseurs avec de la graisse n.º 2 au lithium.
Localisez les graisseurs comme suit :
Moyeu de rouleau arrière ou, si la machine est équipée d'un kit 3 roues motrices, embrayages à rouleau de roues arrière et roulement à billes extérieur (1) (Figure 29)

Axe de fourche de direction (1) (Figure 30)
Extrémité de tige de vérin de direction (Figure 30)

Pivot de bras de levage (3) et articulation de pivot (3) (Figure 31)

Axe et rouleau de cadre de traction (12) (Figure 32)

Extrémité de vérin de direction (Figure 33).

Vérins de levage (3) (Figure 34)

Pédale de déplacement (Figure 35)

Tringlerie de sélecteur de vitesses (Figure 36 et Figure 37)


Essuyez les graisseurs pour éviter que des impuretés ne pénètrent dans le roulement ou la bague.
Injectez de la graisse dans le roulement ou la bague jusqu'à ce qu'elle soit visible. Essuyez tout excès de graisse.
Graissez l'arbre cannelé du moteur du cylindre et le bras de levage quand vous déposez l'unité de coupe pour l'entretien.
Lubrifiez tous les points de pivot avec quelques gouttes d'huile moteur SAE 30 ou de lubrifiant en aérosol (WD 40) chaque jour et après chaque nettoyage.
Coupez le moteur avant de contrôler le niveau d'huile ou d'ajouter de l'huile dans le carter.
Ne modifiez pas le réglage du régulateur et ne faites pas tourner le moteur à un régime excessif.
| Périodicité d'entretien | Procédure d'entretien |
|---|---|
| Toutes les 50 heures |
|
| Toutes les 100 heures |
|
Nettoyez le couvercle du filtre à air (Figure 38).

Ouvrez les clips de verrouillage et enlevez le couvercle du filtre à air.
Enlevez l'écrou à oreilles qui fixe les éléments au boitier du filtre à air (Figure 39).
Si l'élément en mousse est encrassé, sortez-le de l'élément en papier (Figure 39). Nettoyez-le soigneusement comme suit :
Lavez l'élément en mousse dans de l'eau chaude additionnée de savon liquide. Pressez-le pour le décrasser.
Séchez-le en l'enveloppant dans un chiffon propre. Serrez l'élément dans le chiffon pour bien le sécher.
Important: Ne tordez pas l'élément en mousse pour le sécher, car vous pourriez déchirer la mousse.

Vérifiez l'état de l'élément en papier. Tapotez-le doucement sur une surface plane ou remplacez-le si nécessaire.
Reposez l'élément en mousse, l'élément en papier, l'écrou à oreilles et le couvercle du filtre à air.
Important: Ne faites pas tourner le moteur sans le filtre à air complet sous peine de l'user et de l'endommager gravement.
La machine est expédiée avec de l'huile dans le carter moteur ; toutefois, vous devez contrôler le niveau d'huile avant et après le premier démarrage du moteur.
Catégorie de service API : SJ- ou mieux
Viscosité d'huile : SAE 30
Note: Utilisez n'importe quelle huile détergente de haute qualité.
| Périodicité d'entretien | Procédure d'entretien |
|---|---|
| À chaque utilisation ou une fois par jour |
|
Garez la machine sur une surface plane et horizontale, coupez le moteur et enlevez la clé.
Dévissez la jauge, sortez-la et essuyez-la sur un chiffon propre.
Remettez la jauge dans le tube et vissez-la dedans (Figure 40).

Dévissez la jauge, sortez-la du tube et contrôlez le niveau d'huile.
Si le niveau est trop bas, retirez le bouchon de remplissage du couvre-culasse et faites l'appoint d'huile par le goulot de remplissage pour faire monter le niveau jusqu'au repère MAXIMUM sur la jauge.
Versez l'huile lentement et vérifiez souvent le niveau durant la procédure.
Important: Ne remplissez pas excessivement le carter moteur.
Remettez le bouchon de remplissage et la jauge en place.
| Périodicité d'entretien | Procédure d'entretien |
|---|---|
| Toutes les 100 heures |
|
Quantité d'huile moteur : 1,4 l avec filtre
Retirez le bouchon de vidange (Figure 41) et laissez couler l'huile dans un bac de vidange.

Nettoyez le filetage du bouchon de vidange, enduisez-le de produit d'étanchéité au PTFE et remettez le bouchon en place (Figure 41).
Déposez le filtre à huile (Figure 41).
Appliquez une fine couche d'huile sur le joint du filtre de rechange.
Vissez le filtre à huile sur le moteur à la main jusqu'à ce que le joint rejoigne l'adaptateur du filtre, puis vissez encore le filtre de 3/4 à 1 tour.
Important: Ne serrez pas le filtre à huile excessivement.
Rajoutez de l'huile dans le carter moteur ; voir Spécifications de l'huile moteur et Contrôle du niveau d'huile moteur.
Débarrassez-vous correctement du filtre à huile et de l'huile usagée.
| Périodicité d'entretien | Procédure d'entretien |
|---|---|
| Toutes les 1000 heures |
|
Bougie spécifiée : Champion RC 14YC
Écartement des électrodes spécifié : 0,76 mm
Nettoyez la surface autour des bougies pour éviter que des impuretés ne tombent dans le cylindre.
Débranchez les fils des bougies, puis déposez les bougies.
Vérifiez l’état des électrodes latérale et centrale, ainsi que du bec isolant de l'électrode centrale.
Important: Toute bougie fêlée, encrassée ou défectueuse doit être remplacée. Ne nettoyez pas les électrodes de bougies à l'aide d'un jet de sable, d'un grattoir ou d'une brosse métallique. Des grains de matière abrasive pourraient se détacher de la bougie, tomber dans le cylindre et endommager le moteur.
Réglez l'écartement entre les électrodes centrale et latérale à 0,76 mm, comme montré à la Figure 42.

Montez la bougie assortie d'un joint d'étanchéité, et serrez la bougie à 23 N·m.
| Périodicité d'entretien | Procédure d'entretien |
|---|---|
| Toutes les 800 heures |
|
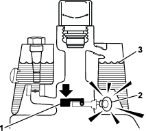
Le filtre à carburant en ligne se trouve dans la conduite d'alimentation, entre le réservoir de carburant et le carburateur (Figure 43).
Dans certaines circonstances, le carburant est extrêmement inflammable et hautement explosif. Un incendie ou une explosion causé(e) par du carburant peut vous brûler, ainsi que les personnes se tenant à proximité, et causer des dommages matériels.
Vidangez le réservoir de carburant lorsque le moteur est froid. Travaillez à l'extérieur, dans un endroit dégagé. Essuyez tout carburant répandu.
Ne fumez jamais pendant la vidange de carburant, et tenez-vous à l'écart des flammes nues et étincelles susceptibles d'enflammer les vapeurs de carburant.
Fermez le robinet d'arrivée de carburant (Figure 43).

Placez un bac de vidange sous le filtre, desserrez le collier sur le côté carburateur du filtre, et débranchez la conduite de carburant du filtre (Figure 43).
Desserrez l'autre collier et déposez le filtre (Figure 43).
Montez le nouveau filtre en veillant à bien pointer la flèche dans la direction opposée au réservoir de carburant.
| Périodicité d'entretien | Procédure d'entretien |
|---|---|
| Tous les 2 ans |
|
Vérifiez que les conduites et les raccords ne sont pas détériorés, endommagés ou desserrés.
Débranchez la batterie avant de réparer la machine. Débranchez toujours la borne négative avant la borne positive. Rebranchez la borne positive avant la borne négative.
Chargez la batterie dans un endroit dégagé et bien aéré, à l'écart des flammes ou sources d'étincelles. Débranchez le chargeur du secteur avant de brancher ou de débrancher la batterie. Portez des vêtements de protection et utilisez des outils isolés.
Les bornes de la batterie ou les outils en métal peuvent causer des courts-circuits au contact des pièces métalliques de la machine et produire des étincelles. Les étincelles peuvent provoquer l'explosion des gaz de la batterie et vous blesser.
Lors du retrait ou de la mise en place de la batterie, les bornes ne doivent toucher aucune partie métallique de la machine.
Évitez de créer des courts-circuits entre les bornes de la batterie et les parties métalliques de la machine avec des outils en métal.
Débranchez le câble négatif (noir) avant le câble positif (rouge) de la batterie (Figure 44).

S'ils sont mal acheminés, les câbles de la batterie peuvent subir des dommages ou endommager le tracteur et produire des étincelles. Les étincelles peuvent provoquer l'explosion des gaz de la batterie et vous blesser.
Débranchez toujours le câble négatif (noir) de la batterie avant le câble positif (rouge).
Déposez les fixations et la barrette de maintien de la batterie et retirez la batterie.
Raccordez un chargeur de 2 à 4 A aux bornes de la batterie. Chargez la batterie pendant au moins 2 heures au régime de 4 ampères ou pendant 4 heures au régime de 2 ampères jusqu'à ce que la densité soit égale ou supérieure à 1,250, que la température soit égale ou supérieure à 16 °C et que tous les éléments produisent du gaz librement.
La batterie en charge produit des gaz qui peuvent exploser.
Ne fumez jamais et gardez la batterie éloignée des flammes et sources d'étincelles.
Important: Si vous ne chargez pas la batterie pendant au moins la durée spécifiée ci-dessus, sa vie utile risque d'être réduite.
Une fois la batterie chargée, débranchez le chargeur du secteur et des bornes de la batterie.
Placez la batterie sur son support et fixez-la avec la barrette et les fixations retirées précédemment.
Raccordez le câble positif (rouge) de la batterie à la borne positive (+) et le câble négatif (noir) à la borne négative (-) (Figure 44) et fixez-les en place avec les boulons et les écrous. Placez le capuchon en caoutchouc sur la borne positive pour éviter les courts-circuits.
S'ils sont mal acheminés, les câbles de la batterie peuvent subir des dommages ou endommager le tracteur et produire des étincelles. Les étincelles peuvent provoquer l'explosion des gaz de la batterie et vous blesser.
Branchez toujours le câble positif (rouge) de la batterie avant le câble négatif (noir).
Les fusibles du système électrique de la machine se trouvent sous le siège (Figure 45).

| Périodicité d'entretien | Procédure d'entretien |
|---|---|
| À chaque utilisation ou une fois par jour |
|
Faites varier la pression des pneus avant entre 0,55 bar (minimum) et 0,83 bar (maximum) en fonction de l'état de la pelouse.
Faites varier la pression des pneus arrière entre 0,55 bar (minimum) et 1,03 bar (maximum).
| Périodicité d'entretien | Procédure d'entretien |
|---|---|
| Après la 1ère heure de fonctionnement |
|
| Après les 10 premières heures de fonctionnement |
|
| Toutes les 200 heures |
|
Couple de serrage des écrous de moyeux de roues : 420 à 461 N·m
| Périodicité d'entretien | Procédure d'entretien |
|---|---|
| Après la 1ère heure de fonctionnement |
|
| Après les 10 premières heures de fonctionnement |
|
| Toutes les 200 heures |
|
Un mauvais serrage des écrous de roues peut occasionner des blessures.
Serrez les écrous de roues au couple spécifié et aux intervalles spécifiés.
Couple de serrage des écrous de roues : 95 à 122 N·m
Note: Pour assurer une répartition uniforme, serrez les écrous de roues en étoile.
Si la machine a tendance à avancer lorsque la pédale de déplacement est à la position NEUTRE, réglez le mécanisme de retour au point mort.
Placez une cale sous le cadre pour décoller du sol une des roues avant.
Note: Si la machine est équipée d'un kit 3 roues motrices, élevez et calez la roue arrière.
Démarrez le moteur, placez la commande d'accélérateur en position BAS RéGIME et vérifiez que la roue avant est décollée du sol et ne tourne pas.
Si elle tourne, arrêtez le moteur et procédez comme suit :
Desserrez les deux écrous de blocage qui fixent le câble de commande de déplacement à la tôle de traversée sur l'hydrostat (Figure 46). Desserrez les écrous de blocage uniformément et suffisamment pour permettre le réglage.

Note: Desserrez l'écrou de fixation de l'excentrique en haut de l'hydrostat (Figure 46).
Placez le sélecteur de fonction au POINT MORT et la commande d'accélérateur en position BAS RéGIME.
Mettez le moteur en marche.
Tournez l'excentrique jusqu'à ce que la roue ne tourne plus dans aucune direction.
Lorsque la route arrête de tourner, serrez l'écrou pour bloquer l'excentrique et le réglage (Figure 46).
Vérifiez le réglage avec la commande d'accélérateur en position BAS RéGIME, puis HAUT RéGIME.
De chaque côté de la tôle de traversée, serrez les contre-écrous uniformément pour fixer le câble de commande de déplacement à la tôle (Figure 46). Ne tordez pas le câble.
Note: Si le câble est tendu quand le sélecteur de fonction est au POINT MORT, la machine peut se déplacer légèrement lorsque le sélecteur est placé à la position TONTE ou TRANSPORT.
La pédale de déplacement est réglée pour la vitesse de transport maximale, mais un réglage pourra être nécessaire si la pédale arrive en fin de course avant de rencontrer la butée ou si vous souhaitez réduire la vitesse de transport.
Pour obtenir la vitesse de transport maximale, placez le sélecteur de fonction en position de TRANSPORT et appuyez sur la pédale de déplacement. Si la pédale touche la butée (Figure 47) avant que la tension soit ressentie sur le câble, procédez comme suit :

Placez le sélecteur de fonction à la position de TRANSPORT et desserrez le contre-écrou de fixation de la butée de pédale au plancher (Figure 47).
Serrez la butée jusqu'à ce qu'elle ne touche plus la pédale de déplacement.
Continuez d'appuyer légèrement sur la pédale de déplacement et réglez la butée pour qu'elle touche la tige de la pédale ; serrez les écrous.
Important: Ne tendez pas excessivement le câble au risque de l'user prématurément.
Appuyez sur la pédale de déplacement et desserrez le contre-écrou de fixation de la butée au plancher.
Desserrez la butée de la pédale jusqu'à obtention de la vitesse de transport voulue.
Serrez le contre-écrou de fixation de la butée.
Réglage d'usine : 6,1 km/h
Desserrez l'écrou de blocage sur le boulon de tourillon sur le côté de la pédale de déplacement (Figure 48).

Tournez le boulon de tourillon dans le sens antihoraire pour augmenter la vitesse de tonte et dans le sens horaire pour la réduire.
Serrez l'écrou de blocage sans tourner le boulon de tourillon, et contrôlez la vitesse de déplacement. Répétez cette procédure au besoin.
| Périodicité d'entretien | Procédure d'entretien |
|---|---|
| Une fois par an |
|
Serrez fermement les freins et conduisez la machine à la vitesse de tonte jusqu'à ce que les freins soient chauds, ce qui sera indiqué par leur odeur. Vous devrez éventuellement modifier le réglage des freins après avoir rodé la machine ; voir Réglage des freins.
Une tige de réglage située de chaque côté de la machine permet de régler les freins uniformément.
Pendant que la machine avance à la vitesse de transport, appuyez sur la pédale de frein ; les deux roues doivent se bloquer de la même manière.
Si vous testez les freins dans un endroit exigu où se trouve d'autres personnes, vous risquez de blesser quelqu'un.
Vérifiez toujours les freins dans un endroit ouvert et dégagé, plat et dépourvu d'obstacles et de personnes, avant et après le réglage.
Si les freins ne se serrent pas également, réglez-les comme suit :
Désaccouplez les tiges de frein en retirant la goupille fendue et l'axe de chape (Figure 49).

Desserrez l'écrou de blocage et réglez la chape comme il convient (Figure 49).
Montez la chape sur l'arbre de frein (Figure 49).
Lorsque vous enfoncez la pédale de frein, elle doit parcourir 13 à 26 mm avant que les garnitures de freins rejoignent les tambours. Au besoin, ajustez la chape sur l'arbre de frein pour obtenir ce réglage.
Pendant que la machine avance à la vitesse de transport, appuyez sur la pédale de frein. Les deux freins doivent se serrer de la même manière. Réglez-les au besoin.
Important: Rodez les freins tous les ans ; voir la section Rodage des freins.
Le circuit de levage/abaissement des unités de coupe de cette machine est muni d’un régulateur de débit (Figure 50). Celui-ci est ouvert en usine d’environ 3 tours. Cependant, un réglage est parfois nécessaire pour compenser les différences de températures de liquide hydraulique, de vitesses de tonte, etc.
Note: Attendez que le liquide hydraulique atteigne la température de service avant de régler le régulateur de débit.
Localisez le régulateur de débit sous le siège (Figure 50).


Desserrez l'écrou de blocage sur le bouton de réglage du régulateur de débit.
Réglez le régulateur de débit comme suit :
Tournez ensuite le bouton dans le sens antihoraire si l'unité de coupe centrale s'abaisse avec du retard.
Tournez le bouton dans le sens horaire si l'unité de coupe centrale s'abaisse trop tôt.
Note: Il ne devrait pas être nécessaire de le tourner de plus de 1/32 à 1/16e de tour.
Vérifiez le réglage et répétez l'opération 3 selon les besoins ; serrez l'écrou de blocage quand vous avez fini.
Vous pouvez régler les vérins de levage avant afin de réguler la hauteur des unités de coupe avant à la position levée (transport).
Abaissez les unités de coupe au sol.
Retirez les boulons qui fixent la plaque de protection du vérin de levage que vous réglez aux supports du châssis (Figure 51).

Desserrez le contre-écrou qui fixe la chape au vérin de l'unité de coupe que vous devez régler (Figure 52).

Déposez la goupille de fixation et l'axe de chape (Figure 52)
Tournez la chape pour obtenir la hauteur voulue (Figure 53).

Montez la chape sur le bras de levage avec l'axe de chape et la goupille de fixation, et serrez l'écrou de blocage (Figure 52 et Figure 53)
Fixez la plaque de protection avec les boulons retirés à l'opération 2.
Consultez immédiatement un médecin si du liquide est injecté sous la peau. Toute injection de liquide hydraulique sous la peau doit être éliminée dans les quelques heures qui suivent par une intervention chirurgicale réalisée par un médecin.
Vérifiez l'état de tous les flexibles et conduits de liquide hydraulique, ainsi que le serrage de tous les branchements et raccords avant de mettre le système hydraulique sous pression.
N'approchez pas les mains ni aucune autre partie du corps des fuites en trou d'épingle ou des gicleurs d'où sort du liquide hydraulique sous haute pression.
Utilisez un morceau de papier ou de carton pour détecter les fuites.
Évacuez avec précaution toute la pression du système hydraulique avant toute intervention sur le système.
Important: Quel que soit le type de liquide hydraulique utilisé, un kit refroidisseur d'huile (réf. 105-8339) doit être monté sur les groupes de déplacement utilisés ailleurs que sur des greens, pour le « verticutting » ou lorsque la température ambiante est supérieure à 29 ºC.
Le réservoir est rempli en usine de liquide hydraulique de haute qualité. Contrôlez néanmoins le niveau du liquide hydraulique avant le tout premier démarrage du moteur, puis tous les jours ; voir Contrôle du niveau de liquide hydraulique.
Liquide hydraulique recommandé : liquide hydraulique longue durée « Toro PX Extended Life » ; disponible en bidons de 19 litres ou barils de 208 litres.
Note: Si vous utilisez le liquide de remplacement recommandé dans la machine vous n'aurez pas besoin de vidanger le liquide et de remplacer le filtre aussi souvent.
Autres liquides hydrauliques possibles : si vous ne disposez pas de liquide hydraulique longue durée Toro PX, vous pouvez utiliser d'autres liquides hydrauliques classiques à base de pétrole à condition qu'ils soient conformes aux caractéristiques physiques et aux spécifications de l'industrie suivantes. N'utilisez pas de liquide synthétique. Consultez votre distributeur de lubrifiants pour identifier un produit qui convient.
Note: Toro décline toute responsabilité en cas de dommage causé par l'utilisation d'huiles de remplacement inadéquates. Utilisez uniquement des produits provenant de fabricants réputés qui répondent de leur recommandation.
| Propriétés physiques : | ||
| Viscosité, ASTM D445 | 44 à 48 cSt à 40 °C | |
| Indice de viscosité, ASTM D2270 | 140 ou plus | |
| Point d'écoulement, ASTM D97 | -37 à -45 °C | |
| Spécifications de l'industrie : | Eaton Vickers 694 (I-286-S, M-2950-S/35VQ25 ou M-2952-S) | |
Note: De nombreuses huiles hydrauliques sont presque incolores, ce qui rend difficile la détection des fuites. Un additif colorant rouge pour liquide hydraulique est disponible en bouteilles de 20 ml. Une bouteille suffit pour 15 à 22 litres de liquide hydraulique. Vous pouvez commander ces bouteilles chez les concessionnaires Toro agréés (réf. 44-2500).
Important: Le liquide hydraulique biodégradable synthétique « Toro Premium Synthetic Bio Hyd Fluid » est le seul liquide biodégradable synthétique agréé par Toro. Il est compatible avec les élastomères utilisés dans les systèmes hydrauliques Toro et convient pour de larges plages de températures. Ce liquide est compatible avec les huiles minérales traditionnelles ; toutefois vous devez rincer soigneusement le système hydraulique pour le débarrasser de l'ancien liquide afin d'optimiser la biodégradabilité et les performances. Cette huile est disponible en bidons de 19 litres ou en barils de 208 litres chez votre distributeur Toro agréé.
Placez la machine sur une surface plane et horizontale.
Note: Laissez refroidir la machine afin que le liquide soit froid.
Contrôlez le niveau de liquide en fonction du réservoir de votre machine :
Si le réservoir hydraulique auxiliaire comporte un regard, contrôlez le niveau d'huile par le regard (Figure 54), puis passez à l'opération 5.
Note: Le niveau de liquide est suffisant s'il se situe entre les deux repères du regard.
Si le réservoir hydraulique auxiliaire n'a pas de regard, localisez la jauge au sommet de la machine (Figure 54), puis passez à l'opération 3.

Retirez la jauge, essuyez-la sur un chiffon propre puis revissez-la dans l'orifice du réservoir.
Ressortez la jauge et contrôlez le niveau de liquide. Il est suffisant s'il se situe entre les deux repères sur la jauge. Si le niveau de liquide n'est pas entre les repères maximum et minimum, rectifiez le niveau (Figure 55).

Enlevez le bouchon du réservoir hydraulique et versez lentement une quantité suffisante d'huile hydraulique de haute qualité du type correct jusqu'à ce que le niveau se situe entre les deux repères sur le regard ou la jauge.
Important: Pour éviter de contaminer le système, nettoyez le dessus des bidons de liquide hydraulique avant de les perforer. Vérifiez que le bec verseur et l'entonnoir sont propres.
Note: Ne mélangez pas différents types de liquide hydraulique.
Remettez le bouchon en place.
Note: Vérifiez soigneusement les composants hydrauliques. Recherchez d'éventuelles fuites, fixations desserrées, pièces manquantes ou canalisations mal acheminées. Effectuez les réparations nécessaires.
| Périodicité d'entretien | Procédure d'entretien |
|---|---|
| Toutes les 800 heures |
|
| Toutes les 1000 heures |
|
| Toutes les 2000 heures |
|
Capacité du réservoir de liquide hydraulique : 25,7 litres
Si le liquide est contaminé, faites rincer le système par un concessionnaire Toro agréé. Le liquide contaminé a un aspect laiteux ou noir comparé à de l'huile propre.
Nettoyez la zone autour de la surface de montage du filtre (Figure 56). Placez un bac de vidange sous le filtre et enlevez le filtre.

Note: Si vous ne voulez pas vidanger l'huile, débranchez et bouchez la conduite hydraulique reliée au filtre.
Remplissez le filtre de rechange avec une l'huile hydraulique adéquate, lubrifiez le joint et vissez le filtre à la main jusqu'à ce que le joint rejoigne la tête du filtre. Donnez ensuite 3/4 de tour supplémentaire.
Remplissez le réservoir de liquide hydraulique ; voir Contrôle du niveau de liquide hydraulique et Liquides hydrauliques spécifiés.
Mettez le moteur en marche et laissez-le tourner au ralenti pendant 3 à 5 minutes pour faire circuler le liquide et supprimer l'air encore présent dans le système. Coupez le moteur et vérifiez le niveau de liquide.
Débarrassez-vous du liquide et du filtre correctement.
| Périodicité d'entretien | Procédure d'entretien |
|---|---|
| À chaque utilisation ou une fois par jour |
|
Vérifiez chaque jour que les conduites et flexibles hydrauliques ne présentent pas de fuites, ne sont pas pliés, usés, détériorés par les conditions atmosphériques ou les produits chimiques, et que les supports de montage et les raccords ne sont pas desserrés. Effectuez les réparations nécessaires avant d'utiliser la machine.
Le système détecteur de fuite est conçu pour faciliter la détection rapide des fuites du système hydraulique. Si le niveau d'huile baisse de 118 à 177 ml dans le réservoir hydraulique principal, le contacteur à flotteur se ferme dans le réservoir. Après 1 seconde, l'alarme se déclenche pour alerter l'utilisateur (Figure 59). Parce qu'il chauffe pendant le fonctionnement normal de la machine, le liquide se dilate et est transféré dans le réservoir auxiliaire. Le liquide retourne dans le réservoir principal lorsque vous coupez le contact.



Lorsque le commutateur d'allumage est à la position CONTACT, déplacez le commutateur du détecteur de fuite en arrière et maintenez-le dans cette position. Lorsque la temporisation d'une seconde s'est écoulée, l'alarme se déclenche.
Relâchez le contacteur du détecteur de fuites.
Tournez le commutateur d'allumage en position CONTACT. Ne mettez pas le moteur en marche.
Dans le goulot du réservoir hydraulique, déposez le reniflard du réservoir.
Introduisez une tige ou un tournevis propre dans le goulot du réservoir et enfoncez doucement le flotteur du contacteur de niveau (Figure 60) ; l'alarme devrait se déclencher au bout d'une seconde.

Relâchez le flotteur ; l'alarme devrait s'arrêter.
Remettez le bouchon du réservoir hydraulique.
Tournez le commutateur d'allumage à la position ARRêT.
L'alarme du détecteur de fuite peut se déclencher dans les cas suivants :
Une fuite de 118 à 177 ml s'est produite.
Le niveau d'huile dans le réservoir principal a diminué de 118 à 177 ml, car l'huile diminue de volume en refroidissant.
Si l'alarme se déclenche, vous devez arrêter la machine le plus rapidement possible et rechercher d'éventuelles fuites. Si l'alarme se déclenche pendant que vous tondez un green, la première chose à faire est de quitter le green. Recherchez l'origine de la fuite et réparez-la avant de poursuivre.
Si vous ne trouvez pas de fuites et que vous pensez qu'il s'agit d'une fausse alarme, tournez le commutateur d'allumage à la position ARRêT et attendez 1 à 2 minutes que les niveaux de liquide se stabilisent. Remettez le moteur en marche et utilisez la machine sur une surface qui ne craint rien pour vérifier qu'il n'y a pas de fuites.
Les fausses alarmes dues à la réduction de volume de liquide peuvent être provoquées par le fonctionnement prolongé du moteur au ralenti après l'utilisation normale de la machine. Une fausse alarme peut se produire si vous utilisez la machine avec une charge réduite après une utilisation prolongée avec une charge élevée. Pour éviter les fausses alarmes, coupez le moteur au lieu de le laisser tourner au ralenti pendant longtemps.
Une lame ou contre-lame usée ou endommagée peut se briser et projeter le morceau cassé dans votre direction ou celle d'autres personnes, et infliger des blessures graves ou mortelles.
Vérifiez périodiquement que les lames et les contre-lames ne sont pas excessivement usées ou endommagées.
Examinez toujours les lames avec prudence. Portez des gants et procédez toujours avec précaution pendant leur entretien. Limitez-vous à remplacer ou aiguiser les lames et contre-lames ; n'essayez jamais de les redresser ou de les souder.
Sur les machines à plusieurs unités de coupe, faites attention quand vous tournez une unité de coupe, car sa rotation peut entraîner celle des cylindres des autres unités de coupe.
| Périodicité d'entretien | Procédure d'entretien |
|---|---|
| À chaque utilisation ou une fois par jour |
|
Vérifiez le contact cylindre/contre-lame avant chaque journée de travail, quelle qu'ait été la qualité de la coupe jusque-là. Il doit exister un léger contact sur toute la longueur du cylindre et de la contre-lame ; voir le Manuel de l'utilisateur de l'unité de coupe.
Pour obtenir systématiquement de bons résultats et une tonte uniforme, vous devez régler correctement la vitesse des cylindres (la commande se trouve sur le bloc collecteur, sous le couvercle situé sur le côté gauche du siège). Réglez la vitesse des cylindres comme suit :
Choisissez la hauteur de coupe des unités de coupe.
Choisissez la vitesse de déplacement la mieux adaptée aux conditions de travail.
En vous reportant au tableau ci-dessous, déterminez le réglage de vitesse des cylindres pour les unités de coupe à 5, 8, 11 ou 14-lames (Figure 61).

Soulevez le siège et bloquez-le en position avec la béquille (Figure 62).

Pour régler la vitesse des cylindres, tournez le bouton de commande de vitesse (Figure 63) jusqu'à ce que la flèche soit en face de la valeur déterminée à l'opération 3.


Note: Vous pouvez réduire ou augmenter la vitesse des cylindres selon l'état de la pelouse.
Les cylindres et autres pièces mobiles peuvent causer des blessures.
N'approchez pas les mains ni les vêtements des cylindres et autres pièces mobiles.
N'essayez jamais de faire tourner les cylindres avec la main ou le pied quand le moteur est en marche.
Placez la machine sur une surface plane et horizontale, abaissez les unités de coupe, coupez le moteur, enlevez la clé et serrez le frein de stationnement.
Soulevez le siège et bloquez-le en position avec la béquille (Figure 64).

Effectuez les premiers réglages cylindre/contre lame nécessaires pour rectifier toutes les unités de coupe concernées par le rodage ; voir le Manuel de l'utilisateur de l'unité de coupe.
Tournez le levier de rodage à la position R (Figure 65).


Tournez le bouton de réglage de vitesse des cylindres à la position 1 (Figure 65).
Mettez le moteur en marche et laissez-le tourner au ralenti.
Important: Ne modifiez pas le régime moteur pendant le rodage, car les cylindres risquent de caler. Le rodage ne doit s'effectuer qu'au ralenti.
Avec le levier de tonte/transport au POINT MORT, déplacez le levier multifonction vers l'avant pour commencer le rodage du cylindre.
Appliquez le produit de rodage avec un pinceau à long manche. N'utilisez jamais de pinceau à manche court.
Si les cylindres calent ou se mettent à tourner irrégulièrement pendant le rodage, sélectionnez une vitesse plus élevée jusqu'à ce qu'ils se stabilisent, puis réglez-les à nouveau à la position 1 ou à la vitesse voulue.
Pour effectuer un réglage sur les unités de coupe pendant le rodage, arrêtez les cylindres en déplaçant le levier multifonction vers l'arrière et coupez le moteur. Lorsque le réglage est terminé, répétez les opérations 4 à 8.
Répétez les opérations 4 à 8 pour toutes les unités de coupe qui ont besoin d'être rodées.
Lorsque vous avez terminé, ramenez le levier de rodage à la position F, tournez le bouton de réglage de vitesse des cylindres à la position voulue, abaissez le siège et lavez les unités de coupe pour éliminer le produit de rodage. Réglez le contact cylindre/contre-lame selon les besoins.
Important: Si vous ne ramenez pas le levier de rodage à la position « F » après le rodage, les unités de coupe ne s'élèveront pas ou ne fonctionneront pas correctement.
Avant de quitter la position d'utilisation, coupez le moteur, enlevez la clé et attendez l'arrêt complet de tout mouvement. Laissez refroidir la machine avant de la régler, d'en faire l'entretien, de la nettoyer ou de la remiser.
Ne rangez pas la machine ni les bidons de carburant à proximité d'une flamme nue, d'une source d'étincelles ou d'une veilleuse, telle celle d'un chauffe-eau ou autre appareil.
Si vous prévoyez de remiser la machine pendant une durée prolongée, prenez les mesures suivantes avant le remisage.
Coupez le moteur, enlevez la clé, attendez l'arrêt complet de toutes les pièces mobiles et faites refroidir la machine avant de la remiser.
Enlevez les saletés et les débris d'herbe collés sur la tondeuse. Aiguisez les lames et les contre-lames au besoin ; voir le Manuel d'utilisation des unités de coupe. Appliquez un produit anticorrosion sur les contre-lames et les lames. Graissez et huilez tous les points à lubrifier ; voir Graissage de la machine.
Mettez les roues sur cales pour délester les pneus.
Vidangez et remplacez le liquide hydraulique et le filtre, vérifiez l'état des conduites et des raccords hydrauliques. Remplacez-les au besoin ; voir Vidange du liquide hydraulique et Contrôle des flexibles et conduits hydrauliques.
Vidangez le réservoir de carburant. Faites tourner le moteur jusqu'à ce qu'il s'arrête faute de carburant. Remplacez le filtre à carburant ; voir Remplacement du filtre à carburant.
Vidangez le carter moteur quand le moteur est encore chaud. Refaites le plein d'huile neuve ; voir Contrôle du niveau, vidange de l'huile moteur et remplacement du filtre à huile.
Enlevez les bougies, versez 30 ml d'huile SAE 30 dans les cylindres et faites tourner le moteur lentement pour bien répartir l'huile dans le système. Remplacez les bougies ; voir Remplacement des bougies.
Enlevez les saletés et les débris d'herbe sèche sur le cylindre, les ailettes de refroidissement de la culasse et le boîtier du ventilateur.
Déposez la batterie et chargez-la au maximum ; voir Charge de la batterie. Rangez-la sur une étagère ou remettez-la sur la machine. Ne rebranchez pas les câbles si vous remettez la batterie sur la machine. Rangez la batterie dans un endroit frais pour éviter qu'elle ne se décharge trop rapidement.
Dans la mesure du possible, rangez la machine dans un local chaud et sec.