| Intervalo de mantenimiento y servicio | Procedimiento de mantenimiento |
|---|---|
| Cada vez que se utilice o diariamente |
|
Esta máquina es una segadora de green de asiento, equipada con cuchillas de molinete, diseñada para ser usada por operadores profesionales contratados en aplicaciones comerciales. Se ha diseñado principalmente para cortar hierba en césped bien mantenido. El uso de este producto para otros propósitos que los previstos podría ser peligroso para usted y para otras personas.
Lea este manual detenidamente para aprender a utilizar y mantener correctamente su producto, y para evitar lesiones y daños al producto. Usted es responsable de utilizar el producto de forma correcta y segura.
Visite www.Toro.com para obtener más información, incluidos consejos de seguridad, materiales de formación, información sobre accesorios, ayuda para encontrar a un distribuidor o para registrar su producto.
Cuando necesite asistencia técnica, piezas genuinas Toro o información adicional, póngase en contacto con un distribuidor autorizado Toro y tenga a mano los números de modelo y serie de su producto. Figura 1 identifica la ubicación de los números de modelo y serie en el producto. Escriba los números en el espacio provisto.
Important: Con su dispositivo móvil, puede escanear el código QR de la calcomanía del número de serie (en su caso) para acceder a información sobre la garantía, las piezas, y otra información sobre el producto.

Este manual identifica peligros potenciales y contiene mensajes de seguridad identificados por el símbolo de alerta de seguridad (Figura 2), que señala un peligro que puede causar lesiones graves o la muerte si usted no sigue las precauciones recomendadas.

Este manual utiliza 2 palabras más para resaltar información. Importante llama la atención sobre información mecánica especial, y Nota resalta información general que merece una atención especial.
Este producto cumple todas las directivas europeas aplicables; si desea más detalles, consulte la Declaración de Conformidad (Declaration of Conformity – DOC) de cada producto.
El uso o la operación del motor en cualquier terreno forestal, de monte o cubierto de hierba a menos que el motor esté equipado con parachispas (conforme a la definición de la sección 4442) mantenido en buenas condiciones de funcionamiento, o que el motor haya sido fabricado, equipado y mantenido para la prevención de incendios, constituye una infracción de la legislación de California (Sección 4442 o 4443 del California Public Resource Code).
El Manual del propietario del motor adjunto ofrece información sobre las normas de la U.S. Environmental Protection Agency (EPA) y de la California Emission Control Regulation sobre sistemas de emisiones, mantenimiento y garantía. Puede solicitarse un manual nuevo al fabricante del motor.
Si la máquina está equipada con un dispositivo telemático, consulte a su distribuidor autorizado Toro para obtener instrucciones para activar el dispositivo.
CALIFORNIA
Advertencia de la Propuesta 65
Los gases de escape de este producto contienen productos químicos que el Estado de California sabe que causan cáncer, defectos congénitos u otros peligros para la reproducción.
Los bornes, terminales y otros accesorios de la batería contienen plomo y compuestos de plomo, productos químicos reconocidos por el Estado de California como causantes de cáncer y daños reproductivos. Lávese las manos después de manejar el material.
El uso de este producto puede provocar la exposición a sustancias químicas que el Estado de California considera causantes de cáncer, defectos congénitos u otros trastornos del sistema reproductor.
Este producto es capaz de amputar manos y pies y de lanzar objetos al aire.
Lea y comprenda el contenido de este manual del operador antes de arrancar el motor.
Preste toda su atención al utilizar la máquina. No realice ninguna actividad que genere distracciones, de lo contrario pueden producirse lesiones o daños en la propiedad.
No coloque las manos o los pies cerca de componentes en movimiento de la máquina.
No utilice la máquina a menos que tenga instalados y estén en funcionamiento todos los protectores y otros dispositivos de seguridad.
Mantenga a otras personas, especialmente a los niños, alejadas del área de operación. Nunca permita a los niños utilizar la máquina.
Apague la máquina, retire la llave y espere a que se detenga todo movimiento antes de dejar el puesto del operador. Deje que la máquina se enfríe antes de realizar ajustes, tareas de mantenimiento y de limpieza o de guardarla.
El uso o mantenimiento incorrecto de esta máquina puede
causar lesiones. Para reducir el peligro de lesiones, cumpla estas
instrucciones de seguridad y preste atención siempre al símbolo
de alerta de seguridad
, que significa: Cuidado, Advertencia
o Peligro – instrucción relativa a la seguridad personal.
El incumplimiento de estas instrucciones puede dar lugar a lesiones
personales o la muerte.
![]() |
Las calcomanías e instrucciones de seguridad están a la vista del operador y están ubicadas cerca de cualquier zona de peligro potencial. Sustituya cualquier pegatina que esté dañada o que falte. |












Cargue la batería; consulte Carga de la batería.
Piezas necesarias en este paso:
| Perno de cuello cuadrado (5/16" x ¾") | 2 |
| Tuerca (5/16") | 2 |
Monte la batería detrás del asiento con los terminales de la batería orientados hacia la parte delantera de la máquina (Figura 3).
Conecte el cable positivo (rojo) de la batería desde el solenoide del motor de arranque al borne positivo (+) de la batería (Figura 3). Sujételo con un perno de cuello cuadrado y una tuerca.
Important: Asegúrese de que el cable no toca el asiento, cuando éste está en la posición más hacia atrás, puesto que esto podría desgastar o dañar el cable.
Los bornes de la batería o una herramienta metálica podrían hacer cortocircuito si entran en contacto con los componentes metálicos de la máquina, causando chispas. Las chispas podrían hacer explotar los gases de la batería, causando lesiones personales.
Al retirar o colocar la batería, no deje que los bornes toquen ninguna parte metálica de la máquina.
No deje que las herramientas metálicas hagan cortocircuito entre los bornes de la batería y las partes metálicas de la máquina.

Conecte el cable negro de masa (desde la base del motor) al borne negativo (–) de la batería. Sujételo con un perno de cuello cuadrado y una tuerca.
Un enrutado incorrecto de los cables de la batería podría dañar la máquina y los cables, causando chispas. Las chispas podrían hacer explotar los gases de la batería, causando lesiones personales.
Desconecte siempre el cable negativo (negro) de la batería antes de desconectar el cable positivo (rojo).
Conecte siempre el cable positivo (rojo) de la batería antes de conectar el cable negativo (negro).
Aplique una capa de vaselina a ambos bornes.
Instale la abrazadera de la batería y las arandelas y fije todo con las tuercas de orejeta (Figura 3).
Coloque el protector del terminal sobre el borne positivo (+) de la batería.
Piezas necesarias en este paso:
| Perno (½" x 1¾") | 2 |
| Perno (½" x 1½") | 6 |
| Tuerca (½") | 8 |
Retire los tornillos y las tuercas que sujetan el apoyo del gato en el lado derecho de la máquina.
Baje la barra anti-vuelco (Figura 4) sobre los soportes de montaje, alineando los taladros de montaje.

Sujete cada lado de la barra antivuelco al soporte de montaje con 4 pernos (½" x 1½") y contratuercas (Figura 4).
Apriete las fijaciones a 91–115 N·m.
Sujete el lado derecho de la barra antivuelco y el apoyo del gato que retiró anteriormente al soporte de montaje con 2 pernos (½" x 1½"), 2 pernos (½" x 1¾") y contratuercas, según se muestra en la Figura 4.
Apriete las fijaciones a 91–115 N·m.
Si utiliza el vehículo sin tener abrochado el cinturón de seguridad, puede ser expulsado violentamente del asiento y sufrir lesiones en caso de accidente con vuelco.
Utilice siempre el cinturón de seguridad.
Piezas necesarias en este paso:
| Dispositivo telemático | 1 |
| Soporte del dispositivo | 1 |
| Arnés de cables de la telemática | 1 |
| Perno (n.º 10) | 2 |
| Tuerca (N° 10) | 2 |
| Perno en U | 1 |
| Tuerca (⅜") | 2 |
Utilice 2 pernos (n.º 10) y 2 tuercas (n.º 10) para sujetar el dispositivo telemático al soporte del dispositivo (Figura 5).

Utilice un perno en U y 2 tuercas (⅜") para sujetar el soporte del dispositivo a la barra antivuelco (Figura 5).
Instale el conector del dispositivo al conector del arnés de cables de la telemática marcado P02 (Figura 5).
Enrute el arnés de cables hacia abajo por la barra antivuelco y conecte el conector del arnés de cables marcado P01 al conector del arnés de cables de la máquina marcado P48.
Piezas necesarias en este paso:
| Unidad de corte | 3 |
| Recogedor | 3 |
Important: No eleve la suspensión a la posición de transporte cuando los motores del molinete están en los soportes del bastidor de la máquina. Podrían dañarse los motores o los manguitos.
Note: Mientras afila, ajusta la altura de corte o realiza otros procedimientos de mantenimiento sobre las unidades de corte, guarde los motores de los molinetes de las unidades de corte en los tubos de apoyo de la parte delantera del bastidor para evitar dañar las mangueras.
Retire las unidades de corte de sus embalajes. Móntelas y ajústelas según las instrucciones del Manual del operador de la unidad de corte.
Deslice la unidad de corte por debajo del bastidor de tiro mientras acopla el gancho de elevación al brazo de elevación (Figura 6).

Deslice hacia atrás el manguito del casquillo receptor de la articulación esférica y enganche el receptor sobre el espárrago con bola de la unidad de corte. Suelte el manguito para que pueda deslizarse sobre el espárrago, afianzando el conjunto (Figura 7).

Monte los recogedores sobre los bastidores de tiro, afloje las contratuercas de los brazos de tiro y ajuste las rótulas hasta que quede una holgura de 6–13 mm entre el borde del recogedor y las cuchillas del molinete.
Note: Esto impide que el recogedor vuelque hacia adelante la unidad de corte, haciendo que el rodillo de elevación salga del brazo de elevación durante la siega.
Note: Asegúrese de que el borde del recogedor está equidistante de las cuchillas en toda la anchura de cada molinete. Si el recogedor está demasiado cerca del molinete, es posible que el molinete entre en contacto con el recogedor cuando la unidad de corte se eleve del suelo o se baje al suelo.
Alinee las rótulas de las juntas de manera que la cara abierta de la rótula esté centrada respecto a la bola del espárrago, y apriete las contratuercas para fijar la posición de las rótulas (Figura 8).

Asegúrese de que quedan aproximadamente 13 mm de rosca a la vista en cada perno de montaje del motor del molinete (Figura 9).

Cubra el eje acanalado del motor con grasa limpia.
Instale el motor rotándolo en sentido horario hasta que las pestañas del motor estén libres de los pernos, luego gire el motor en sentido antihorario hasta que las pestañas se enganchen en los pernos.
Apriete los pernos de montaje (Figura 9).
Se recomienda el ajuste siguiente a los recogedores de las unidades de corte N.º 2 y N.º 3 como ayuda para alinear la máquina en pasadas de siega sucesivas:
Mida aproximadamente 12,7 cm desde el borde exterior de cada recogedor.
Coloque un trozo de cinta blanca o pinte una raya en cada recogedor, paralelo al borde exterior de cada uno (Figura 10).

Piezas necesarias en este paso:
| Kit de protector CE – Pieza N.º 04440 (se vende por separado) | 1 |
Instale el Kit de protector CE; consulte las instrucciones de instalación del Kit de protector CE – Unidad de tracción a 2 ruedas Greensmaster 3150.
Piezas necesarias en este paso:
| Pegatina con marca CE | 1 |
| Pegatina con el año de fabricación | 1 |
Si utiliza esta máquina en un país que se rija por las normas CE, siga estos pasos después de instalar el Kit de protector CE en la máquina.
Aplique la pegatina con marca CE y la pegatina del año de producción cerca de la placa del número de serie en el soporte del reposapiés (Figura 11).

Los neumáticos se sobreinflan en fábrica para el transporte. Reduzca la presión al nivel correcto antes de arrancar la máquina; consulte Comprobación de la presión de los neumáticos.
Bruña los frenos; consulte Bruñido de los frenos.

El pedal de tracción (Figura 13) tiene 3 funciones: desplazar la máquina hacia adelante, desplazarla hacia atrás, y parar la máquina. Pise la parte superior del pedal para desplazarse hacia delante y la parte inferior para desplazarse hacia atrás, o para ayudar en el frenado al desplazarse hacia adelante. Deje que el pedal se desplace a la posición de PUNTO MUERTO para detener la máquina. No apoye el talón en la sección de marcha atrás al conducir hacia adelante (Figura 13).


Pise el pedal de freno (Figura 13) para detener la máquina con los frenos de las ruedas delanteras.
Para poner el freno de estacionamiento, pise el pedal de freno y, a continuación, pise el pedal de bloqueo (Figura 13) para accionar los frenos. Pise el pedal de freno para quitar el bloqueo. Accione el freno de estacionamiento antes de dejar la máquina desatendida.
Con la palanca del acelerador (Figura 15) puede controlar la velocidad del motor. Al mover la palanca del acelerador hacia la posición de RáPIDO se aumenta la velocidad del motor; al moverla hacia LENTO disminuye la velocidad del motor, pero no se apaga el motor.

Para arrancar el motor cuando está frío, cierre el estárter del carburador empujando la palanca del estárter hacia delante (Figura 15) a la posición de CERRADO. Después de que el motor arranque, regule la palanca del estárter para que el motor siga funcionando suavemente. Lo antes posible, abra el estárter tirando de la palanca hacia atrás, a la posición de ABIERTO. Si el motor está caliente, no será necesario usar el estárter, o sólo muy poco.
Utilice el interruptor (Figura 15) para comprobar el funcionamiento de la alarma y la demora del detector de fugas.
El contador de horas (Figura 15) muestra el número total de horas de operación de la máquina. Comienza a funcionar cuando se gira el interruptor de encendido a la posición de CONECTADO.
La palanca de ajuste del asiento está situada en el lado izquierdo del asiento (Figura 16). La palanca desbloquea el asiento y permite ajustar el asiento 10 cm hacia adelante y hacia atrás.

Si se mueve el control de elevación/bajada de las unidades de corte (Figura 17) hacia adelante durante la siega, se bajan las unidades de corte y se ponen en movimiento los molinetes. Tire del control hacia atrás para parar los molinetes y elevar las unidades de corte. Para parar los molinetes sin elevar las unidades de corte, tire hacia atrás del control momentáneamente y suéltelo; vuelva a arrancar los molinetes moviendo el control hacia adelante.

La palanca de control funcional (Figura 17) ofrece dos selecciones de tracción, más una posición de punto muerto. Está permitido cambiar de segar a transporte, o de transporte a segar (no a punto muerto) con la máquina en movimiento; no se producirá daño alguno.
Posición TRASERA – punto muerto; utilice esta posición para autoafilar los molinetes
Posición CENTRAL – utilice esta posición para la siega
Posición DELANTERA – utilice esta posición para conducir la máquina entre diferentes lugares de trabajo
Introduzca la llave de contacto (Figura 17) y gírela en sentido horario a la posición de ARRANQUE para arrancar el motor. Suelte la llave en cuanto arranque el motor; la llave vuelve a la posición de CONECTADO. Gire la llave hacia la izquierda, a la posición PARADA para parar el motor.
Gire la palanca (Figura 18) hacia adelante para aflojar el ajuste, eleve o baje el volante a la posición más cómoda, luego gire la palanca hacia atrás para apretar el ajuste.

Afloje el pomo (Figura 19) hasta que el cuello del pomo salga de las muescas del brazo de dirección. Eleve o baje el brazo de dirección a la altura deseada mientras alinea el cuello del pomo con la muesca del brazo de dirección. Apriete el pomo para afianzar el ajuste.

Cierre la válvula de cierre de combustible (Figura 20) (debajo del depósito de combustible) antes de almacenar la máquina o de transportarla en un camión o un remolque.

La palanca de autoafilado (Figura 21) se utiliza con la palanca de control de elevación/bajada y el control de velocidad de los molinetes para autoafilar los molinetes.

Utilice el control de velocidad de los molinetes (Figura 21) para ajustar la velocidad de los molinetes.
Note: Las especificaciones y diseños están sujetos a modificación sin previo aviso.
| Anchura de corte | 150 cm |
| Distancia entre ruedas | 126 cm |
| Distancia entre ejes | 119 cm |
| Longitud total | 229 cm |
| Anchura total | 177 cm |
| Altura total | 189 cm |
| Peso neto | 493 kg |
Está disponible una selección de aperos y accesorios homologados por Toro que se pueden utilizar con la máquina a fin de potenciar y aumentar sus prestaciones. Póngase en contacto con su servicio técnico autorizado o con su distribuidor Toro autorizado, o bien visite www.Toro.com para obtener una lista de todos los aperos y accesorios homologados.
Para asegurar un rendimiento óptimo y mantener la certificación de seguridad de la máquina, utilice solamente piezas y accesorios genuinos Toro. Las piezas de repuesto y accesorios de otros fabricantes podrían ser peligrosos, y su uso podría invalidar la garantía del producto.
Note: Los lados derecho e izquierdo de la máquina se determinan desde la posición normal del operador.
No deje nunca que la máquina sea utilizada o mantenida por niños o por personas que no hayan recibido la formación adecuada al respecto. La normativa local puede imponer límites sobre la edad del operador. El propietario es responsable de proporcionar formación a todos los operadores y mecánicos.
Familiarícese con la operación segura del equipo, los controles del operador y las señales de seguridad.
Accione el freno de estacionamiento, apague la máquina, retire la llave y espere a que se detenga todo movimiento antes de dejar el puesto del operador. Deje que la máquina se enfríe antes de realizar ajustes, tareas de mantenimiento y de limpieza o de guardarla.
Sepa cómo detener la máquina y apagar la máquina rápidamente.
Compruebe que los controles de presencia del operador, los interruptores de seguridad y los dispositivos protectores de seguridad están colocados y que funcionan correctamente. No utilice la máquina si no funcionan correctamente.
Antes de segar, siempre inspeccione la máquina para asegurarse de que las unidades de corte están en buenas condiciones de funcionamiento.
Inspeccione la zona en la que va a utilizar la máquina y retire cualquier objeto que pudiera ser arrojado por la máquina.
Extreme las precauciones al manejar el combustible. Es inflamable y sus vapores son explosivos.
Apague cualquier cigarrillo, cigarro, pipa u otra fuente de ignición.
Utilice solamente un recipiente de combustible homologado.
No retire la tapa de combustible ni llene el depósito de combustible si el motor está en marcha o está caliente.
No añada ni drene combustible en un lugar cerrado.
No guarde la máquina o un recipiente de combustible en un lugar donde pudiera haber una llama desnuda, chispas o una llama piloto, por ejemplo en un calentador de agua u otro electrodoméstico.
Si se derrama combustible, no intente arrancar el motor; evite crear fuentes de ignición hasta que los vapores del combustible se hayan disipado.
Capacidad del depósito de combustible: 26,6 litros
Combustible recomendado: gasolina sin plomo con un octanaje de 87 o más (método (R + M)/2)
Etanol: Es aceptable el uso de gasolina con hasta el 10 % de etanol (gasohol) o el 15 % de MTBE (éter metil tert-butílico) por volumen. El etanol y el MTBE no son lo mismo. No está autorizado el uso de gasolina con el 15 % de etanol (E15) por volumen.
No utilice nunca gasolina que contenga más del 10 % de etanol por volumen, como por ejemplo la E15 (contiene el 15 % de etanol), la E20 (contiene el 20 % de etanol) o la E85 (contiene hasta el 85 % de etanol).
No utilice combustible que contenga metanol.
No guarde combustible en el depósito de combustible o en recipientes de combustible durante el invierno, a menos que utilice un estabilizador de combustible.
No añada aceite a la gasolina.
Para obtener los mejores resultados, utilice solamente gasolina fresca (comprada hace menos de 30 días).
El uso de gasolina no autorizada puede causar problemas de rendimiento o daños en el motor que pueden no estar cubiertos bajo la garantía.
Important: No utilice aditivos de combustible salvo un estabilizador/acondicionador de combustible. No use estabilizadores a base de alcohol, tales como etanol, metanol o isopropanol.
Limpie alrededor del tapón de combustible y retírelo (Figura 22).

Añada combustible del tipo especificado al depósito de combustible hasta que el nivel esté a 25 mm por debajo del extremo inferior del cuello de llenado.
Este espacio vacío en el depósito permite la dilatación del combustible. No llene completamente el depósito de combustible.
Coloque el tapón.
Note: Oirá un clic cuando el tapón esté encajado.
Limpie cualquier combustible derramado.
| Intervalo de mantenimiento y servicio | Procedimiento de mantenimiento |
|---|---|
| Cada vez que se utilice o diariamente |
|
Antes de arrancar la máquina cada día, haga lo siguiente:
Compruebe el nivel del aceite del motor; consulte Comprobación del aceite del motor.
Compruebe el nivel del fluido hidráulico; consulte Comprobación del nivel de fluido hidráulico.
Compruebe el contacto entre el molinete y la contracuchilla; consulte Comprobación del contacto molinete-contracuchilla.
Compruebe la presión de los neumáticos; consulte Comprobación de la presión de los neumáticos.
El propietario/operador puede prevenir y es responsable de cualquier accidente que pudiera provocar lesiones personales o daños materiales.
Lleve ropa adecuada, incluida protección ocular, pantalones largos, calzado resistente y antideslizante y protección auricular. Si tiene el pelo largo, recójaselo, y no lleve prendas o joyas sueltas.
No utilice la máquina si está enfermo, cansado o bajo la influencia de alcohol o drogas.
Preste toda su atención al utilizar la máquina. No realice ninguna actividad que genere distracciones, de lo contrario pueden producirse lesiones o daños en la propiedad.
Antes de arrancar el motor, asegúrese de que todas las transmisiones están en punto muerto, de que el freno estacionamiento está accionado y de que usted se encuentra en la posición del operador.
No lleve pasajeros en la máquina.
Mantenga a otras personas, especialmente a los niños, alejadas del área de operación. Si es necesario que estén presentes otros trabajadores, tenga cuidado y asegúrese de que los recogedores están instalados en la máquina.
Utilice la máquina únicamente con buena visibilidad para evitar agujeros y peligros ocultos.
Evite segar la hierba mojada. La reducción de la tracción podría hacer que la máquina se resbalara.
Mantenga las manos y los pies alejados de las unidades de corte.
Mire hacia atrás y hacia abajo antes de poner marcha atrás para asegurarse de que el camino está despejado.
Tenga cuidado al acercarse a esquinas ciegas, arbustos, árboles u otros objetos que puedan dificultar la visión.
Pare las unidades de corte si no está segando.
Vaya más despacio y tenga cuidado al girar y al cruzar calles y aceras con la máquina. Ceda el paso siempre.
Accione el motor únicamente en áreas bien ventiladas. Los gases de escape contienen monóxido de carbono, que resulta letal si se inhala.
No deje la máquina desatendida mientras esté funcionando.
Antes de abandonar la posición del operador, haga lo siguiente:
Aparque la máquina en una superficie nivelada.
Baje las unidades de corte al suelo y asegúrese de que están desengranadas.
Accione el freno de estacionamiento.
Apague el motor y retire la llave.
Espere a que se detenga todo movimiento.
Utilice la máquina únicamente si existen condiciones meteorológicas y de visibilidad adecuadas. No utilice la máquina cuando exista riesgo de caída de rayos.
No retire ninguno de los componentes del ROPS de la máquina.
Asegúrese de abrocharse el cinturón de seguridad y de que puede desabrocharlo rápidamente en caso de emergencia.
Lleve puesto siempre el cinturón de seguridad.
Compruebe detenidamente si hay obstrucciones sobre la máquina y no entre en contacto con ellas.
Mantenga el ROPS en condiciones seguras de funcionamiento, inspeccionándolo periódicamente en busca de daños y manteniendo bien apretados todas las fijaciones de montaje.
Sustituya todos los componentes del ROPS dañados. No los repare ni los modifique.
Las pendientes son una de las principales causas de accidentes por pérdida de control y vuelcos, que pueden causar lesiones graves o la muerte. Usted es responsable de la seguridad cuando trabaja en pendientes. La conducción de la máquina en pendientes requiere extremar la precaución.
Evalúe las condiciones del lugar de trabajo para determinar si es seguro trabajar en la pendiente con la máquina; puede ser necesario realizar un estudio detallado de la zona. Aplique siempre el sentido común y un buen criterio a la hora de realizar esta valoración.
Revise las instrucciones sobre pendientes, que se indican a continuación, para conducir la máquina en pendientes. Antes de utilizar la máquina, revise las condiciones del lugar de trabajo para determinar si la máquina puede utilizarse en las condiciones reinantes en un día y un lugar determinados. Los cambios en el terreno pueden producir un cambio en el funcionamiento de la máquina en pendientes.
Evite arrancar, parar o girar la máquina en cuestas o pendientes. Evite realizar cambios bruscos de velocidad o de dirección. Realice giros de forma lenta y gradual.
No utilice la máquina en condiciones que puedan comprometer la tracción, la dirección o la estabilidad de la máquina.
Retire o señale obstrucciones como terraplenes, baches, surcos, montículos, rocas u otros peligros ocultos. La hierba alta puede ocultar obstrucciones. Un terreno irregular podría hacer volcar la máquina.
Tenga en cuenta que conducir en hierba mojada, atravesar pendientes empinadas, o bajar cuestas puede hacer que la máquina pierda tracción. La pérdida de tracción de las ruedas motrices puede hacer que la máquina patine, así como sufrir pérdida de frenado o de dirección.
Extreme las precauciones cuando utilice la máquina cerca de terraplenes, fosas, taludes, obstáculos de agua u otros obstáculos. La máquina podría volcar repentinamente si una rueda pasa por el borde de un terraplén o fosa, o si se socava un talud. Establezca un área de seguridad entre la máquina y cualquier peligro.
Identifique peligros situados en la base de la pendiente. Si hay algún peligro, siegue la pendiente con una máquina controlada por un peatón.
Si es posible, mantenga las unidades de corte bajadas hasta el suelo al utilizar la máquina en pendientes. Si las unidades de corte se elevan en pendientes, la máquina puede desestabilizarse.
Extreme las precauciones cuando utilice sistemas de recogida de hierba u otros accesorios. Estos pueden cambiar la estabilidad de la máquina y causar pérdidas de control.
Consulte el manual del motor, suministrado con la máquina, si desea información sobre los procedimientos de cambio de aceite y mantenimiento recomendados durante el periodo de rodaje.
Sólo se necesitan 8 horas de uso para completar el periodo de rodaje.
Puesto que las primeras horas de operación son de vital importancia para la futura fiabilidad de la máquina, usted debe vigilar de cerca su rendimiento y sus funciones para poder observar y corregir pequeñas dificultades que podrían convertirse en problemas importantes. Inspeccione la máquina frecuentemente durante el rodaje buscando señales de fugas de aceite, cierres sueltos o cualquier otra señal de funcionamiento indebido.
Note: Inspeccione las zonas de debajo de las segadoras para asegurarse de que están libres de residuos.
Siéntese en el asiento, asegúrese de que el freno de estacionamiento está puesto, desengrane el control de elevación/bajada de las unidades de corte y mueva la palanca de control funcional a PUNTO MUERTO.
Retire el pie del pedal de tracción y asegúrese de que el pedal está en la posición de PUNTO MUERTO.
Mueva la palanca del estárter a la posición de CONECTADO (sólo si el motor está frío) y la palanca del acelerador a la posición INTERMEDIA.
Arranque el motor y regule el estárter para que siga funcionando suavemente.
Lo antes posible, abra el estárter tirando del mismo hacia atrás a la posición de DESACTIVADO.
Note: Si el motor está caliente, no será necesario usar el estárter, o sólo muy poco.
Compruebe la máquina utilizando los procedimientos siguientes una vez que el motor arranque.
Mueva la palanca del acelerador a la posición de RáPIDO.
Mueva la palanca de control de tracción a la posición de SIEGA y engrane momentáneamente los molinetes moviendo hacia adelante la palanca de control de elevación/bajada de las unidades de corte.
Las unidades de corte deben bajar y todos los molinetes deben girar.
Mueva la palanca de control de elevación/bajada de las unidades de corte hacia atrás hasta que las unidades de corte se eleven completamente a la posición de transporte.
Las unidades de corte dejan de girar en cuanto empiezan a elevarse. Si suelta la palanca antes de que las unidades de corte estén elevadas del todo, dejarán de elevarse, pero seguirán sin girar.
Bloquee el freno de estacionamiento y apague el motor.
Compruebe el borde de cada recogedor para asegurarse de que no está en contacto con el molinete durante la operación.
Ajuste los brazos de tiro si observa algún contacto; consulte Instalación de las unidades de corte.
Compruebe que no hay fugas de aceite, y apriete los acoplamientos hidráulicos si encuentra alguna.
Note: Cuando la máquina está nueva y los cojinetes y los molinetes están apretados, es necesario utilizar la posición de RáPIDO de la palanca del acelerador para esta comprobación. Es posible que no sea necesario usar el ajuste Rápido después del periodo de rodaje.
Note: Si siguen apareciendo fugas de aceite, póngase en contacto con su distribuidor autorizado Toro para solicitar ayuda y, si fuera necesario, piezas de repuesto.
Important: Un poco de aceite en las juntas del motor o de las ruedas es normal. Las juntas requieren una pequeña cantidad de lubricante para funcionar correctamente.
Mueva la palanca del acelerador a la posición de RáPIDO.
Mueva la palanca de control de elevación/bajada momentáneamente hacia adelante.
Las unidades de corte deben bajar y todos los molinetes deben girar.
Note: La palanca funcional debe estar en la posición central (siega) para que los molinetes giren mientras bajan las unidades de corte
Mueva la palanca de control de elevación/bajada de las unidades de corte hacia atrás.
Los molinetes deben dejar de rotar y las unidades de corte deben elevarse completamente hasta la posición de transporte.
Ponga el freno para que la máquina no pueda desplazarse, y pise el pedal de tracción en las posiciones de marcha hacia delante y marcha atrás.
Continúe el procedimiento anterior durante 1–2 minutos. Mueva la palanca de control funcional a la posición de PUNTO MUERTO, bloquee el freno de estacionamiento y apague el motor.
Compruebe que no haya fugas de fluido y apriete los acoplamientos hidráulicos si encuentra alguna fuga.
Note: Cuando la máquina está nueva y los cojinetes y los molinetes están apretados, es necesario utilizar la posición de RáPIDO de la palanca del acelerador para esta comprobación. Es posible que no sea necesario usar el ajuste Rápido después del periodo de rodaje.
Note: Si siguen apareciendo fugas de fluido, póngase en contacto con su distribuidor Toro autorizado para solicitar ayuda y, en caso de necesidad, piezas de repuesto.
Important: Un poco de fluido en las juntas del motor o de las ruedas es normal. Las juntas requieren una pequeña cantidad de lubricante para funcionar correctamente.
Mueva la palanca del acelerador a la posición de LENTO, mueva hacia atrás el control de elevación/bajada de las unidades de corte y mueva la palanca de control funcional a PUNTO MUERTO.
Gire la llave de arranque a la posición DESCONECTADO para apagar el motor. Retire la llave de contacto para evitar un arranque accidental.
Cierre la válvula de cierre de combustible antes de almacenar la máquina.
| Intervalo de mantenimiento y servicio | Procedimiento de mantenimiento |
|---|---|
| Cada vez que se utilice o diariamente |
|
Si los interruptores de seguridad son desconectados o están dañados, la máquina podría ponerse en marcha inesperadamente, causando lesiones personales.
No manipule los interruptores de seguridad.
Compruebe la operación de los interruptores de seguridad cada día, y sustituya cualquier interruptor dañado antes de operar la máquina.
El propósito del sistema de interruptores de seguridad es impedir la operación de la máquina cuando hay riesgo de lesiones para usted o daños a la máquina.
El sistema de interruptores de seguridad impide que el motor arranque, a menos que:
El pedal de tracción se encuentra en la posición de PUNTO MUERTO.
La palanca de control funcional se encuentra en la posición de PUNTO MUERTO.
El sistema de interruptores de seguridad impide que la máquina se desplace, a menos que:
El freno de estacionamiento esté quitado.
Usted está sentado en el asiento del operador.
La palanca de control funcional se encuentra en la posición de SIEGA o de TRANSPORTE.
El sistema de interruptores de seguridad impide que se pongan en marcha los molinetes a menos que la palanca de control funcional esté en la posición de SIEGA.
| Intervalo de mantenimiento y servicio | Procedimiento de mantenimiento |
|---|---|
| Cada vez que se utilice o diariamente |
|
Realice las siguientes comprobaciones del sistema cada día para garantizar que el sistema de seguridad funciona correctamente:
Siéntese en el asiento, mueva el pedal de tracción a la posición de PUNTO MUERTO, mueva la palanca de control funcional a la posición de PUNTO MUERTO y accione el freno de estacionamiento.
Intente mover el pedal de tracción hacia adelante o hacia atrás.
El pedal no debe desplazarse, lo que indica que el sistema de seguridad funciona correctamente. Corrija el problema si el funcionamiento no es el correcto.
Siéntese en el asiento, mueva el pedal de tracción a la posición de PUNTO MUERTO, mueva la palanca de control funcional a la posición de PUNTO MUERTO y accione el freno de estacionamiento.
Mueva la palanca de control funcional a la posición de PUNTO MUERTO o la posición de TRANSPORTE e intente arrancar el motor.
El motor no debe girar o arrancar, lo que indica que el sistema de seguridad funciona correctamente. Corrija el problema si el funcionamiento no es el correcto.
Siéntese en el asiento, mueva el pedal de tracción a la posición de PUNTO MUERTO, mueva la palanca de control funcional a la posición de PUNTO MUERTO y accione el freno de estacionamiento.
Arranque el motor y mueva la palanca de control funcional a la posición de SIEGA o a la posición de TRANSPORTE.
El motor debe apagarse, lo que indica que el sistema de seguridad funciona correctamente.
Corrija el problema si el funcionamiento no es el correcto.
Siéntese en el asiento, mueva el pedal de tracción a la posición de PUNTO MUERTO, mueva la palanca de control funcional a la posición de PUNTO MUERTO y accione el freno de estacionamiento.
Arranque el motor.
Quite el freno de estacionamiento, mueva la palanca de control funcional a la posición de SEGAR y levántese del asiento.
El motor debe apagarse, lo que indica que el sistema de seguridad funciona correctamente. Corrija el problema si el funcionamiento no es el correcto.
Siéntese en el asiento, mueva el pedal de tracción a la posición de PUNTO MUERTO, mueva la palanca de control funcional a la posición de PUNTO MUERTO y accione el freno de estacionamiento.
Arranque el motor.
Mueva la palanca de control de elevación/bajada de las unidades de corte hacia adelante para bajar las unidades de corte. Las unidades de corte deben bajar pero no deben empezar a girar.
Si empiezan a girar, el sistema de seguridad no funciona correctamente; corrija el problema antes de utilizar la máquina.
Asegúrese de que las unidades de corte estén totalmente elevadas.
Mueva la palanca de control funcional a la posición de TRANSPORTE.
Utilice los frenos para ralentizar la máquina al bajar cuestas empinadas para evitar perder el control.
Siempre acérquese a terrenos irregulares a velocidad reducida y tenga cuidado al atravesar zonas muy onduladas.
Familiarícese con la anchura de la máquina. No intente pasar entre objetos que están muy juntos, para evitar costosos daños y tiempo de reparación.
Important: Si la alarma del detector de fugas (si el modelo está equipado con una) suena o si observa una fuga de aceite mientras siega un green, eleve las unidades de corte inmediatamente, lleve la máquina directamente fuera del green y pare la máquina en una zona alejada del green. Determine la causa de la fuga y corrija el problema.
Antes de segar greens, busque una zona despejada y practique las funciones básicas de la máquina (por ejemplo, arrancar y parar la máquina, elevar y bajar las unidades de corte, y girar).
Asegúrese de que no haya residuos en el green, retire la bandera del hoyo y determine la mejor dirección de siega. La dirección dependerá de la dirección de siega anterior. Siegue siempre con un patrón opuesto al de la siega anterior, de manera que las hojas de hierba tengan menos tendencia a quedar aplastadas y a ser difíciles de atrapar entre las cuchillas del molinete y la contracuchilla.
Acérquese al green con la palanca de control funcional en la posición de SIEGA y el acelerador a toda velocidad.
Empiece en un borde del green para poder utilizar el procedimiento de corte en bandas.
Note: Esto reduce al mínimo la compactación y deja un dibujo atractivo y limpio en los greens.
Mueva hacia adelante la palanca de elevación/bajada de las unidades de corte cuando los bordes delanteros de los recogedores crucen el borde exterior del green.
Note: Este procedimiento baja las unidades de corte al suelo y pone en movimiento los molinetes.
Important: La unidad de corte central baja y se eleva un poco después de las unidades de corte delanteras; por tanto, debe practicar para perfeccionar la sincronización necesaria a fin de minimizar los retoques necesarios después de la siega.
Note: La demora en la elevación y bajada de la unidad de corte central depende de la temperatura del fluido hidráulico. Con fluido hidráulico frío, la demora aumenta. Al aumentar la temperatura del fluido, disminuye la demora.
Debe haber un solape mínimo con las pasadas anteriores.
Note: Para ayudar a mantener una línea recta a través del green y mantener la máquina a la misma distancia de la pasada anterior, imagínese una línea que va desde un punto situado a 1,8–3 m aproximadamente por delante de la máquina, hasta el borde de la parte no segada del green (Figura 24). Incluya el borde exterior del volante como parte de la línea imaginaria, es decir, mantenga el borde del volante alineado con un punto que se mantiene siempre a la misma distancia de la parte delantera de la máquina.
Cuando el borde delantero de los recogedores cruce el borde exterior del green, mueva hacia atrás la palanca de elevación/bajada de las unidades de corte y manténgala en esa posición hasta que se hayan elevado todas las unidades de corte. De este modo se detienen los molinetes y se elevan las unidades de corte.
Important: Sincronice correctamente este paso para segar la mayor parte posible del green sin adentrarse en la zona que lo rodea, con el fin de minimizar la cantidad de hierba a recortar en la periferia del green.
Para ganar tiempo y facilitar la alineación correcta para la pasada siguiente, gire la máquina momentáneamente en la dirección opuesta, y luego gire hacia la parte que todavía no está cortada. Este movimiento es un giro en forma de lágrima (Figura 23), que permite alinear la máquina rápidamente para la pasada siguiente.

Note: Procure que el giro sea lo más corto posible, aunque si hace calor, un arco más amplio minimiza la posibilidad de dañar el césped.

Note: El volante no vuelve a su posición original después de completar un giro.
Important: No pare la máquina nunca en el green con las unidades de corte engranadas, porque pueden producirse daños en el césped. Si detiene la máquina en un green mojado, las ruedas pueden dejar señales o huecos.
Termine de segar el green cortando por la periferia. Cambie la dirección de siega respecto a la siega anterior.
Note: Utilice la palanca del acelerador para ajustar la velocidad de la máquina al cortar la periferia. De esta manera la frecuencia de corte se adapta al green y el anillo tríplex puede verse reducido.
Note: Tenga siempre en cuenta las condiciones climatológicas y las del césped, y asegúrese de cambiar la dirección de siega respecto a la siega anterior.
Cuando termine de segar la periferia del green, pare los molinetes mediante un golpecito hacia atrás en la palanca de elevación/bajada de las unidades de corte, y salga del green. Cuando todas las unidades de corte hayan salido del green, eleve las unidades de corte.
Note: Este paso minimiza la acumulación de recortes en el green.
Vuelva a colocar la bandera.
Vacíe todos los recortes de los recogedores antes de transportar la máquina al green siguiente.
Note: Los recortes de hierba mojados y pesados suponen una carga excesiva en los recogedores y añaden peso innecesario a la máquina, lo que aumenta la carga sobre los sistemas de la máquina (por ejemplo, el motor, el sistema hidráulico y los frenos).
Ponga el freno de estacionamiento, apague el motor, retire la llave y espere a que se detenga todo movimiento antes de abandonar el puesto del operador. Deje que la máquina se enfríe antes de realizar ajustes, tareas de mantenimiento y de limpieza o de guardarla.
Limpie la hierba y los residuos de las unidades de corte y las transmisiones para ayudar a prevenir incendios. Limpie cualquier aceite o combustible derramado.
Cierre el combustible si va a almacenar o transportar la máquina.
Desengrane la transmisión al accesorio siempre que transporte la máquina o no la esté utilizando.
Espere a que se enfríe la máquina antes de guardarla en un recinto cerrado.
Realice el mantenimiento de los cinturones y límpielos cuando sea necesario.
No guarde la máquina o un recipiente de combustible en un lugar donde pudiera haber una llama desnuda, chispas o una llama piloto, por ejemplo en un calentador de agua u otro electrodoméstico.
Remolque únicamente si la máquina tiene un enganche diseñado para el remolcado. Enganche el equipo a remolcar únicamente en el punto de enganche.
Siga las recomendaciones del fabricante del apero sobre los límites de peso de los equipos remolcados y sobre remolcar en pendientes. En las pendientes, el peso del equipo remolcado puede causar una pérdida de tracción y de control.
No deje que suban niños u otras personas en los equipos remolcados.
Conduzca lentamente y deje una distancia de parada mayor mientras se realizan tareas de remolcado.
En caso de emergencia, es posible remolcar la máquina hasta 0,4 km.
Important: No remolque la máquina a más de 3 a 5 km/h, para evitar dañar el sistema de transmisión. Si es necesario trasladar la máquina más de 0,4 km, transpórtela sobre un camión o un remolque.
Localice la válvula de desvío en la bomba (Figura 25).

Abra la válvula de desvío girando la válvula 3 vueltas en sentido antihorario.
Antes de arrancar el motor, apriete la válvula de desvío a 12 N·m.
Important: No arranque el motor con la válvula de desvío abierta.
| Intervalo de mantenimiento y servicio | Procedimiento de mantenimiento |
|---|---|
| Cada vez que se utilice o diariamente |
|
Después de segar, lave a fondo la máquina con una manguera de jardín sin boquilla para evitar que la presión excesiva de agua pueda contaminar y dañar las juntas y los cojinetes. No lave un motor caliente ni las conexiones eléctricas con agua.
Después de limpiar la máquina, haga lo siguiente:
Compruebe que no hay fugas de fluido hidráulico, o daños o desgaste en los componentes mecánicos e hidráulicos.
Compruebe que las cuchillas de las unidades de corte están afiladas.
Lubrique el conjunto del eje del freno con aceite o lubricante en spray SAE 30 para impedir la corrosión y mantener la máquina en condiciones satisfactorias durante la siguiente operación de siega.
Tenga cuidado al cargar o descargar la máquina en/desde un remolque o un camión.
Utilice una rampa de ancho completo para cargar la máquina en un remolque o un camión.
Amarre la máquina firmemente con correas, cadenas, cables o cuerdas. Tanto la correa delantera como la trasera deben orientarse hacia abajo y hacia fuera respecto a la máquina (Figura 26).

Si no se mantiene debidamente la máquina, los sistemas de la máquina podrían fallar de forma prematura, con lo que podría sufrir lesiones usted o causarlas a otras personas.
Mantenga la máquina en condiciones de funcionamiento óptimas, tal y como se indica en estas instrucciones.
Note: Los lados derecho e izquierdo de la máquina se determinan desde la posición normal del operador.
Note: Para descargar una copia gratuita del esquema eléctrico o hidráulico, visite www.toro.com y busque su máquina en el enlace Manuales de la página de inicio.
Important: Consulte los demás procedimientos de mantenimiento del manual del propietario del motor.
Si deja la llave en el interruptor de encendido, alguien podría arrancar el motor accidentalmente y causar lesiones graves a usted o a otras personas.
Retire la llave del interruptor de encendido y desconecte los cables de las bujías antes de realizar cualquier operación de mantenimiento. Aparte los cables para evitar su contacto accidental con las bujías.
Antes de dejar el puesto del operador, realice lo siguiente:
Aparque la máquina en una superficie nivelada.
Desengrane la(s) unidad(es) de corte.
Accione el freno de estacionamiento.
Apague el motor y retire la llave.
Espere a que se detenga todo movimiento.
Deje que los componentes de la máquina se enfríen antes de realizar el mantenimiento.
Si es posible, no realice tareas de mantenimiento con el motor en marcha. Manténgase alejado de las piezas en movimiento.
Apoye la máquina con caballetes siempre que trabaje debajo de la máquina.
Alivie con cuidado la tensión de aquellos componentes que tengan energía almacenada.
Mantenga todas las piezas en buen estado de funcionamiento y todos los herrajes bien apretados.
Sustituya cualquier calcomanía desgastada o deteriorada.
Para garantizar un rendimiento seguro y óptimo de la máquina, utilice únicamente piezas de repuesto genuinas Toro. Las piezas de repuesto de otros fabricantes podrían ser peligrosas y su uso podría invalidar la garantía del producto.
| Intervalo de mantenimiento y servicio | Procedimiento de mantenimiento |
|---|---|
| Después de la primera hora |
|
| Después de las primeras 10 horas |
|
| Después de las primeras 50 horas |
|
| Cada vez que se utilice o diariamente |
|
| Cada 50 horas |
|
| Cada 100 horas |
|
| Cada 200 horas |
|
| Cada 800 horas |
|
| Cada 1000 horas |
|
| Cada 2000 horas |
|
| Cada año |
|
| Cada 2 años |
|
Duplique esta página para su uso rutinario.
| Elemento a comprobar | Para la semana de: | ||||||
|---|---|---|---|---|---|---|---|
| Lun. | Mar. | Miér. | Jue. | Vie. | Sáb. | Dom. | |
| Compruebe el funcionamiento de los interruptores de seguridad. | |||||||
| Compruebe la operación de los instrumentos | |||||||
| Compruebe la alarma del detector de fugas. | |||||||
| Compruebe el funcionamiento de los frenos. | |||||||
| Compruebe el nivel de combustible. | |||||||
| Compruebe el nivel de fluido hidráulico. | |||||||
| Compruebe el nivel de aceite del motor. | |||||||
| Limpie las aletas de refrigeración del motor. | |||||||
| Inspeccione el pre-limpiador del filtro de aire. | |||||||
| Compruebe que no haya ruidos extraños en el motor. | |||||||
| Compruebe el ajuste entre el molinete y la contracuchilla. | |||||||
| Compruebe que las mangueras hidráulicas no están dañadas. | |||||||
| Compruebe que no haya fugas de fluidos. | |||||||
| Compruebe la presión de los neumáticos. | |||||||
| Compruebe el ajuste de altura de corte. | |||||||
| Lubrique todos los puntos de engrase.1 | |||||||
| Lubrique los acoplamientos de siega, elevación y frenos. | |||||||
| Retoque cualquier pintura dañada. | |||||||
|
1. Inmediatamente después de cada lavado, aunque no corresponda a uno de los intervalos citados |
|||||||
| Inspección realizada por: | ||
| Elemento | Fecha | Información |
Note: Si se retira frecuentemente el asiento, puede sustituirse el pasador cilíndrico por un pasador en R (Pieza N.º 3290-467).
Retire el asiento para tener acceso a la zona del bloque de válvulas de la máquina.
Desenganche y levante el asiento, y coloque la varilla de sujeción.
Desconecte los 2 conectores del arnés de cables, debajo del asiento.
Baje el asiento y retire el pasador cilíndrico que fija la varilla de pivote del asiento al bastidor (Figura 27).

Mueva la varilla de pivote del asiento a la izquierda.
Mueva el asiento hacia adelante y levántela para sacarla de la máquina.
Invierta el procedimiento para instalar el asiento.
Si la máquina no está correctamente sujeta, podría caerse y aplastarle a usted o a otras personas.
Antes del mantenimiento, apoye la máquina con soportes fijos o bloques de madera.
Antes de elevar la máquina, baje las unidades de corte. Los puntos de apoyo son los siguientes:
Lado derecho – debajo del apoyo del gato y junto al soporte del ROPS (Figura 28)
Lado izquierdo – debajo del estribo
Atrás – en la horquilla de la rueda giratoria

| Intervalo de mantenimiento y servicio | Procedimiento de mantenimiento |
|---|---|
| Cada 50 horas |
|
Lubrique los engrasadores regularmente con grasa de litio Nº 2.
Los puntos de engrase son:
Conjunto del buje del rodillo trasero, o si está equipado con un kit de tracción a 3 ruedas, los embragues de rodillo de las ruedas traseras y el cojinete de bolas externo (1) (Figura 29).

Eje de la horquilla de dirección (1) (Figura 30)
Rótula del cilindro de dirección (Figura 30)

Pivote del brazo de elevación (3) y bisagra del pivote (3) (Figura 31)

Eje y rodillo del bastidor de tiro (12) (Figura 32)

Extremo del cilindro de dirección (Figura 33)

Cilindros de elevación (3) (Figura 34)

Pedal de tracción (Figura 35)

Acoplamiento del selector de velocidad (Figura 36 y Figura 37)


Limpie los puntos de engrase para evitar que penetre materia extraña en el cojinete o casquillo.
Bombee grasa en el cojinete o casquillo hasta que la grasa sea visible. Limpie cualquier exceso de grasa.
Aplique grasa en el eje del motor del molinete y en el brazo de elevación cada vez que retire la unidad de corte para su mantenimiento.
Aplique unas gotas de aceite de motor SAE 30 o lubricante en spray (WD 40) a todos los puntos de pivote cada día después de la limpieza.
Apague el motor antes de comprobar el aceite o añadir aceite al cárter.
No cambie la velocidad del regulador ni haga funcionar el motor a una velocidad excesiva.
| Intervalo de mantenimiento y servicio | Procedimiento de mantenimiento |
|---|---|
| Cada 50 horas |
|
| Cada 100 horas |
|
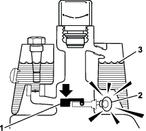
Limpie la cubierta del limpiador de aire (Figura 38).

Abra los enganches y retire la tapa del limpiador de aire.
Retire la tuerca de orejeta que sujeta los elementos a la carcasa del limpiador de aire (Figura 39).
Si el elemento de espuma está sucio, sepárelo del elemento de papel (Figura 39). Límpielo a fondo, de la manera siguiente:
Lave el elemento de espuma con una solución de jabón líquido y agua templada. Apriételo para eliminar la suciedad.
Seque el filtro envolviéndolo en un paño limpio. Apriete el trapo y el elemento de espuma para secarlo.
Important: No retuerza el elemento de espuma para secarlo; la espuma podría romperse.

Compruebe la condición del elemento de papel. Límpielo golpeándolo suavemente en una superficie plana, o cámbielo si es necesario.
Instale el elemento de espuma, el elemento de papel, la tuerca de orejeta y la tapa del limpiador de aire.
Important: No haga funcionar el motor sin el elemento del limpiador de aire porque lo más probable es que se produzca un desgaste extremo y daños en el motor.
El motor se suministra con aceite en el cárter; sin embargo, debe comprobar el nivel de aceite antes y después de arrancar el motor por primera vez.
Clasificación API del aceite: SJ o superior
Viscosidad del aceite: SAE 30
Note: Utiliza cualquier aceite detergente de alta calidad.
| Intervalo de mantenimiento y servicio | Procedimiento de mantenimiento |
|---|---|
| Cada vez que se utilice o diariamente |
|
Aparque la máquina en una superficie nivelada, apague el motor y retire la llave.
Desenrosque la varilla, retírela y límpiela con un trapo limpio.
Introduzca la varilla en el tubo y enrósquela en el tubo (Figura 40).

Desenrosque la varilla, retírela del tubo y compruebe el nivel de aceite.
Si el nivel de aceite es bajo, retire el tapón de llenado de la cubierta de la válvula, y vierta aceite en el motor por el cuello de llenado hasta que el nivel de aceite llegue a la marca LLENO de la varilla.
Añada el aceite lentamente y compruebe el nivel a menudo durante este proceso.
Important: No llene el motor con demasiado aceite.
Instale el tapón de llenado y la varilla.
| Intervalo de mantenimiento y servicio | Procedimiento de mantenimiento |
|---|---|
| Cada 100 horas |
|
Cantidad de aceite del motor: 1,4 litros con el filtro
Retire el tapón de vaciado (Figura 41) y deje fluir el aceite a un recipiente apropiado.

Limpie las roscas del tapón de vaciado, aplique sellador de PTFE, e instale el tapón de vaciado (Figura 41).
Retire el filtro de aceite (Figura 41).
Aplique una capa ligera de aceite limpio a la junta del filtro nuevo.
Enrosque el filtro de aceite en el motor a mano hasta que la junta entre en contacto con el adaptador del filtro, luego apriete el filtro entre ¾ y 1 vuelta más.
Important: No apriete demasiado el filtro de aceite.
Añada aceite al cárter; consulte Especificación del aceite del motor y Comprobación del aceite del motor.
Elimine correctamente el aceite usado y el filtro de aceite.
| Intervalo de mantenimiento y servicio | Procedimiento de mantenimiento |
|---|---|
| Cada 1000 horas |
|
Especificación de la bujía: Champion RC 14YC
Especificación del hueco entre electrodos: 0,76 mm
Limpie la zona alrededor de las bujías para que no pueda caer suciedad en el cilindro.
Retire los cables de las bujías y retire las bujías.
Compruebe el estado del electrodo lateral, el electrodo central y el aislamiento del electrodo central para verificar que no están dañados.
Important: Cualquier bujía agrietada, sucia o de otra manera deteriorada debe ser cambiada. No limpie los electrodos con chorro de arena, ni los rasque ni utilice un cepillo de alambre, porque pueden desprenderse partículas de la bujía que caerán dentro del cilindro y pueden dañar el motor.
Ajuste la distancia entre los electrodos central y lateral a 0,76 mm, tal y como se muestra en la Figura 42).

Instale la bujía y la junta, y apriete la bujía a 23 N·m.
| Intervalo de mantenimiento y servicio | Procedimiento de mantenimiento |
|---|---|
| Cada 800 horas |
|
El filtro de combustible en línea se encuentra en el tubo de combustible, entre el depósito de combustible y el carburador (Figura 43).
En ciertas condiciones, el combustible es extremadamente inflamable y altamente explosivo. Un incendio o una explosión provocados por el combustible puede causarle quemaduras a usted y a otras personas así como daños materiales.
Drene el combustible del depósito cuando el motor esté frío. Realice esta operación en un área abierta. Limpie cualquier combustible derramado.
No fume nunca mientras drena el combustible y manténgase alejado de llamas desnudas o de lugares donde una chispa pueda inflamar los vapores de combustible.
Cierre la válvula de cierre del combustible (Figura 43).

Coloque un recipiente debajo del filtro, afloje la abrazadera en el lado del carburador del filtro y retire el tubo de combustible del filtro (Figura 43).
Afloje la otra abrazadera y retire el filtro (Figura 43).
Instale el filtro nuevo con la flecha del filtro apuntando hacia el carburador.
| Intervalo de mantenimiento y servicio | Procedimiento de mantenimiento |
|---|---|
| Cada 2 años |
|
Compruebe que los tubos de combustible no están deteriorados o dañados, y que las conexiones no están sueltas.
Desconecte la batería antes de reparar la máquina. Desconecte primero el terminal negativo y luego el positivo. Conecte primero el terminal positivo y luego el negativo.
Cargue la batería en una zona abierta y bien ventilada, lejos de chispas y llamas. Desenchufe el cargador antes de conectar o desconectar la batería. Lleve ropa protectora y utilice herramientas aisladas.
Los bornes de la batería o una herramienta metálica podrían hacer cortocircuito si entran en contacto con los componentes metálicos de la máquina, causando chispas. Las chispas podrían hacer explotar los gases de la batería, causando lesiones personales.
Al retirar o colocar la batería, no deje que los bornes toquen ninguna parte metálica de la máquina.
No deje que las herramientas metálicas hagan cortocircuito entre los bornes de la batería y las partes metálicas de la máquina.
Desconecte el cable negativo (negro) y luego el cable positivo (rojo) de la batería (Figura 44).

Un enrutado incorrecto de los cables de la batería podría dañar el tractor y los cables, causando chispas. Las chispas podrían hacer explotar los gases de la batería, causando lesiones personales.
Desconecte siempre el cable negativo (negro) de la batería antes de desconectar el cable positivo (rojo).
Retire las fijaciones y la abrazadera de la batería y retire la batería.
Conecte un cargador de batería de 2 a 4 amperios a los bornes de la batería. Cargue la batería durante al menos 2 horas a 4 amperios o durante al menos 4 horas a 2 amperios, hasta que la gravedad específica sea de 1,250 o más y la temperatura sea de al menos 16 °C con todas las celdas liberando gas.
El proceso de carga de la batería produce gases que pueden explotar.
No fume nunca cerca de la batería, y mantenga alejados de la batería chispas y llamas.
Important: Si no carga la batería durante al menos el tiempo especificado, puede acortar la vida de la batería.
Cuando la batería esté cargada, desconecte el cargador de la toma de electricidad, luego de los bornes de la batería.
Coloque la batería en la bandeja de la batería y sujétela con la abrazadera y las fijaciones que retiró anteriormente.
Conecte el cable positivo (rojo) al borne positivo (+) y luego el cable negativo (negro) al borne negativo (-) de la batería (Figura 44), y sujételos usando los pernos y las tuercas que se retiraron anteriormente. Deslice la cubierta de goma sobre el terminal positivo para evitar posibles cortocircuitos eléctricos.
Un enrutado incorrecto de los cables de la batería podría dañar el tractor y los cables, causando chispas. Las chispas podrían hacer explotar los gases de la batería, causando lesiones personales.
Conecte siempre el cable positivo (rojo) de la batería antes de conectar el cable negativo (negro).
Los fusibles del sistema eléctrico de la máquina están situados debajo del asiento (Figura 45).

| Intervalo de mantenimiento y servicio | Procedimiento de mantenimiento |
|---|---|
| Cada vez que se utilice o diariamente |
|
Varíe la presión de las ruedas delanteras, dependiendo de las condiciones del césped, desde un mínimo de 0,55 bar a un máximo de 0,83 bar.
Varíe la presión del neumático de la rueda trasera desde un mínimo de 0,55 bar a un máximo de 1,03 bar.
| Intervalo de mantenimiento y servicio | Procedimiento de mantenimiento |
|---|---|
| Después de la primera hora |
|
| Después de las primeras 10 horas |
|
| Cada 200 horas |
|
Especificación del par de apriete de las tuercas de los bujes de las ruedas: 420 a 461 N·m
| Intervalo de mantenimiento y servicio | Procedimiento de mantenimiento |
|---|---|
| Después de la primera hora |
|
| Después de las primeras 10 horas |
|
| Cada 200 horas |
|
Si no se mantienen correctamente apretadas las tuercas de las ruedas, podrían producirse lesiones personales.
Apriete las tuercas de las ruedas al par especificado en los intervalos especificados.
Especificación del par de apriete de las tuercas de las ruedas:95 a 122 N·m
Note: Para asegurar una distribución uniforme, apriete las tuercas de las ruedas siguiendo un patrón en forma de X.
Si la máquina se desplaza cuando el pedal de control de tracción está en PUNTO MUERTO, ajuste el mecanismo de retorno a punto muerto.
Coloque bloques debajo del bastidor de manera que una de las ruedas delanteras esté levantada del suelo.
Note: Si la máquina está equipada con un kit de tracción a 3 ruedas, eleve y bloquee la rueda trasera.
Arranque el motor, ponga el acelerador en la posición de LENTO y compruebe que la rueda delantera que está levantada del suelo no gira.
Si la rueda está girando, pare el motor y proceda de la manera siguiente:
Afloje las dos contratuercas que fijan el cable de control de tracción a la escuadra del hidrostato (Figura 46). Asegúrese de aflojar ambas contratuercas uniformemente, y lo suficiente como para permitir el ajuste.

Note: Afloje la tuerca que sujeta el excéntrico a la parte superior del hidrostato (Figura 46).
Mueva la palanca de control funcional a la posición de PUNTO MUERTO y la palanca del acelerador a la posición de LENTO.
Arranque el motor.
Gire el excéntrico hasta que no haya movimiento en ningún sentido.
Cuando la rueda deje de girar, apriete la tuerca para bloquear el excéntrico y el ajuste (Figura 46).
Compruebe el ajuste con el acelerador en las posiciones de LENTO y RáPIDO.
Desde cada lado de la escuadra, apriete las contratuercas uniformemente, fijando el cable de tracción a la escuadra (Figura 46). No tuerza el cable.
Note: Si el cable está tensado cuando la palanca de control funcional está en PUNTO MUERTO, la máquina puede desplazarse cuando la palanca se pone en la posición de SIEGA o TRANSPORTE.
El pedal de tracción viene ajustado para la velocidad máxima de transporte, pero puede ser necesario ajustarlo si el pedal hace su recorrido completo antes de llegar al tope, o si se desea reducir la velocidad de transporte.
Para obtener la velocidad máxima de transporte, ponga la palanca de control funcional en la posición de TRANSPORTE y pise el pedal de tracción. Si el pedal toca el tope (Figura 47) antes de que se note tensión en el cable, ajústelo como se indica a continuación:

Ponga la palanca de control funcional en la posición de TRANSPORTE y afloje la contratuerca que fija el tope del pedal a la chapa del suelo (Figura 47).
Apriete el tope del pedal hasta que no esté en contacto con el pedal de tracción.
Siga aplicando una carga ligera sobre el pedal de transporte y ajuste el tope hasta que entre en contacto con la varilla del pedal, y apriete las tuercas.
Important: Asegúrese de que el cable no está demasiado tensado; si lo está, se acortará su vida útil.
Pise el pedal de tracción y afloje la contratuerca que fija el tope del pedal a la chapa del suelo.
Afloje el tope del pedal hasta obtener la velocidad de transporte deseada.
Apriete la contratuerca para afianzar el ajuste del tope.
Ajuste de fábrica: 6,1 km/h
Afloje la contratuerca del perno de tope, situado en el lateral del pedal de tracción (Figura 48).

Gire el perno de tope en sentido antihorario para aumentar la velocidad de siega, y en sentido horario para reducirla.
Apriete la contratuerca sin que gire el perno de tope y compruebe la velocidad de avance. Repita este procedimiento si es necesario.
| Intervalo de mantenimiento y servicio | Procedimiento de mantenimiento |
|---|---|
| Cada año |
|
Aplique los frenos firmemente y conduzca la máquina, a velocidad de siega, hasta que el olor indique que los frenos están calientes. Puede ser necesario ajustar los frenos después del periodo de rodaje; consulte Ajuste de los frenos.
En cada lado de la máquina hay una varilla de ajuste de los frenos, que permite ajustar los frenos en la misma proporción.
Mientras conduce hacia adelante a velocidad de transporte, pise el pedal de freno; ambas ruedas deben frenarse en la misma medida.
La realización de pruebas de frenos en un recinto cerrado con otras personas presentes podría causar lesiones.
Siempre pruebe los frenos en una zona amplia, abierta y plana, libre de personas y obstáculos, antes y después del ajuste.
Si los frenos no se aplican de manera uniforme, ajuste los frenos como se indica a continuación:
Desconecte las varillas de los frenos retirando el pasador de horquilla y la chaveta (Figura 49).

Afloje la contratuerca y ajuste la horquilla (Figura 49).
Monte la horquilla en el eje del freno (Figura 49).
Al pisar el pedal de freno, el pedal debe desplazarse de 13 a 26 mm antes de que las zapatas de freno entren en contacto con los tambores de freno. Ajuste la horquilla del eje del freno, si es necesario, hasta conseguir este recorrido.
Mientras conduce hacia adelante a velocidad de transporte, pise el pedal de freno; ambos frenos deben aplicarse en la misma medida. Ajústelos si es necesario.
Important: Debe bruñir los frenos cada año; consulte la sección Bruñido de los frenos.
El circuito de elevación/bajada de la unidad de corte está equipado con una válvula de control de flujo (Figura 50). Esta válvula viene ajustada de fábrica con una abertura de aproximadamente 3 vueltas, pero es posible que sea necesario ajustarla para compensar diferencias en la temperatura del fluido hidráulico, la velocidad de siega, etc.
Note: Deje que el fluido hidráulico alcance la temperatura de funcionamiento antes de ajustar la válvula de control de flujo.
Localice la válvula de control de flujo, debajo del asiento (Figura 50).


Afloje la contratuerca del pomo de ajuste de la válvula del control de flujo.
Ajuste la válvula de control de flujo como se indica a continuación:
Gire el mando en sentido antihorario si la unidad de corte central baja demasiado tarde, o
Gire el mando en sentido horario si la unidad de corte central baja demasiado de prisa.
Note: No debe ser necesario girarlo más de 10° – 20°.
Compruebe el ajuste y repita el paso 3, según sea necesario; cuando termine, apriete la contratuerca.
Para regular la altura de las unidades de corte delanteras cuando están en posición elevada (de transporte), puede ajustar los cilindros de elevación delanteros.
Baje las unidades de corte al suelo.
Retire los pernos que sujetan la cubierta del cilindro de elevación que está ajustando a los soportes de montaje del chasis (Figura 51).

Afloje la contratuerca que sujeta la horquilla al cilindro de la unidad de corte que debe ser ajustada (Figura 52).

Retire la chaveta y el pasador de horquilla (Figura 52)
Gire la horquilla hasta obtener la altura deseada (Figura 53).

Monte la horquilla en el brazo de elevación con el pasador de horquilla y la chaveta, y apriete la contratuerca (Figura 52 y Figura 53).
Instale la cubierta y los pernos que retiró en el paso 2.
Busque atención médica inmediatamente si el fluido penetra en la piel. Un médico deberá eliminar quirúrgicamente el fluido inyectado en pocas horas.
Asegúrese de que todas las mangueras y líneas de fluido hidráulicos están en buenas condiciones de uso, y que todos los acoplamientos y conexiones hidráulicos están apretados, antes de aplicar presión al sistema hidráulico.
Mantenga el cuerpo y las manos alejados de fugas pequeñas o boquillas que liberan fluido hidráulico a alta presión.
Utilice un cartón o un papel para buscar fugas hidráulicas.
Alivie de manera segura toda presión en el sistema hidráulico antes de realizar trabajo alguno en el sistema hidráulico.
Important: Independientemente del tipo de fluido hidráulico utilizado, cualquier unidad de tracción que se utilice para segar calles, para el verticorte o a temperatura ambiente por encima de los 29 °C debe tener instalado un kit de enfriador de aceite, Pieza Nº 105-8339.
El depósito se llena en la fábrica con fluido hidráulico de alta calidad. Compruebe el nivel del fluido hidráulico antes de arrancar el motor por primera vez y luego a diario; consulte Comprobación del nivel de fluido hidráulico.
Fluido hidráulico recomendado: fluido hidráulico Toro PX Extended Life, disponible en recipientes de 19 litros o en bidones de 208 litros.
Note: Una máquina que utilice el fluido de recambio recomendado necesita menos cambios de filtro y de fluido.
Fluidos hidráulicos alternativos: si no se encuentra disponible el fluido hidráulico Toro PX Extended Life, puede utilizar otro fluido hidráulico convencional basado en petróleo cuyas especificaciones referentes a todas las propiedades materiales estén dentro de los intervalos relacionados a continuación y que cumpla las normas industriales. No utilice fluidos sintéticos. Consulte a su distribuidor de lubricantes para identificar un producto satisfactorio.
Note: Toro no asume responsabilidad alguna por daños causados por sustituciones no adecuadas, por lo que debe utilizar solamente productos de fabricantes reputados que respalden sus recomendaciones.
| Propiedades de materiales: | ||
| Viscosidad, ASTM D445 | cSt a 40 °C 44 a 48 | |
| Índice de viscosidad ASTM D2270 | 140 o más | |
| Punto de descongelación, ASTM D97 | -37 °C a -45 °C | |
| Especificaciones industriales: | Eaton Vickers 694 (I-286-S, M-2950-S/35VQ25 o M-2952-S) | |
Note: La mayoría de los fluidos hidráulicos son casi incoloros, por lo que es difícil detectar fugas. Está disponible un aditivo de tinte rojo para el fluido hidráulico, en botellas de 20 ml. Una botella es suficiente para 15 a 22 litros de fluido hidráulico. Solicite el N.º de pieza 44-2500 a su distribuidor autorizado Toro.
Important: El fluido hidráulico biodegradable Toro Premium Synthetic es el único fluido sintético biodegradable homologado por Toro. Este fluido es compatible con los elastómeros usados en los sistemas hidráulicos Toro, y es apropiado para un amplio intervalo de temperaturas. Este fluido es compatible con aceites minerales convencionales, pero para obtener la máxima biodegradabilidad y rendimiento es necesario purgar el sistema hidráulico completamente de fluido convencional. Su distribuidor Toro autorizado dispone de este aceite en recipientes de 19 litros o en bidones de 208 litros.
Coloque la máquina en una superficie nivelada.
Note: Asegúrese de que la máquina se ha enfriado, para que el fluido esté frío.
Compruebe el nivel de fluido del depósito de su máquina.
Si el depósito hidráulico auxiliar tiene mirilla, compruebe el nivel de aceite en la mirilla (Figura 54) y vaya al paso 5.
Note: Si el nivel de fluido se encuentra entre las dos marcas de la mirilla, el nivel es suficiente.
Si el depósito hidráulico auxiliar no tiene mirilla, localice la varilla de aceite en la parte superior de la máquina (Figura 54) y vaya al paso 3.

Retire la varilla y límpiela con un trapo limpio, luego vuelva a enroscar la varilla en el depósito.
Retire la varilla y compruebe el nivel de fluido. Si está entre las marcas de la varilla, el nivel es correcto. Si el nivel de fluido no está entre las marcas, ajuste el nivel de fluido (Figura 55).

Retire el tapón del depósito de fluido hidráulico y llene el depósito lentamente con fluido hidráulico de alta calidad del tipo correcto, hasta que el nivel esté entre las dos marcas de la mirilla o de la varilla.
Important: Para evitar la contaminación del sistema, limpie la parte superior de los recipientes de fluido hidráulico antes de perforarlos. Asegúrese de que el vertedor y el embudo están limpios.
Note: No mezcle fluidos hidráulicos.
Coloque el tapón.
Note: Haga una inspección visual detenida de los componentes del sistema hidráulico. Compruebe que no hay fugas, fijaciones sueltas, que no faltan piezas, y que las mangueras están correctamente enrutadas. Haga las correcciones necesarias.
| Intervalo de mantenimiento y servicio | Procedimiento de mantenimiento |
|---|---|
| Cada 800 horas |
|
| Cada 1000 horas |
|
| Cada 2000 horas |
|
Capacidad de fluido hidráulico: 25,7 litros
Si el fluido se contamina, póngase en contacto con su distribuidor Toro autorizado para purgar el sistema. El fluido contaminado tiene un aspecto lechoso o negro en comparación con el fluido limpio.
Limpie la zona de montaje del filtro (Figura 56). Coloque un recipiente debajo del filtro y retire el filtro.

Note: Si no se va a drenar el fluido, desconecte y tapone la línea hidráulica que va al filtro.
Llene el filtro nuevo con fluido hidráulico del tipo correcto, lubrique la junta y apriételo a mano hasta que la junta entre en contacto con la base del filtro. Luego apriételo ¾ de vuelta más.
Llene el depósito hidráulico con fluido hidráulico; consulte Especificación del fluido hidráulico y Comprobación del nivel de fluido hidráulico.
Arranque la máquina y déjela funcionar al ralentí durante 3 a 5 minutos para hacer circular el aceite y eliminar el aire que esté atrapado en el sistema. Pare el motor y compruebe el nivel de fluido.
Elimine adecuadamente el aceite y el filtro.
| Intervalo de mantenimiento y servicio | Procedimiento de mantenimiento |
|---|---|
| Cada vez que se utilice o diariamente |
|
Cada día, compruebe que las líneas y mangueras hidráulicas no tienen fugas, que no están dobladas, que los soportes no están sueltos, y que no haya desgaste, elementos sueltos, o deterioro causado por agentes ambientales o químicos. Haga todas las reparaciones necesarias antes de utilizar la máquina.
El sistema de detección de fugas está diseñado para ayudar a detectar rápidamente fugas de fluido del sistema hidráulico. Si el nivel de fluido del depósito hidráulico principal se reduce en 118–177 ml, el interruptor del flotador dentro del depósito se cerrará. Después de una demora de un segundo, suena la alarma, alertando al operador (Figura 59). La expansión del fluido, debida a un calentamiento normal durante la operación de la máquina, hace que se transfiera fluido al depósito de aceite auxiliar. El fluido vuelve al depósito principal cuando se desactiva el interruptor de encendido.



Con la llave de contacto en la posición de CONECTADO, mueva el interruptor del detector de fugas hacia atrás y sujételo allí. Después de la demora de un segundo, debe sonar la alarma.
Suelte el interruptor del detector de fugas.
Ponga la llave de contacto en la posición de CONECTADO. No arranque el motor.
Retire el respiradero del depósito hidráulico del cuello del depósito.
Introduzca una varilla o un destornillador limpio en el cuello del depósito y empuje hacia abajo, con cuidado, el flotador del sensor (Figura 60); debe sonar la alarma después de la demora de un segundo.

Suelte el flotador: la alarma debe dejar de sonar.
Instale el tapón del depósito hidráulico.
Ponga la llave de contacto en la posición de DESCONECTADO.
La alarma del detector de fugas puede sonar por una de las siguientes razones:
Se ha producido una fuga de 118 a 177 ml.
El nivel de fluido del depósito principal se ha reducido en 118–177 ml debido a la contracción del fluido al enfriarse.
Si suena la alarma, apague la máquina lo antes posible y compruebe si hay alguna fuga. Si suena la alarma mientras la máquina está en un green, salga del green primero. Determine el lugar de la fuga y repárelo antes de seguir usando la máquina.
Si no encuentra ninguna fuga y sospecha una falsa alarma, mueva la llave de contacto a la posición de DESCONECTADO y espere 1 a 2 minutos para dejar que se estabilicen los niveles de fluido. Luego arranque la máquina y trabaje en una zona menos sensible para confirmar que no existen fugas.
Las falsas alarmas debidas a la contracción del fluido pueden deberse a un ralentí prolongado de la máquina después de la operación normal. Una falsa alarma también puede ocurrir por la operación de la máquina con carga reducida después de un periodo prolongado de trabajo con mayor carga. Para evitar falsas alarmas, pare el motor en lugar de tenerlo al ralentí durante periodos prolongados.
Una cuchilla o una contracuchilla desgastada o dañada puede romperse, y un trozo de la cuchilla podría ser arrojado hacia usted u otra persona, lo que puede provocar lesiones personales graves o la muerte.
Inspeccione periódicamente las cuchillas y las contracuchillas, para asegurarse de que no presentan un desgaste excesivo ni daños.
Tenga cuidado al comprobar las cuchillas. Lleve guantes y extreme las precauciones durante su mantenimiento. Las cuchillas y las contracuchillas solo se pueden cambiar o afilar; no las enderece ni las suelde nunca.
En máquinas con múltiples unidades de corte, tenga cuidado al girar una unidad de corte, ya que puede hacer que giren los molinetes en las otras unidades de corte.
| Intervalo de mantenimiento y servicio | Procedimiento de mantenimiento |
|---|---|
| Cada vez que se utilice o diariamente |
|
Cada día, antes de usar la máquina, compruebe el contacto entre el molinete y la contracuchilla, aunque anteriormente la calidad de corte haya sido aceptable. Debe haber un contacto ligero en toda la longitud del molinete y la contracuchilla; consulte el Manual del operador de la unidad de corte.
Para obtener una calidad de corte alta y constante, y un aspecto uniforme después de la siega, debe ajustar correctamente el control de velocidad de los molinetes (situado en el bloque colector, debajo de la cubierta y a la izquierda del asiento). Ajuste el control de velocidad de los molinetes de la manera siguiente:
Seleccione el ajuste de altura de corte de las unidades de corte.
Seleccione la velocidad de avance más adecuada para las condiciones existentes.
Utilice la tabla siguiente para determinar la velocidad de los molinetes para unidades de corte de 5, 8, 11 o 14 cuchillas (Figura 61).

Incline el asiento del operador hacia adelante y coloque la varilla de sujeción (Figura 62).

Ajuste la velocidad de los molinetes girando el pomo de control de velocidad de los molinetes (Figura 63) hasta que la flecha esté alineada con el número determinado en el paso 3.


Note: Puede aumentar o reducir la velocidad de los molinetes para compensar las condiciones del césped.
El contacto con los molinetes u otras piezas en movimiento puede causar lesiones personales.
Mantenga las manos y la ropa alejados de los molinetes y de otras piezas en movimiento.
No intente nunca girar los molinetes con la mano o con el pie con el motor en marcha.
Coloque la máquina en una superficie nivelada, baje las unidades de corte, apague el motor, retire la llave y ponga el freno de estacionamiento.
Incline el asiento del operador hacia adelante y coloque la varilla de sujeción (Figura 64).

Realice los ajustes molinete/contracuchilla iniciales en todas las unidades de corte que va a afilar; consulte el Manual del operador de la unidad de corte.
Gire la palanca de autoafilado a la posición R (Figura 65).


Gire el control de velocidad de los molinetes a la posición 1 (Figura 65).
Arranque el motor y déjelo funcionar a velocidad de ralentí bajo.
Important: No cambie la velocidad del motor durante el autoafilado, o los molinetes podrían calarse. Realice el autoafilado únicamente a velocidad de ralentí.
Con la palanca de siega/transporte en la posición de PUNTO MUERTO, mueva hacia adelante el control de elevación/bajada para iniciar la operación de autoafilado en el molinete.
Aplique pasta de autoafilado con un cepillo de mango largo. No utilice nunca una brocha de mango corto.
Si los molinetes se atascan o si la velocidad no es estable durante el autoafilado, seleccione una velocidad más alta hasta que la velocidad se estabilice, luego reduzca la velocidad a la posición 1 o a la velocidad deseada.
Para ajustar las unidades de corte durante el autoafilado, pare los molinetes moviendo hacia atrás el control de elevación/bajada de las unidades de corte y apague el motor. Una vez completados los ajustes, repita los pasos4 a 8.
Repita los pasos 4 a 8 en todas las unidades de corte que desea autoafilar.
Cuando termine, ponga la palanca de autoafilado de nuevo en la posición F, mueva el control de velocidad de los molinetes a la velocidad deseada, baje el asiento y lave toda la pasta de autoafilado de las unidades de corte. Ajuste el molinete de la unidad de corte a la contracuchilla según sea necesario.
Important: Si la palanca de autoafilado no se pone en la posición F después del autoafilado, las unidades de corte no se elevarán ni funcionarán correctamente.
Apague la máquina, retire la llave y espere a que se detenga todo movimiento antes de dejar el puesto del operador. Deje que la máquina se enfríe antes de realizar ajustes, tareas de mantenimiento y de limpieza o de guardarla.
No guarde la máquina o un recipiente de combustible en un lugar donde pudiera haber una llama desnuda, chispas o una llama piloto, por ejemplo en un calentador de agua u otro electrodoméstico.
Si usted va a almacenar la máquina durante un periodo de tiempo prolongado, debe seguir estos pasos antes del almacenamiento:
Apague el motor, retire la llave, espere a que se detengan todas las piezas en movimiento y deje que la máquina se enfríe antes de guardarla.
Retire cualquier acumulación de suciedad y recortes de hierba. Afile los molinetes y las contracuchillas, si es necesario; consulte el Manual del operador de la unidad de corte. Utilice un anticorrosivo en las contracuchillas y las cuchillas de los molinetes. Engrase y lubrique todos los puntos de engrase; consulte Engrasado de la máquina.
Coloque bloques debajo de las ruedas para que los neumáticos no soporten peso alguno.
Drene y cambie el fluido hidráulico y el filtro; inspeccione las líneas y los acoplamientos hidráulicos. Cambiar si es necesario; consulte Mantenimiento del fluido hidráulico y Comprobación de líneas y mangueras hidráulicas.
Drene el depósito de combustible. Haga funcionar el motor hasta que se pare por falta de combustible. Cambie el filtro de combustible, consulte Cambio del filtro de combustible.
Con el motor todavía caliente, drene el aceite del cárter. Vuelva a llenar con aceite limpio; consulte Mantenimiento del aceite de motor.
Retire las bujías, vierta 30 ml de aceite SAE 30 en los cilindros y haga girar lentamente el motor para distribuir el aceite. Cambie las bujías; consulte Cambio de las bujías.
Limpie la suciedad y la broza del cilindro, de las aletas de la culata y de la carcasa del soplador.
Retire la batería y cárguela completamente; consulte Carga de la batería. Guárdela en una estantería o en la máquina. Deje desconectados los cables si la guarda en la máquina. Guarde la batería en un ambiente fresco para evitar el rápido deterioro de la carga.
Si es posible, almacene la máquina en un lugar cálido y seco.