| Intervalo de assistência | Procedimento de manutenção |
|---|---|
| Em todas as utilizações ou diariamente |
|
Este veículo utilitário destina-se à utilização fora de estrada para transportar pessoas e materiais. Se a máquina for utilizada com qualquer outro propósito, poderá pôr em perigo o utilizador ou outras pessoas.
Leia estas informações com atenção para saber como operar e realizar a manutenção adequada do produto, além de evitar lesões e danos ao produto. A utilização correta e segura do produto é da exclusiva responsabilidade do utilizador.
Visite www.Toro.com para obter informações sobre materiais de formação de operação e segurança dos produtos, informações sobre acessórios, para obter o contacto de um representante ou para registar o seu produto.
Sempre que necessitar de assistência, peças genuínas Toro ou informações adicionais, entre em contacto com um Representante de assistência autorizado ou com a assistência ao cliente Toro, indicando os números de modelo e de série do produto. Figura 1 identifica a localização dos números de série e de modelo do produto. Escreva os números no espaço fornecido.
Important: Com o seu dispositivo móvel, pode ler o código QR no autocolante do número de série (se equipado) para aceder às informações de garantia, peças e outras.

Neste manual são utilizadas duas palavras para destacar informações. A palavra Importante chama a atenção para informações mecânicas específicas e a palavra Observação destaca informações gerais que merecem atenção especial.
O símbolo de alerta de segurança (Figura 2) é utilizado neste manual e na máquina para identificar mensagens de segurança importantes que têm de ser seguidas para evitar acidentes. Este símbolo surge com as palavras Perigo, Aviso ou Cuidado.
Perigo indica uma situação de risco eminente que, se não for evitada, irá resultar em morte ou ferimento grave.
Aviso indica uma situação de risco potencial que, se não for evitada, pode resultar em morte ou ferimento grave.
Cuidado indica uma situação de risco potencial que, se não for evitada, poderá resultar em ferimento leve ou moderado.

Este produto cumpre todas as diretivas europeias relevantes. Para mais informações consultar a folha de Declaração de conformidade (DOC) em separado, específica do produto.
Utilizar ou operar o motor em qualquer terreno com floresta, arbustos ou relva é uma violação da secção 4442 ou 4443 do código de recursos públicos da Califórnia exceto se o motor estiver equipado com uma proteção contra chamas, como definido na secção 4442, mantido em boas condições ou o motor for construído equipado e mantido para a prevenção de fogo.
O Manual do proprietário do motor é fornecido para informações acerca do sistema de emissões, manutenção e garantia da US Environmental Protection Agency (EPA) e regulamento de controlo de emissões da Califórnia. A substituição pode ser solicitada através do fabricante do motor.
Se esta máquina estiver equipada com um dispositivo de telemática, consulte o seu distribuidor autorizado da Toro para obter as instruções para ativar este dispositivo.
CALIFÓRNIA
Proposição 65 Aviso
É do conhecimento do Estado da Califórnia que os gases de escape a alguns dos componentes deste veículo contêm químicos que podem provocar cancro, defeitos congénitos ou outros problemas reprodutivos.
Os pólos, terminais e restantes acessórios da bateria contêm chumbo e derivados de chumbo; é do conhecimento do Estado da Califórnia que estes químicos podem provocar cancro e problemas reprodutivos. Lave as mãos após a utilização.
Este produto pode causar ferimentos pessoais. Respeite sempre todas as instruções de segurança, de modo a evitar ferimentos pessoais graves.
Leia e compreenda o conteúdo deste Manual do utilizador antes de ligar a máquina. Certifique-se de que todos os que utilizam este produto sabem como o utilizar e compreendem os avisos.
Esteja totalmente atento quando utilizar a máquina. Não se envolva em nenhuma atividade que dê azo a distrações, caso contrário poderão ocorrer ferimentos ou danos materiais.
Não coloque as mãos ou os pés perto de componentes em movimento da máquina.
Não opere a máquina sem que todos os resguardos e outros dispositivos protetores de segurança estejam instalados e a funcionar.
Mantenha as pessoas e as crianças pequenas afastadas da área de operação. Nunca permita que crianças utilizem a máquina.
Pare e desligue a máquina e retire a chave da ignição antes de proceder à manutenção ou ao abastecimento.
O uso e manutenção impróprios desta máquina
podem resultar em ferimentos. Para reduzir o risco de lesões,
respeite estas instruções de segurança e preste
sempre atenção ao símbolo de alerta de segurança
, que indica: Cuidado, Aviso
ou Perigo — instruções de segurança pessoal.
O não cumprimento destas instruções pode resultar
em ferimentos pessoais ou mesmo em morte.
![]() |
Os autocolantes de segurança e de instruções são facilmente visíveis e situam-se próximo das zonas de potencial perigo. Substitua todos os autocolantes danificados ou em falta. |


























Note: Determine os lados direito e esquerdo da máquina a partir da posição normal de utilização.
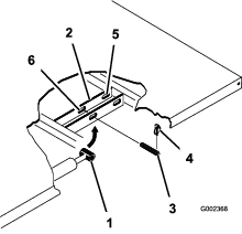
Peças necessárias para este passo:
| Volante | 1 |
Liberte as patilhas na parte posterior do volante que fixam a tampa central e retire a tampa.
Retire a porca de bloqueio e a anilha do eixo da direção.
Encaixe o volante e a anilha no eixo.
Note: Alinhe o volante no eixo de forma a que a travessa fique na horizontal quando os pneus estiverem virados para a frente e o raio principal do volante virado para baixo.
Note: A tampa de resguardo vem posicionada no eixo da direção de fábrica.
Fixe o volante no eixo com a porca de bloqueio e aperte-a a 24 a 29 N·m como se mostra na Figura 3.
Alinhe as patilhas da tampa com as ranhuras no volante e coloque a tampa no volante (Figura 3).

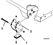
Peças necessárias para este passo:
| Barra de segurança | 1 |
| Parafuso com cabeça flangeada (½ x 1¼ pol.) | 6 |
Aplique fixador de roscas de grau médio (amovível na assistência) na rosca dos seis parafusos de cabeça flangeada (½ x 1¼ pol.).
Alinhe cada lado da barra de segurança com os orifícios de montagem em cada lado do chassis da máquina (Figura 4).

Fixe o suporte de montagem da barra de segurança ao chassis da máquina com três parafusos de cabeça flangeada (½ x 1¼ pol.) em cada lado (Figura 4).
Aperte os parafusos de cabeça flangeada (½ x 1¼ pol.) com uma força de 115 N·m.
Verifique o nível do óleo do motor antes e depois de pôr o motor em funcionamento pela primeira vez; consulte Verificação do nível de óleo do motor.
Verifique o nível do fluido hidráulico/do eixo da transmissão antes de pôr o motor em funcionamento pela primeira vez; consulte Verificação do nível do fluido do conjunto eixo-transmissão/hidráulico.
Verifique o nível do fluido dos travões antes de pôr o motor em funcionamento pela primeira vez; consulte Verificação do nível de fluido dos travões.
Verifique a pressão de ar nos pneus; consulte Verificação da pressão dos pneus.
Para assegurar uma performance otimizada do sistema de travões, acame os travões antes da utilização da máquina.
Leve o veículo a velocidade total, aplique os travões para parar rapidamente o veículo sem bloquear os pneus.
Repita este procedimento 10 vezes, aguardando um minuto entre paragens para evitar sobreaquecimento dos travões.
Important: Este procedimento é mais eficaz se a máquina estiver carregada com 454 kg.
Familiarize-se primeiro com todos os comandos antes de ligar o motor e utilizar a máquina.


Utilize o pedal do acelerador (Figura 7) para alterar a velocidade da máquina quando estiver engatada uma mudança da transmissão. Ao carregar no pedal do acelerador, aumenta a velocidade do motor e a velocidade do veículo. Ao libertar o pedal, diminui a velocidade do motor e a velocidade do veículo.

Tem que carregar a fundo no pedal de embraiagem (Figura 7) para desengatar a embraiagem, ao fazer arrancar o motor ou ao efetuar uma passagem de caixa. Liberte o pedal suavemente, com uma mudança engrenada, para evitar o desgaste desnecessário da transmissão e componentes associados.
Important: Não apoie o pé no pedal de embraiagem durante a operação da máquina. O pedal de embraiagem tem de estar totalmente liberto ou a embraiagem pode patinar provocando calor e desgaste. Não sustente a máquina em subidas por intermédio do pedal de embraiagem. Podem ocorrer danos na embraiagem.
Utilize o pedal dos travões para parar ou diminuir a velocidade da máquina (Figura 7).
Operar uma máquina com travões gastos ou mal afinados pode dar origem a ferimentos pessoais.
Se o pedal do travão apresentar uma folga de até 25 mm até ao piso da máquina, deverá efetuar o ajuste ou reparação dos travões.
Carregue a fundo no pedal de embraiagem e coloque a alavanca de velocidades (Figura 8) na posição pretendida. O diagrama de substituição do arco está indicado abaixo.

Important: Não engate o eixo da transmissão na MARCHA-ATRáS nem na posição FRENTE, a não ser que a máquina esteja parada; caso contrário pode danificar o eixo da transmissão.
As passagens de caixa descendentes a velocidades elevadas podem fazer com que as rodas traseiras derrapem, provocando a perda de controlo da máquina bem como danos na embraiagem e/ou transmissão.
Efetue as seleções de caixa com suavidade para evitar danificar os carretos.
O bloqueio do diferencial (Figura 9) permite bloquear o eixo traseiro para aumentar a tração. O bloqueio do diferencial pode ser engatado com a máquina em movimento.
Movimente a alavanca para a frente e para a direita para engatar o bloqueio.
Note: Para engatar ou desengatar o bloqueio do diferencial é necessário movimentar a máquina e que esta descreva uma ligeira curva.
A realização de curvas com o bloqueio do diferencial engatado podem provocar a perda de controlo da máquina.
Ao descrever curvas pronunciadas ou conduzir a velocidades elevadas, não opere com o bloqueio do diferencial engatado; consulte Ajuste do cabo de bloqueio do diferencial.

Sempre que desliga o motor, engate o travão de estacionamento (Figura 9) para evitar algum movimento acidental da máquina.
Para engatar o travão de estacionamento, puxe a alavanca do travão de estacionamento para trás.
Para desengatar o travão de estacionamento, empurre a alavanca do travão de estacionamento para a frente.
Note: Desengate o travão de estacionamento antes de movimentar a máquina.
Se estacionar a máquina em local inclinado, ative o travão de estacionamento, coloque a transmissão em PRIMEIRA velocidade, se estiver a subir, ou em MARCHA-ATRáS, se estiver a descer, e coloque calços no lado inferior das rodas.
O elevador hidráulico sobe e desce a plataforma. Movimente para trás para subir e para a frente para descer a plataforma (Figura 9).
Important: Ao descer a plataforma, mantenha a alavanca na posição para a frente durante um ou dois segundos, depois da plataforma ter contactado com o chassis, para a fixar na posição baixa. Não mantenha o elevador hidráulico na posição de subir ou descer, por mais de cinco segundos, assim que os cilindros hidráulicos tiverem atingido o limite do respetivo curso.
O bloqueio do elevador hidráulico bloqueia a alavanca de elevação de modo a que os cilindros hidráulicos não funcionem quando a máquina não está equipada com uma plataforma (Figura 9). Bloqueia igualmente a alavanca de elevação hidráulica na posição LIGAR quando o sistema hidráulico é utilizado para os engates.
O comutador de gamas alta e baixa adiciona três velocidades adicionais para um controlo mais preciso da velocidade (Figura 9):
Tem de parar a máquina por completo antes de comutar entre as gamas ALTA e BAIXA.
Mude apenas numa superfície plana.
Carregue a fundo no pedal de embraiagem.
Movimente a alavanca totalmente para a frente, para selecionar a gama ALTA e totalmente para trás para selecionar a gama BAIXA.
GAMA Alta – destina-se à condução a velocidades mais elevadas em superfícies niveladas e secas, com cargas reduzidas.
GAMA Baixa – destina-se à condução a velocidades reduzidas. Utilize esta gama sempre que se tornem necessários maior potência e controlo do que em circunstâncias normais. Por exemplo, em declives pronunciados, terreno irregular, ao transportar cargas pesadas, com baixa velocidade mas com um regime do motor elevado (ao pulverizar).
Important: Existe uma posição entre as gamas ALTA e BAIXA em que o eixo da transmissão não se encontra em qualquer das gamas. Esta posição não deve ser utilizada como PONTO MORTO, pois a máquina pode movimentar-se inesperadamente caso se acionar inadvertidamente o comutador de gamas alta e baixa, com uma velocidade engatada.
Para engatar a tração às quatro rodas manualmente, mantenha premido o botão de tração às quatro rodas (Figura 9) na consola central enquanto o veículo está em movimento e a tração às quatro rodas engata.
Utilize o interruptor de ignição (Figura 5) para ligar e desligar o motor.
O interruptor de ignição tem três posições: DESLIGAR, LIGAR e ARRANQUE. Rode o interruptor de ignição no sentido dos ponteiros do relógio para a posição ARRANQUE para ativar o motor de arranque. Liberte o interruptor de ignição quando o motor entrar em funcionamento. O interruptor de ignição movimenta-se automaticamente para a posição LIGAR.
Para desligar o motor, rode o interruptor de ignição no sentido contrário ao dos ponteiros do relógio para a posição DESLIGAR.
Mova o interruptor de supervisão (Figura 5) para a posição LENTO e retire a chave. O interruptor de supervisão limita o motor a 2200 rpm quando a máquina está em terceira velocidade na gama ALTA, o que limita a velocidade máxima a 21 km/h.
O contador de horas (Figura 6) indica o total de horas de funcionamento da máquina.
O contador de horas começa a funcionar sempre que se roda a chave para a posição LIGAR e a velocidade do motor se encontrar acima das 500 RPM a cada 6 minutos.
Mova o interruptor de bloqueio de terceira em gama alta (Figura 5) para a posição LENTO e retire a chave para evitar a utilização da terceira velocidade quando estiver em gama ALTA. O motor desliga se a alavanca de velocidades for movimentada para terceira velocidade com a gama ALTA selecionada.
Note: A chave pode ser retirada em qualquer das posições.
Empurre o interruptor de luz (Figura 5) para ligar ou desligar os faróis.
A luz de aviso da pressão do óleo (Figura 6) acende-se, quando a pressão do óleo do motor descer abaixo de um determinado nível considerado seguro com o motor ligado.
Important: Se a luz piscar ou permanecer acesa, pare a máquina, desligue o motor e verifique o nível de óleo. Se o nível estiver baixo e a adição de óleo não fizer com que a luz de aviso se apague ao ligar o motor, desligue de imediato o motor e contacte o representante de assistência autorizado para obter assistência técnica.
Verifique o funcionamento das luzes de aviso da seguinte forma:
Engate o travão de estacionamento.
Rode o interruptor de ignição para LIGAR/PRé-AQUECER, mas não ligue o motor.
Note: A luz indicadora deve acender com um tom vermelho. Se a luz não funcionar, pode ter-se queimado uma lâmpada ou existir uma avaria no sistema que necessita de reparação.
Note: Se o motor acabou de ser desligado, pode demorar um ou dois minutos até que a luz acenda.
A luz indicadora das velas de incandescência (Figura 6) acende-se a vermelho quando as velas são ativadas.
Important: A luz indicadora da vela de incandescência acende, durante mais 15 segundos, quando o interruptor regressa à posição ARRANQUE.
A luz e o indicador de temperatura do líquido de arrefecimento registam a temperatura do líquido de arrefecimento no motor e funcionam apenas quando o interruptor de ignição se encontra na posição LIGAR (Figura 6).
As 5 barras do líquido de arrefecimento piscam se o motor aquecer demasiado.
O indicador de carga acende quando a bateria descarrega. Se esta luz se acender durante a operação, pare a máquina, desligue o motor e verifique as causas eventuais, como a correia do alternador (Figura 6).
Important: Se a correia do alternador estiver solta ou partida, não opere a máquina até que a correia seja apertada ou a reparação esteja concluída. A não observação desta precaução pode resultar em danos do motor.
Verifique o funcionamento das luzes de aviso da seguinte forma:
Engate o travão de estacionamento.
Rode o interruptor de ignição para LIGAR/PRé-AQUECER, mas não ligue o motor. A luz de temperatura do líquido de arrefecimento, o indicador de carga e a luz de aviso da pressão do óleo devem acender-se. Se qualquer das luzes não funcionar, pode ter-se queimado uma lâmpada ou existir uma avaria no sistema que necessita de reparação.
O indicador de combustível mostra a quantidade de combustível no depósito. Mostra apenas quando o interruptor de ignição se encontra na posição LIGAR (Figura 6).
Uma única barra indica um nível de combustível baixo e uma barra a piscar indica que o depósito de combustível está quase vazio.
Quando o comutador da tração às quatro rodas (Figura 5) está ligado, a máquina engata automaticamente a tração às quatro rodas se o sensor detetar que as rodas traseiras estão a rodar livremente. Quando a tração às quatro rodas é engatada, o interruptor de tração às quatro rodas acende.
A tração às quatro rodas funciona apenas para a frente no modo AUTOMáTICO. Se a pretender em MARCHA-ATRáS, pressione o botão de tração às quatro rodas.
Ligue o interruptor para ativar a hidráulica de alto fluxo (Figura 5).
O interruptor da buzina encontra-se no painel de controlo (Figura 5). Carregue no interruptor da buzina para apitar.
O tacómetro mostra a velocidade do motor (Figura 6).
Note: 3300 rotações é a velocidade desejada para o funcionamento da PTO a 540 rpm.
O velocímetro regista a velocidade da máquina (Figura 6).
Utilize o ponto de corrente (Figura 5) para ligar acessórios elétricos opcionais de 12 volts.
A pega para o passageiro encontra-se no tablier (Figura 10).

Pode ajustar o banco para a frente ou para trás para efeitos de comodidade (Figura 11).

Note: As especificações e o desenho do produto estão sujeitos a alterações sem aviso prévio.
| Largura total | 160 cm |
| Comprimento total | Sem plataforma: 326 cm |
| Com plataforma completa: 331 cm | |
| Com plataforma a 2/3 no local de montagem traseira: 346 cm | |
| Peso base (seco) | Modelo 07385: 887 kg |
| Modelo 07385TC: 924 kg | |
| Modelo 07387: 914 kg | |
| Modelo 07387TC: 951 kg | |
| Capacidade nominal (inclui 91 kg do operador e 91 kg do passageiro e engate carregado) | Modelo 07385: 1471 kg |
| Modelo 07385TC: 1435 kg | |
| Modelo 07387: 1445 kg | |
| Modelo 07387TC: 1408 kg | |
| Peso máximo do veículo (GVW) | 2.359 kg |
| Capacidade de reboque | Peso do garfo: 272 kg |
| Peso máximo do atrelado: 1587 kg | |
| Altura em relação ao solo | 18 cm sem carga |
| Distância entre eixos | 118 cm |
| Piso da roda (centro a centro) | Frente: 117 cm |
| Trás: 121 cm | |
| Altura | 191 cm para a parte superior da barra de segurança |
Está disponível uma seleção de engates e acessórios aprovados pela Toro para utilização com a máquina, para melhorar e expandir as suas capacidades. Contacte o seu representante ou distribuidor de assistência autorizado ou vá a www.Toro.com para obter uma lista de todos os engates e acessórios aprovados.
Para garantir o máximo desempenho e segurança contínua certificada da máquina, adquira sempre peças sobressalentes e acessórios genuínos da Toro. A utilização de peças sobressalentes e acessórios produzidos por outros fabricantes pode ser perigosa e pode utilizar um espaço vazio na garantia do produto.
Nunca permita que crianças ou pessoas que não tenham formação ou que não estejam fisicamente capazes que operem ou prestem manutenção à máquina. Os regulamentos locais podem determinar restrições relativamente à idade do utilizador. A formação de todos os operadores e mecânicos é da responsabilidade do proprietário.
Familiarize-se com o funcionamento seguro do equipamento, com os controlos do utilizador e com os sinais de segurança.
Desligue a máquina, retire a chave e aguarde até que todo o movimento pare, antes de sair da posição de operação. Deixe a máquina arrefecer antes de ajustar, fazer manutenção, limpar ou armazenar.
Saiba como parar e desligar a máquina rapidamente.
Certifique-se de que não existem mais ocupantes (você e o seu passageiro) do que o número de pegas equipadas na máquina.
Verifique se todos os dispositivos de segurança e autocolantes estão no devido lugar. Repare ou substitua todos os dispositivos de segurança e substitua todos os autocolantes ilegíveis ou em falta. Não utilize a máquina se estes componentes não estiverem presentes e a funcionar corretamente.
Tenha muito cuidado quando manusear combustível. Este combustível é inflamável e os seus vapores são explosivos.
Apague todos os cigarros, charutos, cachimbos e outras fontes de ignição.
Utilize apenas um recipiente para combustível aprovado.
Não retire o tampão do depósito nem encha o depósito enquanto o motor se encontrar em funcionamento ou estiver quente.
Nunca adicione nem drene combustível num espaço fechado.
Não guarde a máquina ou o recipiente de combustível onde uma fonte de fogo, faísca ou luz piloto, como junto de uma caldeira ou outros eletrodomésticos.
Em caso de derrame de combustível, não tente ligar o motor; evite criar qualquer fonte de ignição até os vapores do combustível se terem dissipado.
| Intervalo de assistência | Procedimento de manutenção |
|---|---|
| Em todas as utilizações ou diariamente |
|
Antes de ligar a máquina diariamente, efetue os procedimentos A cada utilização/diariamente indicados em
| Intervalo de assistência | Procedimento de manutenção |
|---|---|
| Em todas as utilizações ou diariamente |
|
Especificação da pressão de ar dos pneus dianteiros: 2,2 bar
Especificação da pressão de ar dos pneus traseiros: 1,24 bar
Important: Verifique frequentemente a pressão dos pneus para assegurar o insuflamento correto. Se os pneus não estiverem insuflados na pressão correta, os pneus desgastam-se prematuramente e podem causar a limitação da tração às quatro rodas.
Figura 12 é um exemplo de desgaste do pneu causado por insuflamento abaixo do indicado.

Figura 13 é um exemplo de desgaste do pneu causado por insuflamento acima do indicado.

Use apenas gasóleo limpo ou biodiesel com baixo conteúdo (<500 ppm) ou ultra baixo conteúdo (<15 ppm) de enxofre. A classificação mínima de cetano deve ser 40. Adquira combustível em quantidades que possam ser usadas no prazo de 180 dias para assegurar a pureza do combustível.
Utilize gasóleo de Verão (N.º 2-D) a temperaturas superiores a -7°C e gasóleo de inverno (N.º 1-D ou mistura N.º 1-D/2-D) abaixo de -7°C.
A utilização de gasóleo de inverno a temperaturas inferiores proporciona um ponto de inflamação mais baixo e caraterísticas de fluxo frio que facilitam o arranque e reduzem a obstrução do filtro de combustível.
Note: A utilização de gasóleo de verão acima de -7°C contribui para uma maior duração da bomba de combustível e maior potência quando comparado com o gasóleo de inverno.
Important: Não utilize querosene nem gasolina em vez de gasóleo. A não observação desta precaução danifica o motor.
Esta máquina também pode usar um combustível com mistura de biodiesel de até B20 (20% biodiesel, 80% petrodiesel). A parte de petrodiesel deve ter baixo teor ou ultra baixo teor de enxofre. Tome as seguintes precauções:
A parte de biodiesel do combustível tem de cumprir as especificações ASTM D6751 ou EN 14214.
A composição do gasóleo de mistura deve cumprir a ASTM D975 ou EN 590.
As superfícies pintadas podem ser danificadas pelas misturas de biodiesel.
Utilize misturas B5 (conteúdo de biodiesel de 5%) ou inferiores no tempo frio.
Verifique os vedantes, tubos e juntas em contacto com o combustível, uma vez que podem degradar-se ao longo do tempo.
Pode ocorrer obstrução do filtro durante algum tempo após mudar para misturas de biodiesel.
Contacte o distribuidor se desejar mais informações sobre o biodiesel.
Capacidade do depósito de combustível: 22 litros
Limpe a zona em torno do tampão do depósito de combustível.
Retire a tampa do depósito de combustível (Figura 14).

Encha o depósito ligeiramente abaixo do cimo do depósito (fundo do tubo de enchimento) e, em seguida, coloque o tampão.
Note: Não encha muito o depósito de combustível.
Para evitar um incêndio, limpe todo o combustível derramado.
| Intervalo de assistência | Procedimento de manutenção |
|---|---|
| Após as pimeiras 100 horas |
|
Faça o seguinte para obter um desempenho adequado da máquina:
Certifique-se que os travões estão acamados; consulte Acamação dos travões.
Verifique os níveis dos fluidos e do óleo do motor regularmente. Mantenha-se alerta aos sinais de que a máquina ou os seus componentes estão em sobreaquecimento.
Após o arranque de um motor a frio, deverá aguardar 15 segundos antes de utilizar a máquina.
Note: Aguarde mais tempo para aquecer o motor quando trabalhar em temperaturas frias.
Deverá variar a velocidade da máquina durante o seu funcionamento. Evite paragens e arranques bruscos.
Não é necessário utilizar um óleo de rodagem para o motor. O óleo do motor original é do mesmo tipo daquele que é especificado para as mudanças de óleo regulares.
Consulte para obtenção de informações detalhadas acerca das verificações programadas.
| Intervalo de assistência | Procedimento de manutenção |
|---|---|
| Em todas as utilizações ou diariamente |
|
O objetivo do sistema de bloqueio de segurança é de evitar que o motor rode ou entre em funcionamento, a menos que carregue no pedal de embraiagem.
A máquina poderá arrancar inesperadamente e provocar lesões pessoais, se os interruptores de segurança se encontrarem desligados ou danificados.
Não modifique os interruptores de segurança.
Verifique o funcionamento dos interruptores diariamente e substitua todos os interruptores danificados antes de utilizar a máquina.
Note: Para mais informações sobre o procedimento para verificação do sistema de segurança do engate, consulte o Manual do Utilizador do engate.
Ocupe o banco do operador e puxe o travão de estacionamento.
Desloque a alavanca das mudanças para a posição PONTO MORTO.
Note: O motor não arranca quando a alavanca de elevação hidráulica se encontra bloqueada na posição para a frente.
Sem pressionar o pedal de embraiagem, rode o interruptor de ignição no sentido dos ponteiros do relógio para a posição ARRANQUE.
Note: Se o motor rodar ou pegar, existe uma avaria no sistema de bloqueio que deve ser reparada antes de se voltar a utilizar a máquina.
Ocupe o banco do operador e puxe o travão de estacionamento.
Mova a alavanca de mudanças para a posição PONTO MORTO e certifique-se de que a alavanca de elevação hidráulica está na posição central.
Carregue no pedal de embraiagem.
Mova a alavanca de elevação hidráulica e rode o interruptor de ignição para a posição ARRANQUE.
Note: Se o motor rodar ou pegar, existe uma avaria no sistema de bloqueio que deve ser reparada antes de se voltar a utilizar a máquina.
O proprietário/utilizador pode evitar e é responsável por acidentes que possam causar ferimentos a pessoas ou danos a propriedades.
Os passageiros devem sentar-se apenas nas posições do banco designadas. Não transporte passageiros na plataforma de carga. Mantenha as pessoas e as crianças pequenas afastadas da área de operação.
Utilize vestuário adequado, incluindo proteção ocular, calças compridas, calçado resistente anti-derrapante e proteção para os ouvidos. Prenda cabelo comprido e não utilize vestuário solto ou joias pendentes.
Esteja totalmente atento quando utilizar a máquina. Não se envolva em nenhuma atividade que dê azo a distrações, caso contrário poderão ocorrer ferimentos ou danos materiais.
Não utilize a máquina quando estiver doente, cansado ou se encontrar sob o efeito de álcool ou drogas.
Utilize a máquina só no exterior ou numa área bem ventilada.
Não exceda o peso máximo bruto do veículo para a máquina.
Tenha muito cuidado quando operar, travar ou virar a máquina com uma carga pesada na plataforma de carga.
Transportar cargas de maior dimensão na plataforma de carga reduz a estabilidade da máquina. Não exceda a capacidade de transporte da plataforma.
Transportar material que não pode ser preso à máquina afeta de forma adversa a viragem, a travagem e a estabilidade da máquina. Quando transportar material que não possa ser preso à máquina, tenha cuidado ao virar ou travar.
Transporte uma carga pequena e reduza a velocidade da máquina quando a utilizar num terreno acidentado e irregular e perto de lancis, buracos e outras alterações bruscas no terreno. As cargas podem soltar-se e desestabilizar a máquina.
Antes de ligar a máquina, certifique-se de que a transmissão está na posição de ponto morto, o travão de estacionamento está engatado e coloque-se na posição de operação.
O operador e os passageiros devem permanecer sentados sempre que a máquina se encontrar em movimento. Mantenha as mãos no volante; os passageiros deves colocar as mãos nas pegas montadas para esse efeito. Mantenha sempre os braços e as pernas dentro da máquina.
A utilização da máquina deve ser efetuada apenas com boa visibilidade. Esteja atento a buracos, carreiras, elevações, pedras ou outros objetos ocultos. O terreno desnivelado poderia fazer tombar a máquina. A relva alta pode ocultar obstáculos. Tome todas as precauções necessárias quando se aproximar de esquinas sem visibilidade, arbustos, árvores ou outros objetos que possam obstruir o seu campo de visão.
Não utilize a máquina perto de depressões, buracos ou bancos de areia. A máquina poderá capotar repentinamente se a roda resvalar numa depressão ou se o piso ceder.
Tome sempre muita atenção a obstáculos suspensos, por exemplo, ramos de árvores, aduelas de portas, passagens suspensas, etc.
Olhe para trás e para baixo antes de recuar, de modo a evitar acidentes.
Ao utilizar a máquina em vias públicas, siga todas as regras de tráfego e utilize acessórios adicionais que possam ser exigidos por lei, por exemplo, luzes, sinais de mudança de direção, sinal de Veículo de Marcha Lenta (VML) e outros, conforme necessário.
Se a máquina vibrar de forma anormal, pare e desligue a máquina imediatamente, aguarde até que tudo se encontre parado e verifique se existem danos. Repare todos os danos na máquina antes de retomar o funcionamento.
O tempo de paragem em superfícies molhadas pode ser superior ao tempo em superfícies secas. Para secar travões molhados, conduza devagar em superfície nivelada, carregando ligeiramente no pedal do travão.
Utilizar a máquina a uma velocidade elevada e, depois, parar rapidamente pode causar o bloqueio das rodas traseiras, o que diminui o controlo da máquina.
Não toque no motor, na transmissão, no escape, ou na panela de escape ou coletor quando o motor se encontrar em funcionamento, ou logo depois de ter desligado a máquina, pois são áreas que se podem encontrar a uma temperatura suscetível de provocar queimaduras graves.
Não deixe a máquina a trabalhar sem vigilância.
Antes de sair da posição de operação, faça o seguinte:
Estacione a máquina numa superfície nivelada.
Mude a transmissão para a posição PONTO MORTO.
Engate o travão de estacionamento.
Desça a plataforma de carga.
Desligue a máquina e retire a chave.
Aguarde que todo o movimento pare.
Nunca opere a máquina quando existir a possibilidade de trovoadas.
Utilize apenas acessórios e engates aprovados pela The Toro® Company.
O ROPS é um dispositivo integral de segurança.
Não retire o ROPS da máquina.
Certifique-se de usa o cinto de segurança; certifique-se de que está preso e de que o pode tirar rapidamente em caso de emergência.
Verifique atentamente se existem obstruções superiores e não entre em contacto com elas.
Mantenha o ROPS em boas condições de funcionamento inspecionando-o regularmente para verificar se há danos e mantenha apertadas todas as fixações.
Substitua os componentes ROPS danificados. Não os repare nem altere.
Os declives são um dos principais fatores que contribuem para a perda de controlo e acidentes de capotamento que podem resultar em ferimentos graves ou morte.
Inspecione o local para determinar em que inclinações é seguro utilizar a máquina e defina os seus próprios procedimentos e regras para trabalhar nestas inclinações. Utilize sempre o bom senso e o seu julgamento ao realizar esta inspeção.
Se não se sentir seguro ao operar a máquina num declive, não o faça.
Todos os movimentos em declives devem ser lentos e graduais. Não mude bruscamente a velocidade ou direção da máquina.
Evite a operação da máquina quando o terreno se encontrar molhado. Os pneus podem perder tração. Pode ocorrer capotamento antes de os pneus perderem tração.
Aborde a descida e a subida de declives em linha reta.
Se começar a perder potência numa inclinação, engate os travões de forma gradual e recue lentamente a máquina.
É perigoso mudar de direção numa subida ou descida. Se tiver de inverter o sentido da marcha numa inclinação, conduza devagar e com cuidado.
Cargas pesadas afetam a estabilidade do veículo numa inclinação. Transporte uma carga inferior e reduza a velocidade quando estiver numa inclinação ou quando o centro de gravidade da carga for alto. Fixe a carga na plataforma de carga da máquina para evitar que se desloque. Tenha especial cuidado ao transportar cargas que se soltam facilmente (por ex., líquidos, pedras, areia, etc.).
Evite arrancar, parar ou virar a máquina num declive, especialmente se estiver carregada. Parar numa inclinação leva mais tempo do que parar numa superfície plana. Se precisar de imobilizar a máquina, evite mudanças bruscas de velocidade que podem fazer com que a máquina tombe ou capote. Não engate os travões de repente quando estiver a andar para trás porque a máquina pode capotar.
Não ultrapasse o peso bruto da máquina quando a operar com carga na plataforma de carga, quando rebocar um atrelado ou ambos; consulte Especificações.
Distribua a carga na plataforma de carga uniformemente para melhorar a estabilidade e controlar a máquina.
Antes da descarga, certifique-se de que não está ninguém atrás da máquina.
Não descarregue uma plataforma de carga carregada a máquina de lado numa inclinação. A mudança na distribuição do peso pode provocar o capotamento da máquina.
Uma plataforma elevada pode cair e ferir pessoas que estejam a trabalhar debaixo dela.
Antes de se meter sob a plataforma, acione a barra de apoio para a fixar.
Antes de elevar a plataforma, descarregue o material que lá se encontre.
Ao circular com a plataforma de carga erguida, a máquina pode capotar ou tombar mais facilmente. Pode danificar a estrutura da plataforma de carga, se utilizar a máquina com a plataforma erguida.
Opere a máquina apenas com a plataforma de carga em baixo.
Depois de esvaziar a plataforma de carga, baixe-a.
Se uma carga estiver concentrada perto da parte traseira da plataforma de carga quando libertar os fechos, a plataforma pode abrir inesperadamente, ferindo-o a si ou às pessoas que estão perto.
Centre as cargas na plataforma de carga, se possível.
Pressione a plataforma de carga para baixo e, quando libertar os fechos, certifique-se de que ninguém está inclinado sobre a plataforma ou se encontra por trás dela.
Retire toda a carga da plataforma antes de elevar a plataforma para prestar assistência à máquina.
Mova a alavanca para trás para elevar a plataforma de carga (Figura 15).

A plataforma pode ser pesada. Há o risco de esmagamento das mãos ou outras partes do corpo.
Proteja as mãos e o corpo quando fizer descer a plataforma.
Mova a alavanca para a frente para baixar a plataforma de carga (Figura 15).
Certifique-se de que a plataforma de carga está para baixo e trancada.
Abra os trincos nos lados esquerdo e direito da plataforma de carga e baixe a porta traseira (Figura 16).

Ocupe o banco do operador e puxe o travão de estacionamento.
Desengate a tomada de força e o fluido hidráulico de grande fluxo (se equipado) e volte a colocar a alavanca do acelerador de mão na posição DESLIGAR (se equipado).
Desloque a alavanca das mudanças para a posição PONTO MORTO e carregue no pedal de embraiagem.
Certifique-se de que a alavanca de elevação hidráulica está na posição central.
Mantenha o pé afastado do pedal do acelerador.
Rode a ignição para a posição LIGAR.
Note: Quando o indicador das velas se ligar, o motor está pronto para arrancar.
Rode a ignição para a posição ARRANQUE.
Note: Liberte imediatamente a chave quando o motor arrancar, deixando-a regressar à posição FUNCIONAMENTO.
Note: O indicador da vela de incandescência acende, durante mais 15 segundos, quando o interruptor regressa à posição FUNCIONAMENTO.
Note: O motor de arranque não deverá funcionar mais de 10 segundos em cada tentativa, de modo a não prejudicar o seu desempenho. Se o motor não arrancar após 10 segundos, rode a chave para a posição DESLIGAR. Verifique os comandos e o procedimento de arranque, aguarde mais 15 segundos e repita o procedimento de arranque.
Para ativar a tração às quatro rodas, pressione a parte superior do interruptor oscilador na posição 4X4 AUTO (Figura 17).

Quando o interruptor de tração às quatro rodas está ligado, a máquina engata automaticamente a tração às quatro rodas se o sensor detetar que as rodas traseiras estão a rodar livremente. Quando a tração às quatro rodas é engatada, o interruptor de tração às quatro rodas acende.
Important: Quando em marcha atrás, a máquina não engata automaticamente a tração às quatro rodas. Em marcha atrás, tem de engatar manualmente a tração às quatro rodas utilizando o botão de tração às quatro rodas.
Para engatar a tração às quatro rodas manualmente, mantenha premido o botão de tração às quatro rodas na consola central enquanto o veículo está em movimento e a tração às quatro rodas engata.
Note: A tração às quatro rodas permanece engatada apenas enquanto mantiver premido o botão; o interruptor de tração às quatro rodas não tem de estar na posição AUTO para engatar manualmente a tração às quatro rodas.
Desengate o travão de estacionamento.
Carregue no pedal de embraiagem até ao fundo.
Mova a alavanca de mudanças para a 1ª velocidade.
Liberte o pedal de embraiagem suavemente, enquanto vai carregando no pedal de acelerador.
Assim que a máquina adquirir velocidade suficiente, retire o pé do pedal de acelerador, carregue a fundo no pedal de embraiagem, movimente a alavanca de mudanças para a velocidade seguinte e liberte o pedal de embraiagem enquanto vai carregando no acelerador.
Repita o procedimento até que seja atingida a velocidade pretendida.
Important: Pare sempre a máquina antes de engrenar a marcha-atrás a partir da marcha à frente ou a marcha à frente a partir da marcha-atrás.
Note: Evite períodos prolongados de funcionamento ao ralenti.
Utilize a tabela abaixo para determinar a velocidade da máquina a 3.600 rpm.
| Engrenagem | Gama | Rácio | Velocidade (km/h) | Velocidade (mph) |
|---|---|---|---|---|
| 1 | L (Baixa) | 82,83 : 1 | 4,7 | 2,9 |
| 2 | L (Baixa) | 54,52 : 1 | 7,2 | 4,5 |
| 3 | L (Baixa) | 31,56 : 1 | 12,5 | 7,7 |
| 1 | H (Alta) | 32,31 : 1 | 12,2 | 7,6 |
| 2 | H (Alta) | 21,27 : 1 | 18,5 | 11,5 |
| 3 | H (Alta) | 12,31 : 1 | 31,9 | 19,8 |
| R | L (Baixa) | 86,94 : 1 | 4,5 | 2,8 |
| R | H (Alta) | 33,91 : 1 | 11,6 | 7,1 |
Important: Não tente empurrar nem rebocar a máquina para ligar o motor. Podem correr danos no grupo motopropulsor.
Para parar a máquina, tire o pé do acelerador e carregue no pedal do travão.
Estacione a máquina numa superfície nivelada.
Engate o travão de estacionamento.
Rode a chave para a posição DESLIGAR e retire a chave da ignição.
Se a máquina tombar ou capotar num declive pode provocar lesões pessoais graves.
A tração adicional disponibilizada pelo bloqueio do diferencial pode suscitar situações perigosas tais como a subida de declives muito pronunciados, em que seja impossível inverter a marcha. Tenha cuidado ao operar com o bloqueio do diferencial engatado, especialmente em declives pronunciados.
Se o bloqueio do diferencial estiver engatado ao efetuar uma curva pronunciada a uma velocidade mais elevada e a roda interior traseira levantar do piso, pode verificar-se uma perda de controlo que faz com que a máquina derrape. Utilize o bloqueio do diferencial apenas a velocidades reduzidas.
A realização de curvas com o bloqueio do diferencial engatado podem provocar a perda de controlo da máquina. Ao descrever curvas pronunciadas ou ao conduzir a velocidades elevadas, não opere com o bloqueio do diferencial engatado.
O bloqueio do diferencial aumenta a tração da máquina, bloqueando as rodas traseiras e fazendo com que uma das rodas traseiras não patine. Isto pode ser útil ao transportar cargas pesadas em relva molhada ou em pisos escorregadios, ao subir declives ou em pisos com areia. É importante ter em conta, contudo, que esta tração adicional se destina apenas a utilização temporária e restringida. A respetiva utilização não substitui uma operação cuidadosa.
O bloqueio do diferencial faz com que as rodas traseiras rodem à mesma velocidade. Ao utilizar o bloqueio do diferencial a capacidade para efetuar curvas pronunciadas fica de certa forma limitada e pode danificar a relva. Utilize o bloqueio do diferencial apenas quando necessário, a velocidades reduzidas, em primeira ou segunda velocidades.
O controlo hidráulico fornece força hidráulica a partir da bomba da máquina, desde que o motor esteja a funcionar. Pode usar a potência através dos acopladores rápidos existentes na traseira da máquina.
O fluido hidráulico sob pressão pode penetrar na pele e provocar lesões graves.
Tenha cuidado ao ligar ou desligar acopladores rápidos hidráulicos. Desligue o motor, engate o travão de estacionamento, desça o engate e coloque a válvula de controlo hidráulico remoto na posição de detenção para libertar a pressão hidráulica, antes de ligar ou desligar os acopladores rápidos.
Important: Se várias máquinas utilizarem o mesmo engate, pode ocorrer a contaminação cruzada do fluido de transmissão. Substitua com mais frequência o fluido da transmissão.
Posição DESLIGAR
Esta é a posição normal da válvula de controlo quando não está em utilização. Nesta posição, os pórticos de operação da válvula de controlo ficam bloqueados e a carga eventual é sustentada pelas válvulas de retenção em ambas as direções.
Posição ELEVAR (Acoplador Rápido A)
Esta é a posição que eleva a plataforma e o suporte de reboque traseiro ou aplica pressão hidráulica no acoplador rápido A. Permite também o retorno do fluido hidráulico proveniente do acoplador B à válvula e, em seguida, ao reservatório. Trata-se de uma posição momentânea e, quando se liberta a alavanca, a mola respetiva fá-la regressar à posição central, DESLIGAR.

Posição DESCER (Acoplador Rápido B)
Esta é a posição que desce a plataforma e o suporte de reboque traseiro ou aplica pressão hidráulica no acoplador rápido B. Permite também o retorno do fluido hidráulico proveniente do acoplador A à válvula e, em seguida, ao reservatório. Trata-se de uma posição momentânea e, quando se liberta a alavanca, a mola respetiva fá-la regressar à posição central, DESLIGAR. A sustentação momentânea nesta posição, seguida de libertação da alavanca de controlo, possibilita alimentação do fluido hidráulico para o acoplador rápido B que fornece energia descendente ao suporte de reboque traseiro. Quando libertada, sustenta a pressão descendente no suporte de reboque.
Important: Se utilizado com um cilindro hidráulico, sustentar a alavanca na posição de descer, faz com que o fluido hidráulico ultrapasse uma válvula de descarga, o que pode danificar o sistema hidráulico.
Posição LIGAR
Esta posição é semelhante à posição DESCER (POSIçãO DO ACOPLADOR RáPIDO B). Permite também dirigir fluido hidráulico ao acoplador B, com a diferença de que a alavanca é sustentada em posição por uma alavanca detentora no painel de controlo. Isto permite que o fluido hidráulico flua continuamente para o equipamento que utilize um motor hidráulico.
Utilize esta posição apenas em acessórios com um motor hidráulico integrado.
Important: Se utilizada com um cilindro hidráulico ou sem engate, a posição LIGADO faz com que o fluido hidráulico ultrapasse uma válvula de descarga, o que pode danificar o sistema hidráulico. Utilize esta posição apenas momentaneamente ou com um motor hidráulico integrado.
Important: Verifique o nível de fluido hidráulico após a instalação de um engate. Verifique o funcionamento do engate executando o respetivo ciclo por diversas vezes, para purgar o ar do sistema e, em seguida, verifique o nível de fluido hidráulico novamente. O cilindro do engate afeta ligeiramente o nível de fluido do conjunto eixo-transmissão. A operação da máquina com um nível de fluido hidráulico baixo pode danificar a bomba, o controlo hidráulico remoto, a direção assistida e o conjunto eixo-transmissão.
Important: Limpe a sujidade dos acopladores rápidos antes de os ligar. Os acopladores com sujidade podem provocar a contaminação do sistema hidráulico.
Puxe o anel de bloqueio do acoplador.
Introduza o bico do tubo flexível no acoplador até que fixe em posição.
Note: Ao ligar equipamento remoto aos acopladores rápidos, determine qual é o lado que carece de pressão e, em seguida, ligue o tubo de pressão ao acoplador ”B” o qual receberá pressão quando a alavanca de controlo é deslocada para a frente ou bloqueada na posição LIGAR.
Note: Com a máquina e o engate desligados, desloque a alavanca de elevação para trás e para a frente, de forma a eliminar a pressão do sistema e facilitar o desengate dos acopladores rápidos.
Puxe o anel de bloqueio do acoplador.
Puxe o tubo flexível com firmeza, para fora do acoplador.
Important: Limpe e instale o bujão e as tampas de resguardo nas extremidades do acoplador, quando este não esteja em utilização.
Dificuldade em ligar ou desligar acopladores rápidos.
Não existe descarga da pressão (acoplador rápido sob pressão).
O volante roda com grande dificuldade ou nem sequer roda.
O nível de fluido hidráulico é baixo.
A temperatura do fluido hidráulico está demasiado quente.
A bomba não está a trabalhar.
Há fugas hidráulicas.
As uniões estão soltas.
A união não tem anel de retenção.
Um engate não funciona.
Os acopladores rápidos não estão completamente unidos.
Os acopladores rápidos estão invertidos.
Existe um chiado.
Retire a válvula esquerda na posição de detenção LIGAR fazendo com que o fluido hidráulico ultrapasse a válvula de descarga.
A correia está solta.
O motor não arranca.
A alavanca de elevação hidráulica está bloqueada na posição FRENTE.
Antes de sair da posição de operação, faça o seguinte:
Estacione a máquina numa superfície nivelada.
Mude a transmissão para a posição PONTO MORTO.
Engate o travão de estacionamento.
Desça a plataforma de carga.
Desligue a máquina e retire a chave.
Aguarde que todo o movimento pare.
Deixe a máquina arrefecer antes de ajustar, fazer manutenção, limpar ou armazenar.
Não guarde a máquina onde existir uma fonte de fogo, faísca ou luz piloto, como junto de uma caldeira ou outros eletrodomésticos.
Mantenha todas as peças da máquina em boas condições de trabalho e as partes corretamente apertadas.
Mantenha e limpe o(s) cinto(s) de segurança, como necessário.
Substitua todos os autocolantes desgastados, danificados ou em falta.
Tome todas as precauções necessárias quando colocar ou retirar a máquina de um atrelado ou camião.
Utilize rampas de largura total para carregar a máquina num atrelado ou camião.
Prenda bem a máquina.
Consulte Figura 19 e Figura 20 para localizar os pontos de fixação da máquina.
Note: Carregue a máquina no atrelado com a parte da frente da máquina virada para a frente. Se isso não for possível, prenda o capot da máquina ao chassis com uma cinta, ou retire o capot e transporte-o e prenda-o em separado, caso contrário o capot pode ser projetado durante o transporte.


Em caso de emergência, é possível rebocar a máquina numa curta distância; no entanto, este não é um procedimento de funcionamento padrão.
Rebocar o veículo em excesso de velocidade, pode levar à perda de direção e provocar acidentes pessoais.
Não ultrapasse os 8 km/h durante o reboque.
Note: A direção assistida não funciona, tornando mais difícil manobrar.
O reboque da máquina é tarefa para duas pessoas. Se for necessário deslocar a máquina uma distância considerável, deverá utilizar uma carrinha ou um atrelado.
Ate um cabo de reboque ao garfo, na parte dianteira do chassis da máquina (Figura 19).
Mova a transmissão para a posição PONTO MORTO e desengate o travão de estacionamento.
A máquina tem capacidade para reboque de atrelados e engates de peso superior ao da máquina. Há vários tipos de engate de reboque, conforme a utilização a dar à máquina. Contate o representante de assistência autorizado para obter mais pormenores.
Quando equipada com um engate de reboque aparafusado à manga do eixo traseiro, a sua máquina pode rebocar atrelados ou engates com um peso bruto máximo de 1587 kg.
Carregue sempre o atrelado com 60% da capacidade de carga na zona dianteira. Desta forma 10% do peso bruto do atrelado (máximo 272 kg) fica sobre o engate de reboque do veículo.
Quando transportar carga ou rebocar um atrelado, não deverá sobrecarregar nem a máquina nem o atrelado. Uma sobrecarga poderá diminuir o desempenho ou danificar os travões, o eixo, o motor, conjunto eixo-transmissão, a direção, a suspensão, o chassis ou os pneus.
Important: Para reduzir danos potenciais do grupo motriz, utilize a gama baixa.
Ao rebocar atrelados de cinco rodas, tais como um soprador de pistas de golfe, instale sempre a “barra de contra peso” (incluída no kit de cinco rodas), para evitar que as rodas dianteiras se elevem do piso, caso o movimento do atrelado seja subitamente impedido.
Não permita que pessoas sem formação realizem a manutenção da máquina.
Antes de sair da posição de operação, faça o seguinte:
Estacione a máquina numa superfície nivelada.
Mude a transmissão para a posição PONTO MORTO.
Engate o travão de estacionamento.
Desça a plataforma de carga.
Desligue a máquina e retire a chave.
Aguarde que todo o movimento pare.
Deixe a máquina arrefecer antes de a ajustar, lhe fazer a manutenção, limpar ou armazenar.
Apoie a máquina com preguiças sempre que trabalhar debaixo da máquina.
Não trabalhe debaixo de uma plataforma elevada sem o devido suporte de segurança da plataforma instalado.
Certifique-se de que todas as ligações hidráulicas se encontram bem apertadas e de que todas as tubagens e linhas hidráulicas se encontram em bom estado de conservação antes de colocar o sistema sob pressão.
Antes de desligar ou executar quaisquer tarefas no sistema hidráulico, deve eliminar a pressão existente no sistema, desligando o motor, efetuando o ciclo de subida e descida da válvula de descarga e/ou descendo a caixa e os eventuais acessórios. Coloque a alavanca de controlo hidráulico remoto na posição flutuante. Se for necessário elevar a plataforma, fixe-a com o apoio de segurança.
Cuidadosamente, liberte a pressão dos componentes com energia acumulada.
Não carregue as baterias enquanto estiver a fazer a manutenção da máquina.
Para garantir que toda a máquina se encontra em boas condições de funcionamento, mantenha todas as ferragens devidamente apertadas.
Para reduzir o risco potencial de fogo, mantenha a zona da máquina livre de massa excessiva, folhas e sujidade.
Se possível, não faça manutenção com a máquina em funcionamento. Mantenha-se longe das peças móveis.
Se for necessário colocar a máquina em funcionamento para executar qualquer ajuste, deverá manter as mãos, pés, roupa e outras partes do corpo longe de quaisquer peças em movimento. Mantenha as pessoas afastadas da máquina.
Limpe as zonas que tenham óleo e combustível derramado.
Verifique o funcionamento do travão de estacionamento, como recomendado no programa de manutenção e ajuste e faça a manutenção como necessário.
Mantenha todas as peças da máquina em boas condições de trabalho e as ferragens corretamente apertadas. Substitua todos os autocolantes gastos ou danificados.
Nunca interfira na função original de um dispositivo de segurança nem reduza a proteção fornecida por um dispositivo de segurança.
Não acelere o motor através de alterações nos valores do regulador. Para garantir a segurança e precisão do motor, solicite a um representante de assistência autorizado a verificação do regime máximo do motor com um conta-rotações.
Se for necessário efetuar reparações de vulto ou se alguma vez necessitar de assistência, contacte um distribuidor autorizado Toro.
Qualquer alteração na máquina pode afetar a operação da máquina, o desempenho, a durabilidade, ou a sua utilização pode provocar lesões ou a morte. Tais alterações podem invalidar a garantia de produto prestada pela The Toro® Company.
| Intervalo de assistência | Procedimento de manutenção |
|---|---|
| Após as pimeiras 2 horas |
|
| Após as pimeiras 10 horas |
|
| Após as pimeiras 50 horas |
|
| Após as pimeiras 100 horas |
|
| Em todas as utilizações ou diariamente |
|
| A cada 25 horas |
|
| A cada 50 horas |
|
| A cada 100 horas |
|
| A cada 200 horas |
|
| A cada 400 horas |
|
| A cada 600 horas |
|
| A cada 800 horas |
|
| A cada 1000 horas |
|
| A cada 2000 horas |
|
Note: Descarregue uma cópia gratuita dos esquemas elétricos visitando www.Toro.com e procurando a sua máquina a partir da hiperligação de manuais na página inicial.
Important: Para informações detalhadas sobre os procedimentos de manutenção adicionais, consulte o Manual do utilizador do motor.
Apenas pessoal qualificado e autorizado deverá efetuar a manutenção, reparação, ajuste ou inspeção da máquina.
Evite os riscos de incêndio e mantenha disponível equipamento de combate a incêndios. Não utilize dispositivos de chama livre para verificar os níveis ou eventuais fugas de combustível, o eletrólito da bateria ou o fluido de arrefecimento.
Não limpe as peças com recipientes de combustível encetados, nem com produtos de limpeza inflamáveis.
Não efetuar a manutenção adequada da máquina pode resultar em falha prematura dos sistemas da máquina, podendo feri-lo a si ou as outras pessoas.
Mantenha uma boa manutenção e um bom estado de funcionamento da máquina, conforme indicado nestas instruções.
Se deixar a chave na ignição, alguém pode ligar acidentalmente o motor e feri-lo a si ou às pessoas que se encontrarem próximo da máquina.
Desligue o motor e retire a chave do interruptor antes de realizar qualquer manutenção.
Important: Se a máquina estiver sujeita a qualquer uma das condições que a seguir se enumeram, proceda à sua manutenção com o dobro da regularidade:
Funcionamento no deserto
Utilização em clima frio abaixo de 10°C
Reboque do atrelado
Utilização frequente em locais com muita poeira
Estaleiros
Após uma operação alargada em lama, areia, água ou condições de sujidade semelhantes, faça o seguinte:
Proceda à rápida inspeção e limpeza dos travões. Isto evita o desgaste excessivo causado por substâncias abrasivas.
Lave a máquina utilizando apenas água ou com um detergente suave.
Important: Não utilize água salobra ou recuperada para limpar a máquina.
Muitas das matérias abrangidas nesta secção de manutenção implicam elevar ou descer a plataforma. Para evitar ferimentos graves ou morte, tome as precauções seguintes.
Estacione a máquina numa superfície nivelada.
Engate o travão de estacionamento.
Esvazie e levante a plataforma de carga; consulte Elevação da plataforma de carga.
Desligue o motor do e retire a chave da ignição.
Deixe a máquina arrefecer antes de proceder à manutenção.
Important: Instale ou retire o apoio da plataforma a partir do exterior da plataforma.
Eleve a plataforma até atingir o curso máximo dos cilindros de elevação.
Retire o suporte da plataforma dos suportes existentes na parte de trás do painel do sistema ROPS (Figura 21).

Introduza o suporte da plataforma na haste do cilindro, assegurando que as linguetas encostam à extremidade do cilindro e à extremidade da haste do cilindro (Figura 22).

Retire o apoio da plataforma do cilindro e introduza-o nos suportes na parte de trás do painel do sistema ROPS.
Important: Não tente descer a plataforma com o apoio de segurança aplicado no cilindro.
Ligue o motor, engate a alavanca de elevação hidráulica e baixe a caixa até que os cilindros fiquem soltos nas ranhuras.
Solte a alavanca de elevação e desligue o motor.
Retire os pinos de sujeição das extremidades exteriores dos pinos de forquilha da haste do cilindro (Figura 23).

Retire os passadores de forquilha que prendem as extremidades da haste do cilindro nas placas de montagem da plataforma, empurrando os passadores para dentro (Figura 23).
Retire os pinos de sujeição e os passadores de forquilha que prendem os apoios articulados nos canais da estrutura (Figura 23).
Levante a caixa retirando-a da máquina.
A plataforma completa pesa cerca de 148 kg, por isso não tente montá-la nem retirá-la sozinho.
Utilize uma ponte rolante ou peça ajuda a 2 ou 3 pessoas.
Guarde os cilindros nos grampos de armazenamento.
Engate a alavanca de bloqueio de elevação hidráulica na máquina para evitar a extensão acidental dos cilindros de elevação.
Note: Se instalar as laterais da plataforma numa plataforma plana, é mais fácil instalá-las antes de colocar a plataforma na máquina.
Verifique se as placas articuladas posteriores estão presas ao canal/estrutura da plataforma, de modo que a extremidade inferior fique alinhada com a parte traseira (Figura 24).

A plataforma completa pesa cerca de 148 kg, por isso não tente montá-la nem retirá-la sozinho.
Utilize uma ponte rolante ou peça ajuda a 2 ou 3 pessoas.
Certifique-se de que os suportes dos espaçadores e os bloqueios contra desgaste (Figura 25) foram instalados na cabeça das porcas no interior da máquina.

Certifique-se de que os cilindros de elevação estão totalmente recolhidos.
Coloque a plataforma com cuidado no chassis, alinhando os orifícios posteriores da placa articulada da plataforma com os orifícios do canal traseiro e coloque os 2 passadores de forquilha e pinos de sujeição (Figura 25).
Depois de baixar a plataforma, fixe as extremidades da haste do cilindro às respetivas ranhuras nas placas de montagem da plataforma com um passador de forquilha e um pino de sujeição.
Introduza o passador de forquilha na parte exterior da plataforma com o pino de sujeição virado para fora (Figura 25).
Note: As ranhuras posteriores são utilizadas na instalação da plataforma completa; as ranhuras frontais são para a instalação da plataforma completa 2/3.
Note: Pode ser necessário ligar o motor para estender ou recolher os cilindros e alinhá-los com os orifícios.
Note: Pode tapar a ranhura não utilizada com um parafuso e uma porca para evitar erros de montagem.
Ligue o motor e engate a alavanca de elevação hidráulica para elevar a plataforma.
Solte a alavanca de elevação e desligue o motor.
Instale o suporte de segurança da plataforma para prevenir o abaixamento acidental; consulte Utilização do apoio da plataforma.
Instale os pinos de sujeição nas extremidades interiores dos passadores de forquilha.
Note: Se a plataforma tiver instalada a libertação automática da porta traseira, certifique-se de que o tirante de ligação frontal foi colocado no interior do passador de forquilha do lado esquerdo antes do pino de sujeição ser instalado.
Uma máquina apoiada por um macaco pode tornar-se instável e deslizar do macaco, ferindo quem se encontrar por baixo.
Não coloque o motor em funcionamento com a máquina apoiada num macaco, uma vez que a vibração do motor ou o movimento das rodas pode fazer com que a máquina se solte do macaco.
Retire sempre a chave da ignição antes de sair da máquina.
Bloqueie as rodas quando a máquina estiver suspensa no macaco.
Ao elevar a dianteira da máquina com um macaco, coloque sempre um bloco em madeira (ou em material semelhante) entre o macaco e o chassis.
O ponto de suspensão na zona dianteira da máquina fica debaixo do suporte do chassis central dianteiro (Figura 26).

O ponto de suspensão traseiro encontra-se por baixo do eixo (Figura 27).

Segurando firmemente no capot pelas aberturas dos faróis, eleve o capot para soltar as patilhas de montagem inferiores das ranhuras da estrutura (Figura 28).

Desloque a parte inferior do capot para cima até ser possível retirar as patilhas de montagem superiores das ranhuras da estrutura (Figura 28).
Incline a parte superior do capot para a frente e desligue os conectores de fios dos faróis (Figura 28).
Desmontagem do capot.
| Intervalo de assistência | Procedimento de manutenção |
|---|---|
| A cada 100 horas |
|
Tipo de lubrificante: Massa N.º 2 à base de lítio
Utilize um trapo para limpar o bocal de lubrificação para impedir a infiltração de resíduos nos rolamentos e casquilhos.
Com uma pistola de lubrificação, aplique lubrificante nos bocais de lubrificação da máquina.
Limpe qualquer excesso de lubrificante da máquina.
Important: Ao lubrificar as cruzetas dos veios propulsores, bombeie massa até que esta saia dos 4 copos em cada cruzeta.
A localização dos bocais de lubrificação e as quantidades são as seguintes:
Rótulas (4); consulte Figura 29
Barras de ligação (2); consulte Figura 29
Montagens articuladas (2); consulte Figura 29
Cilindro da direção (2); consulte Figura 29

Torre de mola (2); consulte Figura 30

Embraiagem (1); consulte Figura 31
Acelerador (1); consulte Figura 31
Travão (1); consulte Figura 31

Juntas em U (18); consulte Figura 32
Eixo da tração às 4 rodas (3); consulte Figura 32

Desligue o motor, retire a chave e espere até que todas as peças em movimento parem, antes de verificar o óleo ou adicionar óleo no cárter.
Mantenha as mãos, os pés, a cara, a roupa e outras partes do corpo afastados da panela de escape e de outras superfícies quentes.
| Intervalo de assistência | Procedimento de manutenção |
|---|---|
| A cada 25 horas |
|
| A cada 100 horas |
|
Inspecione o filtro e os tubos de ar periodicamente, para manter uma proteção máxima do motor e assegurar uma vida útil em serviço prolongada. Verifique se existe algum dano no corpo do filtro de ar que possa provocar uma fuga de ar. Substitua o corpo do filtro de ar se este se encontrar danificado.
Liberte os trincos do filtro de ar e puxe a tampa para fora do corpo do filtro (Figura 33).

Aperte os lados do tampão antipoeira para a abrir e retire o pó.
Deslize suavemente o filtro para fora do corpo do filtro (Figura 33).
Note: Evite que o filtro bata na parte lateral do corpo.
Note: Não tente limpar o filtro.
Inspecione o novo filtro para verificar se há danos olhando para o filtro com uma luz forte do lado de fora do filtro.
Note: Os furos no filtro são mostrados como pontos brilhantes. Verifique se o filtro tem rasgões, película de óleo ou o vedante de borracha danificado. Se o filtro estiver danificado, não o utilize.
Note: Só deve utilizar o motor quando o filtro e a cobertura estiverem montados; se não o fizer, poderá danificar o motor.
Deslize cuidadosamente o filtro sobre o tubo do corpo (Figura 33).
Note: Assegure-se de que fica está bem colocado empurrando-o pelo anel exterior do filtro quando o instalar.
Instale a tampa do filtro de ar com o lado virado para cima e prenda os trincos (Figura 33).
Note: A mudança de óleo deverá ser mais frequente se a máquina for utilizada em condições de grande poeira ou sujidade.
Note: Deverá eliminar o óleo do motor e os filtros do óleo usados num centro de reciclagem certificado.
Tipo de óleo: óleo detergente do motor (API, SJ ou superior)
Capacidade do cárter: 3,2 litros quando se substitui o filtro
Viscosidade: Veja a tabela seguinte.

| Intervalo de assistência | Procedimento de manutenção |
|---|---|
| Em todas as utilizações ou diariamente |
|
Note: A melhor altura para verificar o nível de óleo do motor será quando o motor estiver frio antes do dia de trabalho começar. Se já tiver funcionado, espere 10 minutos até o óleo voltar para o reservatório e verifique depois. Se o nível de óleo estiver exatamente na marca ou abaixo da marca Adicionar na vareta, adicione óleo até o nível atingir a marca Cheio. Não encha demasiado o motor com óleo. Se o nível de óleo se encontrar entre as marcas Cheio e Adicionar, não é necessário adicionar óleo.
Estacione a máquina numa superfície nivelada.
Engate o travão de estacionamento.
Desligue o motor e retire a chave.
Retire a vareta e limpe-a com um pano limpo (Figura 35).

Coloque a vareta no tubo e verifique se fica completamente introduzida (Figura 35).
Retire a vareta e verifique o nível de óleo (Figura 35).
Se o nível de óleo estiver baixo, retire o tampão de enchimento (Figura 35) e adicione óleo suficiente para elevar o nível de óleo até à marca Cheio existente na vareta.
Note: Ao adicionar óleo, retire a vareta para permitir uma ventilação adequada. Adicione o óleo lentamente e verifique o nível com alguma frequência durante o procedimento. Não encha demasiado o motor com óleo.
Important: Ao adicionar óleo ou ao proceder ao enchimento, tem de existir uma folga entre o dispositivo de enchimento e o orifício da tampa de válvulas como indicado na Figura 36. Esta folga é necessária para permitir a ventilação durante o enchimento, o que evita que o óleo passe para o respiro.

Volte a introduzir a vareta no tubo (Figura 35).
| Intervalo de assistência | Procedimento de manutenção |
|---|---|
| Após as pimeiras 50 horas |
|
| A cada 200 horas |
|
Eleve a plataforma e coloque o apoio de segurança no cilindro em extensão para segurar a plataforma.
Retire o tampão de escoamento e deixe o óleo escorrer para um recipiente adequado (Figura 37).

Quando o óleo parar, volte a montar o tampão de escoamento.
Retire o filtro do óleo (Figura 37).
Aplique uma leve camada de óleo limpo no vedante do filtro novo antes de o montar.
Enrosque o filtro até que a junta vedante entre em contato com a chapa de montagem. Depois, aperte o filtro 1/2 a 2/3 de volta.
Note: Não aperte demasiado.
Junte óleo suficiente ao cárter.
Note: As informações do código de falha de motor podem ser acedidas pelo pessoal de assistência de produtos comerciais Toro.
Estacione a máquina numa superfície nivelada.
Engate o travão de estacionamento.
Desligue o motor e retire a chave.
Contacte o Serviço de assistência autorizado.
| Intervalo de assistência | Procedimento de manutenção |
|---|---|
| Em todas as utilizações ou diariamente |
|
Coloque um recipiente limpo debaixo do filtro de combustível (Figura 38).
Liberte o tampão de escoamento que se encontra na zona inferior do recipiente do filtro.

Aperte o tampão de escoamento que se encontra na zona inferior do recipiente do filtro.
| Intervalo de assistência | Procedimento de manutenção |
|---|---|
| A cada 400 horas |
|
Drene água do separador de água; consulte Drenagem do filtro de combustível/separador de água.
Limpe a zona de montagem do filtro (Figura 38).
Retire o filtro e limpe a superfície de montagem.
Lubrifique a junta do filtro com óleo limpo.
Monte o filtro manualmente até que a junta entre em contacto com a superfície de montagem, rodando em seguida mais 1/2 volta.
Aperte o tampão de escoamento que se encontra na zona inferior do recipiente do filtro.
| Intervalo de assistência | Procedimento de manutenção |
|---|---|
| A cada 400 horas |
|
Verifique as tubagens de combustível, as uniões e os grampos para ver se existem sinais de deterioração, danos ou ligações soltas.
Note: Repare qualquer componente do sistema de combustível danificado ou com fuga antes de utilizar a máquina.
Desligue a bateria antes de reparar a máquina. Desligue o terminal negativo em primeiro lugar e o terminal positivo no final. Ligue o positivo em primeiro lugar e o terminal negativo no final.
Carregue a bateria num espaço aberto e bem ventilado, longe de faíscas e chamas. Retire a ficha do carregador da tomada antes de o ligar ou desligar da bateria. Utilize roupas adequadas e ferramentas com isolamento.
O arranque com cabos de bateria pode ser perigoso. Para evitar lesões pessoais ou danos em componentes elétricos da máquina, respeite os seguintes avisos:
Nunca faça uma ligação direta a uma bateria externa com uma tensão superior a 15 V CC. Isso danificaria o sistema elétrico.
Nunca tente fazer a ligação direta a bateria externa a uma bateria descarregada que esteja congelada. Esta pode rebentar ou explodir durante o procedimento de carga.
Respeite todos os avisos relativos à bateria ao fazer uma ligação direta a bateria externa.
Verifique se a máquina não está encostada à máquina que fornece a corrente da bateria externa.
Se ligar os cabos aos pólos errados poderá provocar lesões pessoais e/ou danificar o sistema elétrico.
Aperte a tampa da bateria para soltar as patilhas da base da bateria e remova a tampa da base da bateria (Figura 41).

Ligue um cabo entre os pólos positivos das duas baterias (Figura 42).
Note: O pólo positivo pode identificar-se por um sinal + na parte de cima da tampa da bateria.
Ligue uma extremidade do outro cabo ao terminal negativo da bateria da outra máquina.
Note: O terminal negativo tem a marca “NEG” gravada na tampa da bateria.
Note: Não ligue a outra extremidade do cabo de ligação ao terminal negativo da bateria descarregada. Ligue o cabo de ligação ao motor ou chassis. Não ligue o cabo de ligação ao sistema de combustível.

Ponha o motor a funcionar na máquina que está a fornecer corrente.
Note: Deixe-o funcionar alguns minutos e, em seguida, ponha o motor da sua máquina a funcionar.
Retire o cabo de ligação negativo em primeiro lugar do motor da sua máquina, e depois da bateria da outra máquina.
Instale a tampa da bateria na base da bateria.
| Intervalo de assistência | Procedimento de manutenção |
|---|---|
| A cada 50 horas |
|
O eletrólito da bateria contém ácido sulfúrico, uma substância extremamente venenosa que é fatal e causa queimaduras graves.
Não ingira o eletrólito nem deixe que este entre em contacto com a pele, olhos e roupa. Utilize óculos de proteção para proteger os olhos e luvas de borracha para proteger as mãos.
Ateste a bateria apenas em locais onde exista água limpa para lavar as mãos.
Mantenha sempre a bateria limpa e totalmente carregada.
Se os terminais da bateria se encontrarem corroídos, limpe-os com uma solução de 4 partes de água e 1 parte de bicarbonato de sódio.
Aplique uma leve camada de massa nos terminais da bateria para evitar a corrosão.
Mantenha o nível de eletrólito da bateria.
Mantenha a zona superior da bateria limpa, lavando-a periodicamente com uma escova molhada em amónia ou numa solução de bicarbonato de sódio. Após a sua limpeza, enxagúe a superfície superior da bateria com água. Não retire a tampa de enchimento durante a limpeza.
Os cabos da bateria deverão encontrar-se bem apertados, de modo a proporcionar um bom contacto elétrico.
O nível de eletrólito das células deverá ser mantido utilizando água destilada ou desmineralizada. Não encha acima do fundo do anel no interior de cada uma das células.
Se guardar a máquina num local onde as temperaturas sejam muito elevadas, a bateria perde a sua carga mais rapidamente do que num ambiente mais fresco.
| Intervalo de assistência | Procedimento de manutenção |
|---|---|
| A cada 100 horas |
|
Estacione a máquina numa superfície nivelada.
Engate o travão de estacionamento.
Desligue o motor e retire a chave.
Limpe a área em torno do bujão de enchimento/controlo na parte lateral do diferencial (Figura 43).

Retire o bujão de enchimento/controlo e verifique o nível do óleo.
Note: O óleo deverá estar ao nível do orifício.
Se o nível de óleo estiver baixo, adicione óleo especificado.
Coloque o bujão de enchimento/controlo.
| Intervalo de assistência | Procedimento de manutenção |
|---|---|
| A cada 800 horas |
|
Especificação do óleo do diferencial: Fluido hidráulico Mobil 424
Estacione a máquina numa superfície nivelada.
Engate o travão de estacionamento.
Desligue o motor e retire a chave.
Limpe a área em torno do tampão de escoamento na parte lateral do diferencial (Figura 43).
Coloque um recipiente de escoamento debaixo do tampão de escoamento.
Retire o tampão de escoamento e deixe o óleo escorrer para um recipiente adequado.
Monte e aperte o tampão quando o óleo parar de escorrer.
Limpe a área em torno do bujão de enchimento/controlo na parte inferior do diferencial.
Retire o bujão de enchimento/controlo e adicione óleo especificado até ao orifício.
Coloque o bujão de enchimento/controlo.
| Intervalo de assistência | Procedimento de manutenção |
|---|---|
| A cada 200 horas |
|
Inspecione os foles das juntas homocinéticas quanto a fendas, furos ou braçadeiras soltas. Contate o seu representante Toro autorizado para reparar qualquer dano.
| Intervalo de assistência | Procedimento de manutenção |
|---|---|
| Após as pimeiras 10 horas |
|
| A cada 200 horas |
|
Desloque a alavanca das mudanças para a posição PONTO MORTO.
Desmonte os passadores que fixam os cabos aos braços de comando do conjunto eixo-transmissão (Figura 44).

Alivie as porcas dos passadores e afine cada um dos passadores, até que a folga do cabo seja idêntica nas duas direções, em relação ao orifício do braço de comando do conjunto eixo-transmissão (com a alavanca seletora sem folga na mesma direção).
Instale os passadores e aperte as porcas quando terminar.
| Intervalo de assistência | Procedimento de manutenção |
|---|---|
| A cada 200 horas |
|
Retire o passador que prende o cabo de gama alta/baixa à transmissão (Figura 44).
Alivie a porca e afine o passador de forma a que o orifício esteja alinhado com o suporte do conjunto eixo-transmissão.
Instale o passador e aperte a porca quando terminar.
| Intervalo de assistência | Procedimento de manutenção |
|---|---|
| A cada 200 horas |
|
Desloque a alavanca de bloqueio do diferencial para a posição DESLIGAR.
Alivie as porcas de segurança que fixam o cabo de bloqueio do diferencial ao suporte no conjunto eixo-transmissão (Figura 45).

Afine as porcas de segurança para obter uma folga de 0,25 mm a 1,5 mm entre o gancho da mola e o diâmetro exterior do orifício da alavanca do conjunto eixo-transmissão.
Aperte as porcas de retenção quando concluir.
| Intervalo de assistência | Procedimento de manutenção |
|---|---|
| A cada 100 horas |
|
Especificação da pressão de ar dos pneus dianteiros: 2,2 bar
Especificação da pressão de ar dos pneus traseiros: 1,24 bar
Os acidentes de trabalho, tais como embater contra bermas de passeios elevados, poderão danificar o pneu ou a jante, mas também desalinhar as rodas; deverá, por isso, verificar o estado dos pneus após um acidente.
Important: Verifique frequentemente a pressão dos pneus para assegurar o insuflamento correto. Se os pneus não estiverem insuflados na pressão correta, os pneus desgastam-se prematuramente e podem causar a limitação da tração às quatro rodas.
A Figura 46 é um exemplo de desgaste do pneu causado por insuflamento abaixo do indicado.

A Figura 47 é um exemplo de desgaste do pneu causado por insuflamento acima do indicado.

| Intervalo de assistência | Procedimento de manutenção |
|---|---|
| A cada 400 horas |
|
Assegure que as pressões dos pneus estão corretas antes de verificar o alinhamento da roda da frente; consulte a Verificação da pressão dos pneus.
Deve estar um operador sentado no banco do operador ou deve adicionar peso ao banco do operador igual ao operador médio do veículo.
O operador ou o peso deve permanecer no banco durante o procedimento de alinhamento da roda da frente.
Numa superfície nivelada, desloque a máquina 2 a 3 m para trás e, em seguida, para a frente para a posição inicial original.
Isto vai permitir à suspensão da máquina assentar na posição de funcionamento normal.
Assegure que os pneus estão em posição de avanço em linha reta.
Meça a distância entre os pneus dianteiros à altura do eixo na zona dianteira e traseira dos pneus dianteiros (Figura 48).
O alinhamento das rodas dianteiras deve ser 0 ± 6 mm.
Important: Verifique as medições em locais consistentes do pneu. A máquina deve encontrar-se numa superfície plana com os pneus em posição de avanço em linha reta.

Se o alinhamento da roda dianteira estiver incorreto, ajuste da seguinte forma:
Desaperte a porca de retenção no centro da barra de ligação (Figura 49).

Rode ambas as barras para deslocar a zona dianteira do pneu para o interior ou para o exterior.
Aperte as porcas da barra de direção quando a operação de ajuste estiver concluída.
Aperte as três porcas com uma força de 62 a 74 N·m.
Após a conclusão do alinhamento das rodas, certifique-se de existe movimento completo em ambas as direções.
Não deve haver contacto entre os componentes da máquina quando move as rodas de um lado para o outro. Efetue um novo ajuste, se necessário.
| Intervalo de assistência | Procedimento de manutenção |
|---|---|
| Após as pimeiras 2 horas |
|
| Após as pimeiras 10 horas |
|
| A cada 200 horas |
|
Especificações de aperto das porcas das rodas: 109 a 122 N∙m
Aperte a porcas das rodas da frente e de trás num padrão cruzado, como se mostra na Figura 50 com o aperto especificado.

Engolir o líquido de refrigeração do motor pode causar envenenamento; mantenha-o afastado do alcance das crianças e dos animais.
Descarregar líquido de refrigeração pressurizado e quente ou tocar num radiador quente ou nas peças envolventes pode causar queimaduras graves.
Deixe o motor arrefecer, pelo menos, 15 minutos antes de retirar o tampão do radiador.
Use um trapo quando abrir o tampa do radiador, fazendo-o lentamente para permitir a saída do vapor.
Não opere a máquina sem as coberturas instaladas.
Mantenha os dedos, as mãos e a roupa afastados da ventoinha a rodar e da correia da transmissão.
Desligue o motor e retire a chave da ignição antes de proceder à manutenção.
| Intervalo de assistência | Procedimento de manutenção |
|---|---|
| Em todas as utilizações ou diariamente |
|
Capacidade do sistema de arrefecimento: 3,7 litros
Tipo de líquido de refrigeração: uma solução 50/50 de água e anticongelante etileno glicol permanente
Se o motor esteve em funcionamento, o líquido de refrigeração pressurizado e quente pode derramar-se e provocar queimaduras.
Não abra o radiador nem adicione líquido de refrigeração ao radiador; fazê-lo introduz ar no sistema que causará danos no motor. Adicione líquido de refrigeração apenas no reservatório.
Não abra o tampão do radiador quando o motor estiver a funcionar.
Use um trapo quando abrir o tampa do radiador, fazendo-o lentamente para permitir a saída do vapor.
Estacione a máquina numa superfície nivelada.
Mova a alavanca da transmissão para a posição P (ESTACIONAR).
Desligue o motor e retire a chave.
Verifique o nível de líquido de arrefecimento dentro do depósito secundário.

Note: O líquido de arrefecimento deve chegar à parte inferior do tubo de enchimento, quando o motor está frio.
Se o líquido de arrefecimento estiver baixo, retire a tampa do depósito do líquido de arrefecimento e adicione um anticongelante com 50% de etilenoglicol com tecnologia de ácidos orgânicos (OAT) e 50% de água destilada.
Não encha demasiado.
Aperte manualmente a tampa do depósito de reserva.
| Intervalo de assistência | Procedimento de manutenção |
|---|---|
| Em todas as utilizações ou diariamente |
|
Estacione a máquina numa superfície nivelada.
Engate o travão de estacionamento.
Desligue o motor e retire a chave.
Limpe todos os detritos na área do motor.
Desengate e retire o filtro do radiador da frente do radiador (Figura 52).

Se estiver equipado, rode as patilhas e incline o refrigerador de óleo afastando-o do radiador (Figura 53).

Limpe o radiador, o refrigerador de óleo e o filtro com ar comprimido.
Note: Limpe os detritos do radiador com ar comprimido.
Instale o refrigerador e filtro no radiador.
| Intervalo de assistência | Procedimento de manutenção |
|---|---|
| A cada 1000 horas |
|
Capacidade do sistema de arrefecimento: 3,7 litros
Tipo de líquido de refrigeração: uma solução 50/50 de água e anticongelante etileno glicol permanente
Contacte o distribuidor Toro autorizado.
| Intervalo de assistência | Procedimento de manutenção |
|---|---|
| Em todas as utilizações ou diariamente |
|
| A cada 1000 horas |
|
Tipo de fluido dos travões: DOT 3
Estacione a máquina numa superfície nivelada.
Engate o travão de estacionamento.
Desligue o motor e retire a chave.
Eleve novamente o capot para aceder ao cilindro principal do travão e reservatório (Figura 54).

Certifique-se de que o nível do fluido está ao nível da linha de Cheio indicada no reservatório (Figura 55).

Se o nível de fluido for baixo, limpe a zona em torno da tampa, retire-a, e encha o reservatório até atingir o nível adequado com o fluido de travões especificado (Figura 55).
Note: Não encha demasiado o reservatório com fluido dos travões.
| Intervalo de assistência | Procedimento de manutenção |
|---|---|
| Após as pimeiras 10 horas |
|
| A cada 200 horas |
|
Retire a pega de borracha da alavanca do travão de estacionamento (Figura 56).

Desaperte o parafuso de afinação que fixa o manípulo à alavanca do travão de estacionamento (Figura 57).

Rode o manípulo (Figura 57) até ser necessária uma força de 20 a 22 kg para ativar a alavanca.
Aperte o parafuso de afinação quando concluir (Figura 57).
Note: Quando já não conseguir afinar o travão de estacionamento ajustando a alavanca do travão de estacionamento, desaperte o manípulo até ao meio do ajuste e ajuste o cabo na traseira, depois repita o passo 3.
Coloque a pega de borracha na alavanca do travão de estacionamento (Figura 56).
| Intervalo de assistência | Procedimento de manutenção |
|---|---|
| A cada 200 horas |
|
Note: Remova o capot da frente para facilitar o procedimento de ajuste.
Retire o perno de gancho e o passador de forquilha que fixam a culatra do cilindro principal ao ponto de articulação do pedal de travão (Figura 58).

Levante o pedal de travão (Figura 59) até que este entre em contacto com a estrutura.
Desaperte as porcas de retenção que fixam a culatra ao eixo do cilindro principal (Figura 59).
Ajuste a culatra de modo a que os orifícios se encontrem alinhados com o orifício existente no ponto de articulação do pedal de travão.
Fixe a culatra ao ponto de articulação do pedal de travão com o passador de forquilha e o perno de gancho.
Aperte as porcas de retenção que fixam a culatra ao eixo do cilindro principal.
Note: O cilindro principal do travão deve aliviar a pressão quando está propriamente ajustado.

| Intervalo de assistência | Procedimento de manutenção |
|---|---|
| Após as pimeiras 10 horas |
|
| A cada 200 horas |
|
Eleve a plataforma e posicione o apoio de segurança no cilindro de elevação em extensão para prender a plataforma.
Verifique a tensão pressionando a correia a meio curso entre a cambota e as polias do alternador com uma força de 10 kg (Figura 60).
Note: Uma correia nova deve atingir um desvio de 8 a 12 mm.
Note: Uma correia usada deve atingir um desvio de 10 a 14 mm. Se a deflexão for incorreta prossiga para o passo seguinte. Se estiver correta, continue a operação.
Para ajustar a tensão da correia, proceda como se indica a seguir:
| Intervalo de assistência | Procedimento de manutenção |
|---|---|
| A cada 200 horas |
|
Note: Pode ajustar o cabo da embraiagem no cárter do volante ou no ponto de articulação do pedal da embraiagem. O capot frontal pode ser retirado para facilitar o acesso ao ponto de articulação do pedal.
Alivie as porcas de retenção que fixam o cabo ao suporte no cárter do volante (Figura 61).
Note: A rótula pode ser desmontada e rodada caso se mostre necessária afinação adicional.

Desligue a mola de retorno da alavanca da embraiagem.
Ajuste as porcas ou as juntas até que a extremidade traseira do pedal de embraiagem esteja a 9,2 a 9,8 cm da parte superior da chapa do piso, aplicando uma força de 1,8 kg no pedal (Figura 62).

Note: É aplicada força de modo a que a libertação da embraiagem toque ligeiramente nos orifícios de pressão da chapa.
Aperte as porcas de retenção para obter o ajuste adequado.
Volte a verificar as dimensões 9,2 a 9,8 cm depois das porcas terem sido apertadas, para assegurar o ajuste adequado.
Note: Volte a ajustar, se necessário.
Ligue a mola de retorno à alavanca da embraiagem.
Important: Certifique-se que a extremidade da barra está posicionada firmemente na esfera, sem torcer, e permanece paralela ao pedal de embraiagem depois da porca ter sido apertada (Figura 63).
Note: A folga livre da embraiagem não deve ser inferior a 19 mm.

Estacione a máquina numa superfície plana, engate o travão de estacionamento, desligue o motor e retire a chave da ignição.
Ajuste a rótula do cabo de acelerador (Figura 64) para permitir uma folga de 2,54 a 6,35 mm entre o braço do pedal de acelerador e a parte superior da chapa do piso (Figura 65), quando aplica uma força de 11,3 kg ao centro do pedal.
Note: O motor não pode estar a funcionar e a mola de retorno tem de estar ligada.
Aperte a porca de bloqueio (Figura 64).


Important: A velocidade máxima do ralenti elevado é de 3.650 rpm. Não ajuste o limite do ralenti elevado.
Em caso de penetração do fluido na pele, consulte imediatamente um médico. O fluido injetado tem de ser cirurgicamente retirado por um médico no prazo de algumas horas.
Antes de desligar ou executar quaisquer tarefas no sistema hidráulico, deve eliminar a pressão existente no sistema, desligando o motor, efetuando o ciclo de subida e descida da válvula de descarga e/ou descendo a caixa e os eventuais acessórios. Coloque a alavanca de controlo hidráulico remoto na posição flutuante. Não trabalhe debaixo de uma plataforma elevada sem o devido suporte de segurança da plataforma instalado.
Certifique-se de que todas as tubagens e mangueiras do óleo hidráulico se encontram bem apertadas e em bom estado de conservação antes de colocar o sistema sob pressão.
Mantenha as mãos e o corpo longe de fugas ou bicos que projetem fluido hidráulico sob pressão.
Utilize um pedaço de cartão ou papel para encontrar fugas do fluido hidráulico.
Tipo de fluido do eixo da transmissão:( Dexron III ATF
| Intervalo de assistência | Procedimento de manutenção |
|---|---|
| Em todas as utilizações ou diariamente |
|
Estacione a máquina numa superfície nivelada.
Engate o travão de estacionamento.
Desligue o motor e retire a chave.
Limpe a zona em redor da vareta (Figura 66).

Desaperte a vareta da parte superior do conjunto eixo-transmissão e limpe-a com um trapo limpo.
Volte a apertar a vareta no conjunto eixo-transmissão e verifique se está completamente introduzida.
Retire a vareta e verifique o nível de fluido.
Note: Este deve situar-se pela parte superior da porção plana da vareta.
Se o nível estiver baixo, adicione o suficiente do fluido especificado até atingir o nível adequado; consulte a Especificações do eixo-transmissão/fluido hidráulico.
| Intervalo de assistência | Procedimento de manutenção |
|---|---|
| A cada 800 horas |
|
Capacidade de fluido hidráulico: 7 litros
Estacione a máquina numa superfície nivelada.
Engate o travão de estacionamento.
Desligue o motor e retire a chave.
Retire o tampão de escoamento da parte lateral do reservatório e deixe o fluido hidráulico escorrer para o recipiente (Figura 67).

Repare na posição do tubo hidráulico e no conector de 90° ligado ao filtro de rede do lado do reservatório (Figura 68).
Retire o tubo hidráulico e o conector de 90°.
Desmonte o filtro de rede e lave-o em sentido inverso do fluxo com um produto desengordurante.
Note: Deixe-o secar ao ar antes de voltar a montar.

Instale o filtro de rede.
Ligue o tubo hidráulico e o conector de 90° ao filtro de rede na mesma orientação.
Coloque e aperte o tampão de escoamento.
Encha o reservatório com aproximadamente 7 litros do fluido hidráulico especificado; consulte Verificação do nível do fluido do conjunto eixo-transmissão/hidráulico.
Ligue o motor e conduza a máquina para encher o sistema hidráulico.
Verifique o nível de fluido hidráulico e junte mais, se necessário.
Important: Utilize apenas o fluido hidráulico especificado. Outros fluidos podem danificar o sistema.
| Intervalo de assistência | Procedimento de manutenção |
|---|---|
| Após as pimeiras 10 horas |
|
| A cada 800 horas |
|
Important: A utilização de outro filtro poderá anular a garantia de alguns componentes.
Estacione a máquina numa superfície nivelada.
Engate o travão de estacionamento.
Desligue o motor e retire a chave.
Limpe a zona em torno da montagem do filtro.
Coloque um recipiente de escoamento debaixo do filtro e retire o filtro (Figura 69).

Lubrifique a junta vedante do filtro novo.
Certifique-se de que a zona de montagem do filtro se encontra limpa.
Aperte o filtro até que a junta toque na placa de montagem e aperte o filtro 1/2 volta.
Ligue o motor e deixe funcionar a máquina durante dois minutos para eliminar o ar do sistema.
Desligue o motor e verifique o nível de fluido hidráulico e eventuais fugas.
O reservatório é enchido na fábrica com fluido hidráulico de grande qualidade. Verifique o nível de fluido hidráulico antes de ligar o motor pela primeira vez e diariamente a partir daí; consulte a Verificação do nível de fluido hidráulico de grande fluxo.
Fluido de substituição recomendado: Fluido hidráulico Toro PX Extended Life (disponível em recipientes de 19 litros ou tambores de 208 litros).
Note: Uma máquina que utilize o fluido de substituição recomendado requer substituições de fluido e filtro menos frequentes.
Fluidos alternativos: Se o Fluido hidráulico Toro PX Extended Life não estiver disponível, pode utilizar outros fluidos hidráulicos convencionais à base de petróleo, desde que as respetivas especificações cumpram os intervalos indicados de todas as propriedades seguintes dos materiais e que cumpram as normas industriais. Não utilize fluido sintético. Consulte o seu distribuidor de lubrificantes para identificar um produto satisfatório.
Note: A Toro não assume a responsabilidade por danos causados devido ao uso de substitutos inadequados, pelo que recomendamos a utilização exclusiva de produtos de fabricantes com boa reputação no mercado.
| Propriedades do material: | ||
| Viscosidade, ASTM D445 | cSt a 40°C 44 a 48 | |
| Índice de viscosidade ASTM D2270 | 140 ou superior | |
| Ponto de escoamento, ASTM D97 | -37°C a -45°C | |
| Especificações industriais: | Eaton Vickers 694 (I-286-S, M-2950-S/35VQ25 ou M-2952-S) | |
Note: A maioria dos fluidos são incolores, o que dificulta a deteção de fugas. Encontra-se à sua disposição um aditivo vermelho para o fluido hidráulico, em recipientes de 20 ml. Um recipiente é suficiente para 15 a 22 litros de fluido hidráulico. Poderá encomendar a peça N.º 44-2500 ao seu distribuidor Toro.
| Intervalo de assistência | Procedimento de manutenção |
|---|---|
| Em todas as utilizações ou diariamente |
|
Estacione a máquina numa superfície nivelada.
Engate o travão de estacionamento.
Desligue o motor e retire a chave.
Limpe a zona em redor do tubo de enchimento e da tampa do depósito hidráulico (Figura 70).
Retire a tampa do tubo de enchimento.

Retire a vareta (Figura 70) do tubo de enchimento e limpe-a com um pano limpo.
Introduza a vareta no tubo de enchimento; retire-a e verifique o nível do fluido.
Note: O nível deverá encontrar-se entre as duas marcas da vareta.
Se o nível estiver baixo, junte fluido suficiente para o nível subir até à marca superior; consulte Substituição do fluido hidráulico de grande fluxo e filtro.
Volte a colocar a tampa e a vareta no tubo de enchimento.
Ligue o motor e ligue o engate.
Note: Deixe-os funcionar durante cerca de dois minutos para eliminar o ar do sistema.
Important: A máquina tem de estar ligada antes de ativar a hidráulica de alto fluxo.
Desligue o motor e engate e verifique se existem fugas.
| Intervalo de assistência | Procedimento de manutenção |
|---|---|
| A cada 800 horas |
|
| A cada 1000 horas |
|
| A cada 2000 horas |
|
Capacidade de fluido hidráulico: aproximadamente 15 litros.
Estacione a máquina numa superfície nivelada.
Engate o travão de estacionamento.
Desligue o motor e retire a chave.
Limpe a zona em torno da montagem do filtro de alto fluxo (Figura 69).
Coloque um recipiente de escoamento debaixo do filtro e retire o filtro.
Note: Se não vai drenar o fluido, desligue e tape a linha hidráulica que vai para o filtro.
Lubrifique o vedante do novo filtro e aperte manualmente o filtro na respetiva cabeça até que o vedante entre em contacto com a cabeça do filtro. Em seguida, aperte mais 3/4 de volta. O filtro deve estar vedado.
Encha o reservatório hidráulico com cerca de 15 litros de fluido hidráulico.
Ligue a máquina e deixe-a funcionar ao ralenti durante cerca de 2 minutos para distribuir o fluido e eliminar todo o ar existente no sistema.
Pare a máquina e verifique o nível de fluido.
Verifique o nível de fluido.
Elimine o fluido de forma adequada.
A plataforma de carga pode ser elevada numa emergência sem ligar o motor, fazendo rodar o motor de arranque ou ligando diretamente o sistema hidráulico.
Faça rodar o motor de arranque e mantenha a alavanca de elevação na posição Elevar. Faça rodar o motor de arranque durante 10 segundos e aguarde depois 60 segundos antes de o voltar a acionar. Se o motor não rodar, a plataforma e a caixa (engate) têm de ser desmontadas para reparação do motor ou do conjunto eixo-transmissão.
Uma plataforma elevada cheia de material sem a haste de sustentação de segurança adequada pode descer inesperadamente. Trabalhar sob uma plataforma elevada não sustentada pode feri-lo a si ou aos outros.
Antes do serviço de reparação ou afinação da máquina, estacione a máquina numa superfície nivelada, engate o travão de estacionamento, desligue o motor e retire a chave.
Retire qualquer material carregado na plataforma ou em outro acessório e coloque a sustentação de segurança numa haste do cilindro totalmente estendida antes de iniciar o trabalho por baixo da plataforma.
São necessárias duas mangueiras hidráulicas, cada uma delas equipada com um acoplador rápido macho e fêmea, adequadas aos acopladores rápidos do veículo, para realizar esta operação.
Posicione outra máquina na zona traseira da máquina parada.
Important: O sistema hidráulico da máquina utiliza Dexron III ATF. Para evitar a contaminação do sistema, certifique-se de que o veículo utilizado na ligação direta do sistema hidráulico utiliza um fluido equivalente.
Desligue, em ambas as máquinas, as 2 mangueiras de acoplamento rápido das mangueiras ligadas ao suporte do acoplamento (Figura 71).

Na máquina parada, ligue as duas mangueiras de ligação às mangueiras que foram desligadas (Figura 72).
Tape as juntas desnecessárias.

Na outra máquina, ligue as duas mangueiras ao acoplador que ainda se encontra no suporte de acoplamento (ligue a mangueira superior ao acoplador superior e a mangueira inferior ao acoplador inferior) (Figura 73).
Tape as juntas desnecessárias.

Mantenha todos os observadores afastados das máquinas.
Ligue a segunda máquina e desloque a alavanca de elevação para a posição Elevar, de forma a elevar a plataforma de carga desativada.
Mova a alavanca de elevação hidráulica para a posição PONTO MORTO e engate o bloqueio da alavanca de elevação.
Instale o apoio da plataforma no cilindro em extensão; consulte Utilização do apoio da plataforma.
Note: Com ambas as máquinas desligadas, desloque a alavanca de elevação para trás e para a frente, de forma a eliminar a pressão do sistema e facilitar o desengate dos acopladores rápidos.
Após a conclusão da operação, retire as mangueiras de ligação e ligue as mangueiras hidráulicas a ambas as máquinas.
Important: Verifique os níveis de fluido hidráulico em ambas as máquinas, antes de retomar a operação.
Lave a máquina quando necessário utilizando apenas água ou com um detergente suave. Pode ser utilizado um pano ao lavar a máquina.
Important: Não utilize água salobra ou recuperada para limpar a máquina.
Important: Não utilize equipamento de lavagem elétrico para lavar a máquina. Usar equipamento de lavagem elétrico pode danificar o sistema elétrico, eliminar alguns autocolantes importantes ou eliminar a massa lubrificante existente em alguns pontos de fricção. Evite a utilização excessiva de água próximo da zona do painel de controlo, motor e bateria.
Important: Não lave a máquina quando o motor se encontrar em funcionamento. Lavar a máquina com o motor ligado pode causar danos internos ao motor.
Desligue a máquina, retire a chave e aguarde até que todo o movimento pare, antes de sair da posição de operação. Deixe a máquina arrefecer antes de ajustar, fazer manutenção, limpar ou armazenar.
Não guarde a máquina ou o recipiente de combustível onde uma fonte de fogo, faísca ou luz piloto, como junto de uma caldeira ou outros eletrodomésticos.
| Intervalo de assistência | Procedimento de manutenção |
|---|---|
| Após as pimeiras 50 horas |
|
| A cada 200 horas |
|
| A cada 400 horas |
|
| A cada 600 horas |
|
Estacione a máquina numa superfície plana, engate o travão de estacionamento, desligue o motor e retire a chave da ignição.
Limpe a sujidade e a fuligem de toda a máquina, incluindo a parte exterior das aletas da cabeça do cilindro e o revestimento da turbina.
Inspecione os travões; consulte Verificação do nível de fluido dos travões.
Efetue a manutenção do filtro de ar; consulte Manutenção do filtro de ar.
Vede a entrada do filtro de ar e a saída de gases com fita impermeável.
Lubrifique a máquina; consulte Lubrificação dos rolamentos e casquilhos.
Substitua o filtro e o óleo do motor; consulte Substituição do óleo e do filtro do motor.
Lave o depósito de combustível com gasóleo novo e limpo.
Aperte todas as juntas do sistema de combustível.
Verifique a pressão dos pneus; consulte Verificação da pressão dos pneus.
Verifique a proteção anticongelante e adicione uma solução de água e anticongelante adequada à temperatura mínima prevista para a zona.
Retire a bateria do chassis, verifique o nível do eletrólito e carregue a bateria; consulte Manutenção da bateria.
Note: Não ligue os cabos da bateria aos polos da bateria durante o armazenamento.
Important: A bateria deve ser totalmente carregada para evitar que congele e seja danificada por temperaturas inferiores a 0°C. Uma bateria totalmente carregada mantém a carga durante cerca de 50 dias com uma temperatura inferior a 4°C. Se as temperaturas forem superiores a 4°C, verifique o nível da água na bateria e carregue-a cada 30 dias.
Verifique e aperte todos os pernos, porcas e parafusos. Repare ou substitua qualquer peça danificada.
Pinte todas as superfícies de metal arranhadas ou descascadas.
O serviço de pintura é disponibilizado pelo Representante de assistência autorizado.
Guarde a máquina numa garagem ou armazém limpo e seco.
Tape a máquina para a proteger e mantê-la limpa.
| Problem | Possible Cause | Corrective Action |
|---|---|---|
| É difícil usar os acopladores rápidos são desligar conectores. |
|
|
| A direção assistida é dura. |
|
|
| As uniões hidráulicas têm fugas. |
|
|
| Um engate não funciona. |
|
|
| O motor não arranca. |
|
|