| 整備間隔 | 整備手順 |
|---|---|
| 使用するごとまたは毎日 |
|
この製品は、公道以外の場所で主に人や資材を運搬することを目的として製造されている汎用作業車です。この機械は本来の目的から外れた使用をすると運転者本人や周囲の人間に危険な場合があります。
この説明書を読んで製品の運転方法や整備方法を十分に理解し、他人に迷惑の掛からないまた適切な方法でご使用ください。この製品を適切かつ安全に使用するのはお客様の責任です。
製品の安全や取り扱い講習、アクセサリなどに関する情報、代理店についての情報の入手、お買い上げ製品の登録などをネットで行っていただくことができます:www.Toro.com
整備について、また純正部品についてなど、分からないことはお気軽に弊社代理店またはカスタマーサービスにおたずねください。お問い合わせの際には、必ず製品のモデル番号とシリアル番号をお知らせください。図 1 にモデル番号とシリアル番号の表示位置を示します。いまのうちに番号をメモしておきましょう。
Important: シリアル番号デカルについている QR コード(無い場合もあります)をモバイル機器でスキャンすると、製品保証、パーツその他の製品情報にアクセスできます。

この他に2つの言葉で注意を促しています。重要「重要」は製品の構造などについての注意点を、注はその他の注意点を表しています。
危険警告記号(図 2)は、このマニュアルと実機上とに表示され、事故防止のために守るべき重要な注意事項を示します。記号の脇に、危険、警告、または注意の文字表記が付きます。
危険は人の生命に関わる重大な潜在的危険を意味します。この注意を守らないと死亡事故や重大な人身事故が起こります。
警告は人の生命に関わる潜在的危険を意味します。この注意を守らないと死亡事故や重大な人身事故が起こる恐れがあります。
注意は安全に関わる潜在的危険を意味します。この注意を守らないとけがをする可能性があります。

この製品は、関連するEU規制に適合しています; 詳細については、DOC シート(規格適合証明書)をご覧ください。
カリフォルニア州の森林地帯・潅木地帯・草地などでこの機械を使用する場合には、エンジンに同州公共資源法第4442章に規定される正常に機能するスパークアレスタが装着されていること、エンジンに対して森林等の火災防止措置をほどこされていることが義務づけられており、これを満たさない機械は、第4442章または4443章違犯となります。
エンジンの保守整備のため、および米国環境保護局(EPA)並びにカリフォルニア州排ガス規制に関連してエンジンマニュアルを同梱しております。エンジンマニュアルはエンジンのメーカーから入手することができます。
このマシンにテレマティクスデバイスが装備されている場合、Toro認定代理店にお問い合わてデバイスをアクティベートしてください。
カリフォルニア州
第65号決議による警告
カリフォルニア州では、ディーゼルエンジンの排気には発癌性や先天性異常などの原因となる物質が含まれているとされております。
バッテリーやバッテリー関連製品には鉛が含まれており、カリフォルニア州では発ガン性や先天性異常を引き起こす物質とされています。取り扱い後は手をよく洗ってください。
この機械は人身事故を引き起こす能力がある。重大な人身事故を防ぐため、すべての注意事項を厳守してください。
マシンを始動する前に必ずこのオペレーターズマニュアルをお読みになり、内容をよく理解してください。この製品を使用する人すべてが製品を良く知り、警告の内容を理解してください。
この機械を運転する時は常に十分な注意を払ってください。運転中は運転操作に集中してください;注意散漫は事故の大きな原因となります。
機械の可動部の近くには絶対に手足を近づけないでください。
ガードなどの安全保護機器が正しく取り付けられていない時は、運転しないでください。
作業場所に、無用の大人、子供、ペットなどを近づけないでください。子供に運転させないでください。
整備や給油などを行う前には、必ず車両を停止させ、スイッチを切り、キーを抜き取ってください。
間違った使い方や整備不良は負傷などの人身事故につながります。事故を防止するため、以下に示す安全上の注意や安全注意標識
のついている遵守事項は必ずお守りください 「注意」、「警告」、および「危険」
の記号は、人身の安全に関わる注意事項を示しています。これらの注意を怠ると死亡事故などの重大な人身事故が発生する恐れがあります。
![]() |
セーフティラベルや指示は危険な個所のオペレーターから見やすい部分に貼付してあります。破損したりはがれたりした場合は新しいラベルを貼り直してください。 |


























Note: 前後左右は運転位置からみた方向です。
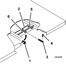
この作業に必要なパーツ
| ハンドル | 1 |
ハンドルの背面でセンターカバーを止めつけているタブ(耳)を外し、ハンドルのハブからセンターカバーを外す。
ハンドルシャフトからロックナットとワッシャを外す。
ハンドルとワッシャを順に取り付ける。
Note: 車両が真っ直ぐ前進する時にハンドルが正面を向く(スポークがT字になる)ようにハンドルの位置を調整する。
Note: 出荷時に、ハンドルシャフトにダストカバーを取り付けています。
図 3に示すようにロックナットでハンドルを固定し、24-29 N·m(2.5-3.0 kg/m = 18-22 ft-lb) にトルク締めする。
ハンドルのセンターカバーをハンドルのスロットに合わせて押し込み、センターカバーをハンドルハブに固定する(図 3)。

初めてエンジンを作動させる前と後に、エンジンオイルの量を点検する;エンジンオイルの量を点検するを参照。
初めてエンジンを作動させる前に、トランスアクスルオイルと油圧オイルの量を点検する;トランスアクスル/油圧オイルの量を点検する を参照。
初めてエンジンを作動させる前に、ブレーキオイルの量を点検する;ブレーキオイル量の点検 を参照。
タイヤ空気圧を点検する; タイヤ空気圧を点検するを参照。
ブレーキの性能を最大限に発揮させるために、実際の使用前にブレーキの「慣らし掛け」をする。
フルスピードで走行してブレーキを掛け、タイヤをロックさせないで急停車する。
これを10回繰り返す。ブレーキがオーバーヒートしないように停止と停止の間に1分間の間隔を空ける。
Important: 車両に 454kg を積載しておくと最も効果的です。
実際にエンジンを始動して作業を始める前に、各部分の操作方法をよく知っておいてください。


アクセルペダル(図 7)は、走行中に車両の走行速度を調整するペダルです。ペダルを踏み込むとエンジン速度が上がって走行速度が上がります。ペダルの踏み込みを浅くするとエンジン速度が下がって走行速度が下がります。

エンジンを始動する時やトランスミッションのギア操作を行なう場合には、このクラッチペダル(図 7)を一杯に踏み込んでクラッチを外してください。トランスミッションにギアが入ったら、滑らかな動作でクラッチペダルから足をはなしてください; トランスミッションやその他の機器に無用な磨耗を招かないよう、スムーズに操作してください。
Important: 走行中は、クラッチペダルに足をのせたままで走行しないでください。クラッチペダルから完全に足をはなしておかないと、クラッチが発熱して磨耗します。坂道で半クラッチで車両を斜面に停止させることは絶対にしないでください。クラッチが破損する恐れがあります。
ブレーキペダル(図 7)は、車両を減速させたり停止させるのに使用します。
ブレーキが摩耗したり正しく調整されていなかったりすると人身事故を起こす危険がある。
ブレーキペダルを一杯に踏み込んだ時にペダルと運転台の床との距離が 25 mm 以下となるようなら調整または修理が必要です。
クラッチペダルを一杯に踏み込んでからシフトレバー(図 8)を希望するギア位置にシフトします。シフトパターンは下の図に示すとおりです。

Important: ギアの切り替え(後退へはたは前進へ)は、車両を完全に停止させて行なってください。これを怠るとトランスミッションを破損する恐れがあります。
スピードを出した状態から急にシフトダウンすると 後輪がスリップする場合があり、危険であるばかりか、クラッチやトランスミッションを破損するおそれもある。
ギアに無用の負担を掛けないよう、シフトはスムーズに行うこと。
デファレンシャルロック(図 9)は後部車軸のギアをロックして走行力を増強する働きがあります。デファレンシャルロックは、走行中でも操作できます。
ロックするには、レバーを前へ、そして右へ動かします。
Note: デファレンシャルロックの操作には車両が動いていることと、少しの旋回動作が必要です。
デファレンシャルロックをしたままで旋回するとハンドル制御が不能になる場合があり危険である。
小さな旋回をするときや高速で旋回する時は、デフ ァレンシャルロックを解除すること;デファレンシャルロックケーブルの調整を参照。

エンジンを停止させたら、車体が不意に動き出さないよう、必ず駐車ブレーキ(図 9)を掛けてください。
駐車ブレーキレバーを引くとブレーキがかかります。
レバーを下げると駐車ブレーキが解除されます。
Note: 車両を動かす前に駐車ブレーキを解除してください。
急斜面に駐車する場合には、駐車ブレーキを掛け、さらに、上り坂の場合にはギアを1速に、下り坂の場合にはギアをバックに入れ、それぞれタイヤの下り側に輪留めをかけてください。
荷台の昇降を行ないます。後ろに引くと荷台が上昇し、前に倒すと降下します(図 9)。
Important: 荷台を降下させる時は、降下し終わってからさらに 1-2 秒間、レバーを前に倒したままで保持し、荷台が完全にフレーム位置まで降りるようにしてください。ただし、油圧シリンダがその行程の端まで到達したら、そこから 5 秒間以上はレバーを保持しないでください。
車両に荷台を取り付けていない場合には、油圧シリンダが動かないように昇降レバー(図 9)をロックしておきます。また、アタッチメントを取り付けて使用している場合には、レバーを ON 位置にロックすることができます。
速度レンジを切り替えることで速度ギアが 3 つ増えることになり、より細かなギア選択ができます(図 9):
ハイレンジからローレンジへ、あるいはその逆への切り換えは、必ず車両を完全に停止させて行なってください。
切り替えは必ず平坦な場所で行ってください。
クラッチペダルを一杯に踏み込んでください。
レバーを前一杯に動かすとハイレンジ、後ろ一杯に動かすとローレンジです。
HIGH(ハイ)レンジ:荷物をあまり積まない状態、乾いた路面、高速での走行用です。
LOW(ロー)レンジ:低速で走行するためのレンジです。このレンジは、通常よりも大きなパワーや微妙な操作を必要とする時に使ってください。たとえば、急斜面、悪路、重い荷物を搭載しているときでエンジンを高速回転させる必要があるとき(液剤や砂などの散布)に使用します。
Important: ハイレンジとローレンジの間に、ギアがどちらにも入らない位置が存在します。この位置をニュートラルの代わりにしないでください; ギアシフトレバーがいずれかのギアに入ったままでハイローシフターに手が当たったりすると車両が不意に動き出す恐れがあります。
手動で 4 輪駆動へ切り替えたい場合は、走行しながら、中央コンソールにある 4WD ボタン(図 9)を長押しします。
キースイッチ(図 5)はエンジンの始動と停止を行うスイッチです。
始動キーには3つの位置があります:OFF、ON、STARTです。キーを右に回して START 位置にすると、スタータモータが作動します。エンジンが始動したら、すぐにキーから手を離してください。キーは自動的にON位置に動きます。
キーを OFF 位置に回せばエンジンは停止します。
速度制限スイッチ(図 5)を、SLOW 位置にセットしてキーを抜き取ります。これにより、HIGH レンジの 3 速ギアにシフトされたときのエンジンの回転速度が 2200 rpm に制限され、最大走行速度は 21 km/h に制限されます。
アワーメータ(図 6)は、本機の積算運転時間を表示します。
アワーメータは始動スイッチがON位置にあってエンジンの回転速度が毎分 500 rpm 以上の時に稼働時間の積算を行います。積算は、6分毎に行われます。
3速ハイレンジ制限スイッチ(図 5)をSLOW位置にしてキーを抜くとハイレンジが使えない設定になります。ハイレンジでシフトレバーを 3 速に入れるとエンジンが自動的に停止します。
Note: キーはどちらの位置でも抜くことができます。
ライトスイッチ(図 5)を押すとヘッドライトの点灯・消灯を切り替えることができます。
エンジンの回転中にエンジンオイルの圧力が危険域まで下がるとオイル圧警告灯(図 6)が点灯します。
Important: このランプが点滅や点灯を続ける場合は、エンジンを止めてエンジンオイルの量を点検してください。オイルが減っていて、補給したのに、エンジン再始動時にランプが消えない場合は、ただちにエンジンを止めて の正規代理店にご連絡ください。
以下の要領で警告ランプ類の作動を確認してください:
駐車ブレーキを掛ける。
キーをON/PREHEAT位置に回すが、エンジンは始動させない。
Note: オイル圧警告灯が赤く点灯する。点灯しないランプがあった場合には、電球が切れているかそれぞれの監視回路に異常が発生しているので、必ず原因を突き止めて修理を行なう。
Note: エンジンを停止させた直後は、1-2 分間待たないとランプが点灯しない場合があります。
グロープラグインジケータランプ(図 6)は、グロープラグが作動中に赤く点灯します。
Important: 始動スイッチが START位置に戻ってからさらに15秒間、グロープラグインジケータが点灯します。
冷却水温度計もランプも、キースイッチがON位置にある時のみ作動し、冷却液の温度を示します(図 6)。
オーバーヒートした場合には、5 つの冷却水バー全部が点滅します。
充電インジケータは、バッテリーが放電しているときに点灯します。走行中にこのランプが点灯した場合には、車両を停止させ、エンジンを止めて原因を調べてください; オルタネータベルトが切れているなどの場合があります(図 6)。
Important: オルタネータベルトがゆるんでいたり、切れていたりした場合には、必ず調整や修理を行なってから車両を使用するようにしてください。この注意を守らないと、エンジンを破損させる場合があります。
以下の要領で警告ランプ類の作動を確認してください:
駐車ブレーキを掛ける。
キーをON/PREHEAT位置に回すが、エンジンは始動させない。冷却水温度、充電警告、エンジンオイル圧の警告灯がそれぞれ点灯する。点灯しないランプがあった場合には、電球が切れているかそれぞれの監視回路に異常が発生しているので、必ず原因を突き止めて修理を行なう。
燃料計は、燃料タンクに残っている燃料の量を表示します。キースイッチがON位置の時にのみ作動します(図 6)。
燃料が残り少なくなるとバーが 1 本だけ点灯し、残量がほとんどなくなると点滅に変わります。
4WD スイッチが(図 5) ON 位置にある時には、後輪が空回りしていることをセンサーが検知すると車両は自動的に 4 輪駆動に切り替わります。4 輪駆動になっている間は、4WD スイッチランプが点灯します。
AUTO モードで 4WD になるのは前進時のみです。後退時に 4WD にしたい場合には 4WD ボタンを押してください。
ハイフロー油圧装置を ON にするスイッチです(図 5)。
ホーンスイッチはコントロールパネルについています(図 5)。スイッチを押すと警笛がなります。
タコメータは、エンジンの回転数を表示します(図 6)。
Note: PTO(540 rpm)を使用する際の適正回転数は 3,300 rpm です。
速度計は車両の走行速度を表示します(図 6)。
電動アクセサリ用に電源ソケット(図 5)から12 Vの電源をとることができます。
助手席用の手すりがダッシュボードについています(図 10)。

好みに合わせて座席の前後位置を調整することができます(図 11)。

Note: 仕様および設計は予告なく変更される場合があります。
| 全幅: | 160 cm |
| 全長 | 荷台なし: 326 cm |
| フルサイズ荷台付き: 331 cm | |
| 2/3サイズ荷台を後ろ寄りに取り付け:346 cm | |
| 基本重量(乾燥重量) | モデル 07385: 887kg |
| モデル 07385TC: 924kg | |
| モデル 07387: 914kg | |
| モデル 07387TC: 951kg | |
| 定格積載重量(運転手の体重 91kg、助手席乗員の体重 91kg、搭載されているアタッチメントを含む) | モデル 07385: 1471kg |
| モデル 07385TC: 1435kg | |
| モデル 07387: 1445kg | |
| モデル 07387TC: 1408kg | |
| 車両総重量(GVW) | 2359kg |
| 牽引能力 | トング重量:272kg |
| トレーラ最大重量: 1587kg | |
| 地上高 | 18 cm(何も積載していない場合) |
| ホイールベース | 118 cm |
| トレッド(センターライン間) | 前輪: 117 cm |
| 後輪: 121 cm | |
| 高さ | 191 cm(ROPS最上部まで) |
トロが認定した各種のアタッチメントやアクセサリがそろっており、マシンの機能をさらに広げることができます。詳細は弊社の正規サービスディーラ、または代理店へお問い合わせください;弊社のウェブサイト www.Toro.com でもすべての認定アタッチメントとアクセサリをご覧になることができます。
いつも最高の性能と安全性を維持するために、必ずToroの純正部品をご使用ください。他社の部品やアクセサリを御使用になると危険な場合があり、製品保証を受けられなくなる場合がありますのでおやめください。
子供、講習を受けていない大人、安全運転に必要な身体的能力を持たない人などには、絶対に運転させないでください。地域によっては機械のオペレータに年齢制限を設けていることがありますのでご注意ください。オーナーは、オペレータ全員にトレーニングを受講させる責任があります。
各部の操作方法や本機の正しい使用方法、警告表示などに十分慣れ、安全に運転できるようになりましょう。
マシンを停止させ、キーを抜き取り、各部の動作が完全に停止したのを確認してから運転位置を離れる。調整、整備、清掃、格納などは、車両が十分に冷えてから行ってください。
車両の緊急停止方法に慣れておきましょう。
車両に備え付けてある手すりの数(運転者と助手の2人)以外の人を乗せないでください。
安全装置やステッカー類が所定の場所あることを確認してください。機能しない安全装置はすべて交換、読めないステッカーはすべて貼り替えてください。これらが正しく機能しない時には機械を使用しないでください。
燃料の取り扱いに際しては安全に特にご注意ください。燃料は引火性が高く、気化すると爆発する可能性があります。
燃料取り扱い前に、引火の原因になり得るタバコ、パイプなど、すべての火気を始末してください。
燃料の保管は必ず認可された容器で行ってください。
エンジン回転中などエンジンが高温の時には、燃料タンクのふたを開けたり給油したりしないでください。
締め切った場所では燃料の補給や抜き取りをしないでください。
ガス湯沸かし器のパイロット火やストーブなど裸火や火花を発するものがある近くでは、機械や燃料容器を保管・格納しないでください。
燃料がこぼれたら、エンジンを始動せずにマシンを別の場所に動かし、気化した燃料ガスが十分に拡散するまで引火の原因となるものを近づけないでください。
| 整備間隔 | 整備手順 |
|---|---|
| 使用するごとまたは毎日 |
|
毎日の運転前に、に記載されている「使用ごと/毎日の点検整備」を行ってください。
硫黄分の少ない(微量:500ppm 未満、または極微量:15ppm 未満)の新しい軽油またはバイオディーゼル燃料以外は使用しないでください。セタン値が 40以上のものをお使いください。燃料の劣化を避けるため、180日以内に使いきれる程度の量を購入するようにしてください。
気温が -7℃ 以上では夏用燃料(2号軽油)を使用しますが、気温が -7℃ 以下の季節には冬用燃料(1号軽油または1号と2号の混合)を使用してください。
低温下で冬用ディーゼル燃料を使うと、発火点や流動点が下がってエンジンが始動しやすくなるばかりでなく、燃料の成分分離(ワックス状物質の沈殿)によるフィルタの目詰まりを防止できるなどの利点があります。
Note: 気温が -7 ℃ 以上の季節には夏用燃料を使用する方が、燃料ポンプの寿命を延ばします。
Important: ディーゼル燃料の代わりに灯油やガソリンを使わないでください。この注意を守らないとエンジンが破損します。
このマシンは、バイオディーゼル混合燃料の使用が可能であり、B20クラス(バイオディーゼル20 %,軽油80 %)までの製品に対応しています。ただし、混合されている軽油のイオウ含有量は低レベルまたは極低レベルである必要があります。以下の注意を守ってお使いください。
バイオディーゼル成分がASTM D6751 またはEN 14214規格に適合していること。
軽油成分がASTM D975またはEN 590規格に適合していること。
バイオディーゼル混合燃料を使った場合、塗装部が劣化する可能性があります。
気温の低い場所でバイオディーゼル燃料を使う場合には、B5(バイオディーゼル成分が5 %)またはそれ以下の製品をお使いください。
時間経過による劣化がありうるので、シール部分、ホース、ガスケットなど燃料に直接接する部分をまめに点検してください。
バイオディーゼル混合燃料に切り替えてからしばらくの間は燃料フィルタが目詰まりを起こす可能性があります。
詳細については、代理店にお問い合わせください。
燃料タンク容量:22 リットル
燃料タンクのキャップの周囲をきれいに拭く。
燃料タンクのキャップを取る(図 14)。

タンクの天井(給油口の根元)から少し下まで燃料を入れ、キャップをはめる。
Note: 燃料を入れすぎないでください。
こぼれたガソリンは火災防止のためにすぐに拭き取る。
| 整備間隔 | 整備手順 |
|---|---|
| 使用開始後最初の 100 時間 |
|
新しい車両の性能がフルに発揮され永くお使いいだけるよう、以下のことをお守りください:
ブレーキの慣らし掛けができていることを確認する;ブレーキの慣らし掛けを行うを参照。
エンジンオイルその他の液類の量を定期的に点検する。車両そのものや、車両を構成している機器が過熱していないか注意を払う。
エンジンが冷えている時には、始動後 15 秒間程度のウォームアップを行う。
Note: 寒い日に運転する場合には十分にエンジンをウォームアップしてください。
意識的に速度を変えながら走行する。急発進や急停止をしない。
エンジンオイルの初期交換は不要。初期オイルには通常のエンジンオイルを使用している。
初期整備については を参照する。
| 整備間隔 | 整備手順 |
|---|---|
| 使用するごとまたは毎日 |
|
インタロックシステムは、クラッチペダルを踏まない限りエンジンがクランキングできないようにする安全装置です。
インタロックスイッチは安全装置であり、これを取り外すと予期せぬ人身事故が起こり得る。
インタロックスイッチをいたずらしないこと。
作業前にインタロックスイッチの動作を点検し、不具合があれば作業前に交換修理する。
Note: アタッチメントのインタロックの点検については、それぞれのアタッチメントの オペレーターズマニュアル を参照してください。
運転席に座り、駐車ブレーキが掛かっているのを確認する。
シフトレバーをニュートラル位置にする。
Note: 油圧昇降レバーが前位置にロックされているとエンジンを始動することができません。
クラッチペダルを踏まずにキーを右にSTART位置まで回す。
Note: クランキングする場合はインタロックスイッチが故障しているので、運転前に修理する。
運転席に座り、駐車ブレーキが掛かっているのを確認する。
シフトレバーをニュートラル位置にし、油圧昇降レバーが中央位置になっていることを確認する。
クラッチペダルを踏み込む。
油圧昇降レバーを前に動かし、キーをSTART位置に回す。
Note: クランキングする場合はインタロックスイッチが故障しているので、運転前に修理する。
オーナーやオペレータは自分自身や他の安全に責任があり、オペレータやユーザーの注意によって物損事故や人身事故を防止することができます。
座席以外の場所に人を乗せないでください。荷台に人を乗せないでください。作業場所に、無用の大人、子供、ペットなどを近づけないでください。
作業にふさわしい服装をし、安全めがね、長ズボン、頑丈で滑りにくい安全な靴、および聴覚保護具を着用してください。長い髪は束ねてください。ゆるい装飾品やだぶついた服は身に着けないでください。
この機械を運転する時は常に十分な注意を払ってください。運転中は運転操作に集中してください;注意散漫は事故の大きな原因となります。
疲れている時、病気の時、アルコールや薬物を摂取した時は運転しないでください。
屋外または換気のよい場所以外では本機を運転しないこと。
アタッチメントに過負荷を掛けないでください。また、車両総重量(GVW)の範囲内で使用してください。
重い荷を搬送している時は、ブレーキと旋回に十分注意してください。
また、荷台からはみ出すように積載した場合も、車両の安定性が損なわれます。定格重量以上に積載しないでください。
車両に固定するのが難しいものを搭載している時はハンドリング、ブレーキング、車両の安定性に影響が出ます。車体に固定できない資材を搬送している時は、ハンドル操作とブレーキ操作に注意してください。
不整地、ラフ、凹凸のある場所、縁石の近く、穴の近くなど路面が一定でない場所では必ず減速してください。また、そのような場所を走行する場合には、積荷を減らしてください。車体が揺れると重心が移動し、運転が不安定になります。
車両を始動する前に、トランスミッションがニュートラルであること、駐車ブレーキが掛かっていることを確認し、運転席に着席してください。
運転中は必ず全員が着席してください。可能な限り両手でハンドルを握り、助手席の人は必ず手すりを握ってください。また、手足を車外に出さないようししてください。
運転は良好な視界のもとで行ってください。隠れた穴、わだち、盛り上がり、石などの見えない障害に警戒を怠らないでください。不整地では機体が転倒する可能性があります。深い芝生に隠れて障害物が見えないことがあります。見通しの悪い曲がり角や、茂み、立ち木などの障害物の近くでは安全に十分注意してください。
段差や溝、大きく盛り上がった場所の近くなどで運転しないでください。万一車輪が段差や溝に落ちたり、地面が崩れたりすると、機体が瞬時に転倒し、非常に危険です。
頭上の危険物に注意し、低く垂れ下がった木の枝、門、歩道橋などの下を通り抜けるときは安全を必ず確認してください。
バックするときには、足元と後方の安全に十分な注意を払ってください。
この車両で公道上を走行する場合には、各地域の法令などに従い、また、ヘッドライド、方向指示器、低速走行車両表示など、定められたアクセサリを必ず装備してください。
万一、機体に異常な振動を感じたら、直ちに運転を中止し、車両のスイッチを切り、本機の全ての動作が停止するのを待ち、それから点検にかかってください。破損部は必ず修理・交換してから運転するようにしてください。
路面がぬれているときは、車両の停止距離が長くなります。ブレーキが濡れて利かなくなった、平らな場所で、ブレーキペダルを軽く踏み込んだまましばらく低速で運転しましょう。
車両後部が軽いとブレーキを掛けたときに後輪がロックしやすくなり、ロックすると車両を制御できなくなって危険です。
エンジン回転中や停止直後は、エンジン本体、トランスミッション、マフラー、排気管などに触れると火傷の危険がありますから手を触れないでください。
エンジンの掛かっているマシンからは離れないでください。
運転位置を離れる前に:
平らな場所に駐車する。
トランスミッションをニュートラルにセットする。
駐車ブレーキを掛ける。
荷台を降下させる。
エンジンを止め、キーを抜き取る。
全ての動きが停止するのを待つ。
落雷の危険がある時には運転しないでください。
弊社(Toro® カンパニー)が認めた以外のアクセサリやアタッチメントを使用しないでください。
ROPS(横転保護バー)はマシンと一体で使用する重要な安全装置です。
POPSは機体から外さないでください。
必ずシートベルトを着用し、緊急時にシートベルトを迅速に外せるよう練習しておいてください。
頭上の障害物に注意し、これらに衝突しないように注意してください。
ROPS自体に損傷がないか、また、取り付け金具がゆるんでいないか、定期的に十分に点検を行い、万一の際に確実に役立つようにしておいてください。
ROPS が破損した場合は新しいものに交換してください。修理したり改造しての使用はしないでください。
斜面はスリップや転倒などを起こしやすく、これらは重大な人身事故につながります。
各斜面の実地調査を行い、乗り入れて良い斜面、乗り入れてはいけない斜面を決めておくようにしましょう。この調査においては、常識を十分に働かせてください。
斜面での作業に自信が持てない時は、作業を行わないでください。
斜面では動作も運転操作もゆっくりと行うことが原則です。走行速度や走行方向を突然変えないでください。
ぬれた場所での運転は避けてください。走行できなくなる可能性があります。タイヤが走行力を維持していても転倒する場合があります。
斜面ではまっすぐに上るか下るかしてください。。
坂を登りきれないと感じた時は、ゆっくりとブレーキを踏み、バックで、まっすぐに ゆっくりと下がってください。
斜面を登りながらや下りながらの旋回は危険です。斜面で旋回しなければいけないときは、十分に減速し、慎重に操作してください。
車両重量が大きいときは斜面での安定が悪くなります。斜面で運転する時や重心の高いものを積んで走る時には重量をなるべく軽くし、速度を落として運転してください。荷台に資材を積む場合には、荷崩れを起こさないようにしっかりと固定してください。荷崩れしやすいもの(液体、石、砂など)は十分に注意してください。
斜面での発進・停止・旋回は避けてください。特に荷を積んでいる場合はこの注意を守ってください。下り坂では平地に比べて停止に長い距離が必要になります。斜面で停止しなければならない場合には、転倒の危険を避けるために急停止や急な速度変更をしないでください。バックで斜面を下っているときに急ブレーキを掛けないでください。後方に転倒する危険があります。
荷台に荷物を積んで運転するときや、トレーラなどの牽引を行う場合、またこれらを同時に行う場合には、定格総積載重量(GWV)を守ってください;仕様を参照。
また、荷物は荷台に均等に積んで、車両の安定性を確保してください。
ダンプする時には、後方に人がいないことを確認してください。
斜面を横切るように駐車した状態では、ダンプ操作をしないでください。重心の急変により車両が転倒する危険があります。
上昇させた荷台が万一落下すると、荷台の下にいる人に非常に危険である。
荷台の下で作業する時は、必ず支持棒で荷台を支えておく。
荷台の下で作業するときは荷台を空にしておく。
荷台を上昇させたままで走行すると転倒の危険が増大する。また、荷台を上昇させたままで走行すると荷台が破損させる可能性もある。
運転する時は必ず荷台を下げておく。
ダンプ操作を終えたら必ず荷台を下げるようにする。
荷台の後部に積荷が集中していると、ラッチを開けた際に荷台が急に開いて周囲の人間がけがをする恐れがある。
積荷はできる限り荷台の中央に載せる。
ラッチを開放する際には、荷台を手でしっかりと押さえ、荷台に寄りかかっている人間や荷台のすぐ後ろに人がいないことを確認する。
整備のために荷台を上昇させる際には、荷台から積荷をすべて降ろす。
レバーを後ろに引くと荷台が上昇します(図 15)。

荷台は相当の重さになる。万一手などを挟まれると大けがをする。
荷台を降ろすときには、荷台に手やその他の部分を近づけないよう十分注意すること。
レバーを前へ押すと荷台が下降します(図 15)。
荷台が完全に降りていてラッチが掛かっていることを確認する。
荷台の左右にあるラッチを解放してテールゲートを下げる(図 16)。

運転席に座り、駐車ブレーキが掛かっているのを確認する。
PTOとハイフロー油圧装置を搭載している場合はそれぞれを解除、ハンドスロットル装備車ではハンドスロットルをOFFにする。
シフトレバーをニュートラル位置にし、クラッチを踏み込む。
油圧昇降レバーが中央位置になっているのを必ず確認しておくこと。
アクセルから足を離したままの状態で、
キースイッチを ON 位置にする。
Note: グロープラグインジケータランプが点灯したら、エンジンを始動できる。
キースイッチを START 位置にする。
Note: エンジンが始動したらすぐにキーから手を放す。キーは RUN 位置に戻る。
Note: 始動スイッチが RUN位置に戻ってからさらに15秒間、グロープラグインジケータが点灯します。
Note: スタータモータのオーバーヒートを防止するため、スタータは10秒間以上連続で回転させないでください。10秒間回してもエンジンが掛からない場合は、キーをOFF位置に戻し、コントロール類や始動手順を確認して、10秒待ってからもう一度スタータを回してください。
自動 4 輪駆動を有効にするには、ロッカースイッチの上側の 4X4 AUTO を押してください(図 17)。

4WD スイッチが ON 位置にある時には、後輪が空回りしていることをセンサーが検知すると車両は自動的に 4 輪駆動に切り替わります。4 輪駆動になっている間は、4WD スイッチランプが点灯します。
Important: 後退走行では、 4 輪駆動への自動切り替えは行われません。 後退走行時に 4 輪駆動へ切り替えたい場合は、手動で 4WD ボタンを押して切り替えを行います。
手動で 4 輪駆動へ切り替えたい場合は、走行しながら、中央コンソールにある 4WD ボタンを長押しします。
Note: 4WD ボタンを押している間だけ 4 輪駆動になります;自動 4 輪駆動モードでは、4WD スイッチを AUTO にしておく必要はありません。
駐車ブレーキを解除する。
クラッチを一杯に踏み込む。
シフトレバーを1速に入れる。
アクセルペダルを踏み込みながらクラッチペダルからスムーズに足を離す。
速度が十分に出たらアクセルペダルから足をはなし、クラッチペダルを一杯に踏み込んでシフトレバーを次のギアにシフトして、アクセルペダルを踏み込みながらクラッチペダルからスムーズに足をはなす。
この操作を繰り返して希望の走行速度まで加速する。
Important: 前進から後退へ、あるいはその逆に切り換える場合には、必ず車両を完全に停止させて行なってください。
Note: 長時間にわたってエンジンをアイドリングさせないでください。
エンジンの回転数が 3,600rpm の時の各ギアでの走行速度は以下の表の通りです。
| ギア | レンジ | 比 | 速度(kmh) | 速度(マイル/時) |
|---|---|---|---|---|
| 1 | L | 82.83 : 1 | 4.7 | 2.9 |
| 2 | L | 54.52 : 1 | 7.2 | 4.5 |
| 3 | L | 31.56 : 1 | 12.5 | 7.7 |
| 1 | H | 32.31 : 1 | 12.2 | 7.6 |
| 2 | H | 21.27 : 1 | 18.5 | 11.5 |
| 3 | H | 12.31 : 1 | 31.9 | 19.8 |
| R | L | 86.94 : 1 | 4.5 | 2.8 |
| R | H | 33.91 : 1 | 11.6 | 7.1 |
Important: エンジンの押しがけや引きがけをしないでください。駆動系統を破損するおそれがあります。
アクセルペダルから足を放し、ブレーキペダルをゆっくり踏み込むと車両は停止します。
平らな場所に駐車する。
駐車ブレーキを掛ける。
キーを OFF 位置にして抜き取る。
斜面での転倒事故は重大な人身事故に直結する。
デファレンシャルロックを使用すると、牽引力がアップするが、同時に、旋回ができないほど急な斜面などにも登れるようになるなど、潜在的な危険性も大きくなる。デファレンシャルロックを使用する時、特に急な斜面では注意を払うこと
デファレンシャルロックを使用中に高速で旋回を行って内側の後輪が宙に浮くと車両の制御ができなくなり横滑りを起こすことがある。デファレンシャルロックは低速でのみ使用すること。
デファレンシャルロックをしたままで旋回するとハンドル制御が不能になる場合があり危険である。小さな旋回をするときや高速で旋回する時は、デフ ァレンシャルロックを解除すること。
デファレンシャルロックは、後ろ2輪をロックして輪だけが空転しないようにして走行力を高めるものです。ぬれた芝面などの滑りやすい場所で重量物を運ぶ時や、斜面を登る時、砂地を走行する時などにデファレンシャルロックが威力を発揮します。しかし、この機能はあくまでも限られた状況で一時的に使用するための機能です。安全に注意して使ってください。
デファレンシャルロックを掛けると左右の後輪が同じ速度で回転するようになります。従って、小回り機能が若干制限されるようになり、旋回時に芝を削る場合もでてきます。デファレンシャルロックは必要な時に限って使用するようにし、ローギア又はセカンドギアで、速度を落として使用してください。
エンジン回転中は、常に油圧制御機能によってポンプから油圧パワーが供給されています。油圧パワーは車両後部のクイックカップラから取り出すことができます。
高圧で噴出する作動油は皮膚を貫通し、身体に重大な損傷を引き起こします。
油圧クイックカップラ の接続や取り外しは、安全を十分に確認して行うこと。必ずエンジンを停止し、駐車ブレーキを掛け、アタッチメントを降下させ、リモート油圧をフロート位置にセットし、油圧回路内部の圧力を完全に解放してから着脱作業に掛かるようにする。
Important: ひとつのアタッチメントを複数の車両で共用している場合、トランスミッションオイルの相互汚染が生じる可能性があります。その場合はトランスミッションオイルを交換してください。
OFF 位置
使用していない時の通常位置です。コントロールバルブのワークポートは閉じており、負荷はすべて(両方向とも)チェックバルブが受けます。
上昇(クイックカップラ「A」)位置
荷台を上げたり、リアヒッチを上げたりする位置で、クイックカップラ「A」に油圧が掛かります:また、クイックカップラ「B」からの戻りオイルがバルブに戻った後にオイル溜めに戻ります。この位置は連続して使用する位置ではなく、レバーから手を離すとOFFに戻ります。

下降(クイックカップラ「B」)位置
荷台を下げたり、リアヒッチを下げたりする位置で、クイックカップラ「B」に油圧が掛かります:また、クイックカップラ「A」からの戻りオイルがバルブに戻った後にオイル溜めに戻ります。この位置は連続して使用する位置ではなく、レバーから手を離すとOFFに戻ります。また、この位置で一時的にレバーを保持し、その後に手を離すとクイックカップラ「B」にオイルが流れて、リアヒッチに下向きの押圧が掛かります。手を離してもヒッチへの押圧が保持されます。
Important: 油圧シリンダを取り付けた状態でレバーを「下降」位置に保持すると、オイルがリリーフバルブへ抜け、油圧システムが損傷する可能性があります。
ON 位置
下降(クイックカップラ「B」位置)と似ていますが、レバー位置が固定される点が異なります。これにより、油圧モータを使用する機器に連続的にオイルを送ることができます。
この位置は、モータを取り付けて使用するか、ごく短時間の使用にとどめてください。
Important: アタッチメントを何も取り付けなかったり油圧シリンダを取り付けたりしてON 位置を使用するとオイルがリリーフバルブへ抜け、油圧システムが損傷する可能性があります。この位置は、モータを取り付けて使用するか、ごく短時間の使用にとどめてください。
Important: アタッチメントの取り付けが終了したら、油圧オイルの油量点検を行ってください。次にアタッチメントの作動を点検します。操作を数回行って内部のエアをパージして、その後にもう一度油量の点検を行ってください。アタッチメント用のシリンダにオイルが出入りするためトランスアクスル内のオイル量が若干変化します。オイル不足で運転すると、ポンプやリモート油圧システム、パワステ、トランスアクスルなどを損傷しますから十分注意してください。
Important: クイックカップラを十分にきれいにしてください。カップラが汚れていると油圧システム全体が汚染されますので注意してください。
カップラについているロッキングリングを後ろに引く。
カチッと音がするまでカップラにホースニップルを差し込む。
Note: 外部装置をクイックカップラに接続する場合には、その装置のどちら側から油圧をかけることが必要なのかを確認し、そちらの側をカップラB に接続します; クイックカップラB は、レバーを前に倒した時と ON 位置に固定したときに油圧が掛かる側です。
Note: 車両とアタッチメントの両方を停止させた状態で、油圧昇降レバーを数回前後に動かし、内部の圧力を解放するとクイックカップラが外しやすくなります。
カップラについているロッキングリングを後ろに引く。
カップラからホースをゆっくり引き抜く。
Important: カップラを使用していない時は、カップラにプラグとカバーを取り付けておいてください。
クイックカップラがつながらない。
油圧が解放されていない(クイックカップラに油圧がかかっている)。
パワーステアリングを回すのに大きな力が要る(または回すことができない)。
油圧オイルが不足している。
油圧オイルが過熱している。
ポンプが作動していない。
油圧オイルが漏れている。
フィッティングがゆるんでいる。
フィッティングのO リングが無くなっている。
アタッチメントが作動しない。
カップラの接続が完全でない。
カップラの接続が逆になっている。
キーキーというノイズが出る。
リモートバルブが ON 位置になっていてリリーフバルブにオイルが回っている。
ベルトがゆるんでいる。
エンジンを始動できない
油圧レバーが前位置にロックされている.
運転位置を離れる前に:
平らな場所に駐車する。
トランスミッションをニュートラルにセットする。
駐車ブレーキを掛ける。
荷台を降下させる。
エンジンを止め、キーを抜き取る。
全ての動きが停止するのを待つ
調整、整備、清掃、格納などは、車両が十分に冷えてから行ってください。
ガス湯沸かし器のパイロット火やストーブなど裸火や火花を発するものがある近くでは、本機を保管・格納しないでください。
マシン各部が良好な状態にあり、ボルトナット類が十分にしまっているか常に点検してください。
必要に応じてシートベルトの清掃と整備を行ってください。
摩耗、破損したり読めなくなったステッカーは交換してください。
緊急時には、短距離に限り、マシンを牽引または押して移動することができますが、この方法は緊急用以外には使用しないでください。
牽引時の速度が速すぎると、ハンドル操作ができなくなって人身事故となる危険がある。
牽引速度は時速 8 km/h 以下を厳守すること。
Note: パワーステアリングが効きませんのでハンドル操作は重くなります。
牽引作業は二人で行います。移動距離が長くなる場合は、トラックやトレーラに積んで移送してください。
機体前部にある牽引トングにロープなどの牽引索を取り付ける(図 19)。
トランスミッションをニュートラル位置にし、駐車ブレーキを解除する。
ワークマンは自重よりも大きな車両やアタッチメントを牽引することができます。牽引を行う場合、トレーラの重量によってヒッチを使い分けてください。詳細については弊社の正規代理店に問い合わせてください。
リアアクスルチューブに牽引ヒッチを取り付けた、トレーラ(またはアタッチメント)の最大総重量 1587 kgまでを牽引することができます。
必ず積載重量の60%をトレーラの前側に振り分けてください。これにより、ヒッチプレートに掛かる負荷がトレーラの総重量(グロス)の約10%(272kg)となります。
トレーラ(やアタッチメント)自体もワークマンも過積載にならないように注意してください。過積載では車両の性能が十分発揮できないばかりか、ブレーキ、車軸、トランスアクスル、モータ、ハンドル機構、サスペンション、ボディー構造、タイヤ等を破損する場合もあります。
Important: 駆動系統の保護のためローレンジで運転してください。
第五ホイール式のアタッチメント(フェアウェイエアレータなど)では、必ずホイールバー(第五ホイールキットに付属)を取り付け、トレーラ側が急停止した場合でも前輪が浮いてしまわないようにします。
適切な訓練を受けていない人には機械の整備をさせないでください。
運転位置を離れる前に:
平らな場所に駐車する。
トランスミッションをニュートラルにセットする。
駐車ブレーキを掛ける。
荷台を降下させる。
エンジンを止め、キーを抜き取る。
全ての動きが停止するのを待つ。
調整、整備、清掃、格納などは、車両が十分に冷えてから行ってください。
機体の下で作業する場合には、必ずジャッキスタンドで機体を確実に支えてください。
また、荷台を上げて作業する場合には、かならず荷台安全サポートで荷台を固定してください。
油圧系統のラインコネクタは頻繁に点検してください。油圧を掛ける前に、油圧ラインの接続やホースの状態を確認してください。
油圧系統の整備作業を行う時は、必ずモータを停止し、ダンプバルブを上昇から下降に切り替えるか、荷台やアタッチメントを下降させてシステム内部の圧力を完全に解放してください。リモート油圧装置のレバーは平らに寝た状態にセットしてください。荷台を上げた時には、必ず安全サポートで支えてください。
機器類を取り外すとき、スプリングなどの力が掛かっている場合があります。取り外しには十分注意してください。
整備中に、車両搭載のバッテリーを充電しないでください。
ねじ類は十分に締めつけ、常に機械全体の安全を心掛けてください。
火災防止のため、車両に、余分なグリス、草や木の葉、ほこりなどが溜まらないようご注意ください。
可能な限り、車両を稼働させながらの整備はしないでください。可動部に近づかないでください。
動作させながら調整を行わなければならない時は、手足や頭や衣服を可動部に近づけないように十分ご注意ください。周囲に人を近づけないこと。
オイルや燃料がこぼれた場合はふき取ってください。
推奨定期整備計画に従って駐車ブレーキの点検を行い、必要に応じて調整や整備を行ってください。
マシン各部が良好な状態にあり、ボルトナット類が適切に締まっているか常に点検してください。擦り切れたり破損したりしたステッカーは貼り替えてください。
安全装置の作動を妨げるようなことや、安全装置による保護を弱めるようなことは絶対にしないでください。
ガバナの設定を変えてエンジンの回転数を上げないでください。Toro 正規代理店でタコメータによるエンジン回転数検査を受け、安全性と精度を確認しておきましょう。
大がかりな修理が必要になった時や補助が必要な時は、Toro 正規代理店にご相談ください。
機体の改造を行うと、機械の挙動や性能、耐久性などが変化し、そのために事故が起きる可能性があります。このような使い方をすると Toro® の製品保証が適用されなくなります。
| 整備間隔 | 整備手順 |
|---|---|
| 使用開始後最初の 2 時間 |
|
| 使用開始後最初の 10 時間 |
|
| 使用開始後最初の 50 時間 |
|
| 使用開始後最初の 100 時間 |
|
| 使用するごとまたは毎日 |
|
| 25運転時間ごと |
|
| 50運転時間ごと |
|
| 100運転時間ごと |
|
| 200運転時間ごと |
|
| 400運転時間ごと |
|
| 600運転時間ごと |
|
| 800運転時間ごと |
|
| 1000運転時間ごと |
|
| 2000運転時間ごと |
|
Note: www.Toro.com から、この機械に関する配線図と油圧回路図をダウンロードすることができます。弊社ホームページからマニュアルへのリンクをご活用ください。
Important: エンジンの整備に関しての詳細は、付属のエンジンマニュアルを参照してください。
許可を受けた有資格者以外には保守、修理、調整、点検などの作業をさせないでください。
作業場には危険物を置かぬようにし、また、防火機 器を備えること。燃料やバッテリー液、オイルなどの点検に裸火を使用しないこと。
ガソリンや溶剤を使ってパーツ(部品)を洗浄する時には必ず密閉型の洗浄容器を使うこと。
適切な保守整備を行わないと車両が故障・破損したり、搭乗者や周囲の人間まで巻き込む人身事故を起こす恐れがある。
マニュアルに記載された作業を行って、マシンをいつも適切な状態に維持することが重要である。
始動スイッチにキーをつけたままにしておくと、誰でもいつでもエンジンを始動させることができ、危険である。
整備を行う前には、エンジンを止め、キーをスイッチから抜き取ること。
Important: 以下のような条件で使用する場合には、保守間隔を通常の半分に短縮し、より頻繁な整備を行ってください:
砂漠、荒れ地での使用
酷寒地(気温10℃以下)での使用
トレーラ作業
非常にほこりの多い条件下での頻繁な使用
建設現場での使用
泥地、砂地、濡れた場所など車体が汚れる場所で長時間の作業を行った後は、以下を行ってください:
使用が終わったらできるだけすぐにブレーキの洗浄と点検を行ってください。これにより無用な摩耗を防止することができる。
水または水と刺激の少ない洗剤で車体を洗浄する。
Important: 塩分を含んだ水や処理水は機体の洗浄に使用しないでください。
整備作業の多くは、荷台の昇降作業を伴います。けがや死亡事故を防止するために以下の点にご注意ください:
平らな場所に駐車する。
駐車ブレーキを掛ける。
荷台を空にして上昇させる;荷台を上げるを参照。
エンジンを止め、キーを抜き取る。
車体が十分冷えるのを待って整備作業を開始する。
エンジンを始動し、油圧昇降レバーで荷台を降下させてスロットの中でシリンダが遊んでいる状態にする。
昇降レバーから手を離し、エンジンを停止する。
シリンダの外側端部からリンチピンを外す(図 23)。

シリンダロッドの端部を荷台取り付けプレートのスロットに固定しているクレビスピンを内側に押し込んで外す(図 23)。
ピボットブラケットをフレームに固定しているリンチピンとクレビスピンを外す(図 23)。
車体から荷台を外す。
フルサイズ荷台は約148kg の重量があり、一人で作業することは不可能である。
必ず 2 人または 3 人で行なうか、ホイストを使うこと。
シリンダを格納用クリップで固定する。
油圧昇降レバーを誤って操作しないように、ロックしておく。
Note: 荷台に側板を取り付ける場合は、先に側板を取り付けてから荷台を車両に取り付けると楽に作業ができます。
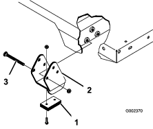
後部のピボットプレートは下端を後部に向けて荷台フレーム(チャネル鋼材)にボルトで固定されています(図 24)。

フルサイズ荷台は約148kg の重量があり、一人で作業することは不可能である。
必ず 2 人または 3 人で行なうか、ホイストを使うこと。
スペーサブラケットとウェアブロック(図 25)はキャリッジボルトで固定しますが、このボルトは必ず頭を車両の内側に向けてください。

シリンダが完全に縮んだのを確認する。
荷台を慎重に車両フレームの上に載せる; 後部にある荷台のピボットプレートの穴とリアフレーム(チャネル鋼材)の穴を揃えて、クレビスピンとリンチピン(各2個)を取り付ける(図 25)。
荷台を下げた状態のまま、各シリンダロッド端部を荷台取り付けプレートのスロットに固定する; クレビスピンとリンチピンを使用。
クレビスピンは荷台の外側から差し込み、リンチピンが荷台の外側に向くようにする(図 25)。
Note: 後ろ側のスロットはフルサイズ荷台の取付け用で、前側のスロットは 2/3 荷台の取付け用。
Note: 穴の位置が揃わない場合はエンジンを掛けてシリンダを伸縮させて合わせてください。
Note: 使っていない穴をボルトとナットでふさいでおくと、組立て時の間違いを防ぐことができます。
エンジンを掛け、油圧昇降レバーを操作して荷台を上げる。
昇降レバーから手を離し、エンジンを停止する。
荷台の安全サポートを取り付けて、誤って荷台が下がってこないようにしておく;安全サポートの使い方を参照。
クレビスピンの内側の端部にリンチピンを取り付ける。
Note: 荷台にテールゲート自動開放装置を搭載している場合は、リンチピンを取り付ける前に、必ず、フロントダンプリンクロッドが左側のクレビスピンの内側にきていることを確認してください。
| 整備間隔 | 整備手順 |
|---|---|
| 100運転時間ごと |
|
グリスの種類:No. 2 汎用リチウム系グリス
異物を入れてしまわないよう、グリスフィッティングをウェスできれいに拭く。
フィッティングにグリスガンを接続してグリスを注入する。
はみ出したグリスは表面からきれいにふき取る。
Important: ドライブシャフトとユニバーサルシャフトベアリングのクロス部分では、4つのカップ全部からグリスがはみ出てくるまでグリスを入れてください。
グリスアップ箇所は以下の通りです:
オイル量の点検やオイルの補給を行う時は必ずエンジンを停止させ、キーを抜き取り、各部が完全に停止したのを確認してから作業に移る。
手足や顔や衣服を回転部やマフラなどの高温部に近づけないよう十分注意すること。
| 整備間隔 | 整備手順 |
|---|---|
| 25運転時間ごと |
|
| 100運転時間ごと |
|
定期的にエアクリーナとホースアセンブリを点検し、エンジンの保護と寿命の安定をはかってください。エアクリーナ本体にリーク原因となりそうな傷がないか点検してください。ボディーが破損している場合は交換してください。
エアクリーナのラッチを外し、ボディーからカバーを抜き出す(図 33)。

ダストカップ側をひねって開き、内部にあるゴミを捨てる。
エアクリーナのボディーから、フィルタをしずかに引き出す (図 33)。
Note: ボディの側面にフィルタをぶつけないように注意すること。
Note: フィルタは清掃しないでください。
新しいフィルタの外側から照明を当ててフィルタの内側を点検し、傷などがないか確認する。
Note: フィルタに穴があいているとその部分が明るく見えます。破れや油汚れ、ゴムシールの傷がないか点検してください。破損しているフィルタは使用しない。
Note: エンジンを保護するため、必ずエアフィルタを取り付け、カバーをつけて運転してください。
フィルタをゆっくり押し込むようにしてボディチューブに取り付ける(図 33)。
Note: 一次フィルタの外側リムをしっかり押さえて確実に装着してください。
上下方向を間違えないように、エアクリーナカバーを正しく取り付け、ラッチを掛ける(図 33)。
Note: ほこりのひどい場所で使用する場合は、より頻繁なオイル交換が必要です。
Note: 使用済みのオイルやフィルタはリサイクルセンターに持ち込むなど適切な方法で処分してください。。
オイルのタイプ: 洗浄性オイル(API 規格 SJ またはそれ以上)
クランクケースのオイル量: 3.2 リットル(フィルタ交換時)
粘度: 下の表を参照してください。

| 整備間隔 | 整備手順 |
|---|---|
| 使用するごとまたは毎日 |
|
Note: エンジンオイルの点検は、毎日始動前のエンジンの冷えている時に行うのがベストです。既にエンジンを始動してしまった場合には、一旦エンジンを停止し、オイルが戻ってくるまで約 10 分間程度待ってください。油量がディップスティックのADDマークにある場合は、FULLマークまで補給してください。入れすぎないように注意してください。オイル量が FULL とADD の中間の時は、オイルを補給する必要はありません。
平らな場所に駐車する。
駐車ブレーキを掛ける。
エンジンを止め、キーを抜き取る。
ディップスティックを抜き、きれいなウェスで一度拭く(図 35)。

ディップスティックを、チューブの根元までもう一度しっかりと差し込む(図 35)。
引き抜いてディップスティックの目盛りで油量を点検する(図 35)。
オイルの量が不足している場合は、補給口のキャップ(図 35)を取り、ディップスティックの FULL マークまで補給する。
Note: 補給は、通気を確保するためにディップスティックを抜いて行い、時々ディップスティックで確認しながら少量ずつ入れてください。入れすぎないように注意してください。
Important: エンジンオイルを補給する時には、補給口とジョウゴなどの間に 図 36 に示すようなすき間が必要です。これは補給の際に通気を確保し、オイルがブリーザ内部に侵入しないようにするためです。

ディップスティックをしっかり差し込んで終了(図 35)。
Note: エンジンの故障コードを読み出すには弊社代理店のスタッフを呼んでいただくことが必要です。
平らな場所に駐車する。
駐車ブレーキを掛ける。
エンジンを止め、キーを抜き取る。
代理店に連絡する。
| 整備間隔 | 整備手順 |
|---|---|
| 使用するごとまたは毎日 |
|
燃料フィルタの下に汚れのない容器をおく(図 38)。
キャニスタ下部のドレンプラグをゆるめて水や異物を流し出す。

キャニスタ下部のドレンプラグを締める。
| 整備間隔 | 整備手順 |
|---|---|
| 400運転時間ごと |
|
水セパレータからの水抜きを行う; 燃料フィルタ・水セパレータからの水抜きを参照。
フィルタの取り付け部周辺をウェスできれいにぬぐう(図 38)。
フィルタ容器を外して取り付け部をきれいに拭く。
ガスケットにきれいなオイルを薄く塗る。
ガスケットが取り付け部に当るまで手でねじ込み、そこからさらに1/2回転締め付ける。
キャニスタ下部のドレンプラグを締める。
| 整備間隔 | 整備手順 |
|---|---|
| 400運転時間ごと |
|
燃料ライン、フィッティング、クランプなどに、漏れ、劣化、破損、ゆるみなどが出ていないか点検を行ってください。
Note: 燃料系統の部品にこうした症状が見られた場合には、それらの部品を交換してください。
マシンの整備や修理を行う前に、バッテリーの接続を外してください。バッテリーの接続を外すときにはマイナスケーブルを先に外し、次にプラスケーブルを外してください。接続するときにはプラスを先に接続し、次にマイナスを接続してください。
バッテリーの充電は、火花や火気のない換気の良い場所で行ってください。バッテリーと充電器の接続や切り離しを行うときは、充電器をコンセントから抜いておいてください。また、安全な服装を心がけ、工具は確実に絶縁されたものを使ってください。
バッテリー連結によるエンジン始動は危険を伴う作業である。人身事故や電気系統の破損を防止するために、以下の注意を守って行うこと:
救援用のバッテリーの電圧が DC 15 V を超えないことを確認する; これ以上の電圧ではワークマン側の電気系統が破損する。
凍結したバッテリーには絶対に接続してはならない。作業中に破裂や爆発を起こす危険がある。
バッテリーの取り扱いに関する通常の注意事項を守って作業を行うこと。
救援車とワークマンを直接接触させないよう十分注意すること。
バッテリーケーブルの極性を間違えて接続すると電気系統の破壊や人身事故などを起こす可能性があるので注意すること。
バッテリーカバーをたわめて、タブをバッテリーベースから外し、カバーをバッテリーから取り外す(図 41)。

2 台のバッテリーのプラス(+)端子同士をブースタケーブルでつなぐ(図 42)。
Note: 端子を必ず確認すること; バッテリーカバーの「+」の印で確認できることが多い。
もう 1 本のケーブルを救援車のバッテリーのマイナス(-)端子につなぐ。
Note: バッテリーのマイナス(-)端子の表示を必ず確認すること。
Note: このケーブルの他端は、ワークマンのバッテリー(あがっている方のバッテリー)に直結するのでなく、エンジンとフレームに救援用ケーブルを接続する。但しエンジンの燃料供給部に接続しないこと。

救援側の車両のエンジンを始動する。
Note: エンジンを始動してから数分間待ち、それから救援される側のエンジンを始動する。
ケーブルを外す時は、まずマイナスケーブルをエンジンから先に外し、次にバッテリーのマイナス端子から外す。
バッテリーベースにバッテリーカバーを取り付ける。
| 整備間隔 | 整備手順 |
|---|---|
| 50運転時間ごと |
|
電解液には硫酸が含まれており、触れると火傷を起こし、飲んだ場合には死亡する可能性がある。
電解液を飲まないこと、また、電解液を皮膚や目や衣服に付けないよう十分注意すること。安全ゴーグルとゴム手袋で目と手を保護すること。
皮膚に付いた場合にすぐに洗浄できるよう、必ず十分な量の真水を用意しておくこと。
バッテリーはいつもきれいに、またフル充電状態に保持してください。
端子部に腐食が発生した場合には、重曹水(水4:重曹1)で清掃します。
清掃後は、腐食防止のためにバッテリー端子にワセリンなどを塗布してください。
バッテリー液の量を所定レベルに維持してください。
バッテリー上部はアンモニア水または重曹水に浸したブラシで定期的に清掃してください。清掃後は表面を水で流して下さい。清掃中はセルキャップを外さないでください。
バッテリーのケーブルは、接触不良にならぬよう、端子にしっかりと固定してください。
各セルへは、蒸留水またはミネラルを含まない水を適正レベルまで補給してください。水を補給するときは上限(各セルの内側の線の下端)を超えないように注意してください。
高温環境下で保管すると、涼しい場所で保管するよりもバッテリーは早く放電します。
| 整備間隔 | 整備手順 |
|---|---|
| 100運転時間ごと |
|
平らな場所に駐車する。
駐車ブレーキを掛ける。
エンジンを止め、キーを抜き取る。
デファレンシャルの側面についている補給・点検プラグの周囲をきれいに拭く(図 43)。

補給・点検プラグを外してオイルの量を調べる。
Note: 穴の高さまでオイルがあればよい。
不足している場合には適切なオイルを補給する。
補給・点検プラグを取り付ける。
| 整備間隔 | 整備手順 |
|---|---|
| 800運転時間ごと |
|
デファレンシャルオイルのタイプ: Mobil 424 油圧オイル
平らな場所に駐車する。
駐車ブレーキを掛ける。
エンジンを止め、キーを抜き取る。
デファレンシャル側面にあるドレンプラグの周辺をウェスできれいにぬぐう(図 43)。
ドレンプラグの下にオイルを受ける容器をおく。
ドレンプラグを外してオイルを容器に受ける。
オイルが完全に抜けたらドレンプラグを取り付け、締めつける。
デファレンシャルの下部についている補給・点検プラグの周囲をきれいに拭く。
補給・点検プラグを外し、プラグの穴の高さまでオイルを入れる。
補給・点検プラグを取り付ける。
| 整備間隔 | 整備手順 |
|---|---|
| 200運転時間ごと |
|
風速安定ボックスに割れや穴、接続部のゆるみがないか点検する。破損個所を発見した場合には、トロの代理店に修理を依頼する。
| 整備間隔 | 整備手順 |
|---|---|
| 使用開始後最初の 10 時間 |
|
| 200運転時間ごと |
|
シフトレバーをニュートラル位置にする。
シフトケーブルをトランスアクスルのシフトアームに固定しているクレビスピンを取る(図 44)。

クレビスのジャムナットをゆるめて、各クレビスを調整する; トランスアクスルのシフトアームの穴の前と後ろでケーブルの遊びが等しくなるようにする(前後それぞれの方向でトランスアクスルレバーの遊びを吸収するように)。
調整が終わったらクレビスピンを取り付けてジャムナットを締め付ける。
| 整備間隔 | 整備手順 |
|---|---|
| 200運転時間ごと |
|
ハイ・ロー切り替えケーブルをトランスアクスルに固定しているクレビスピンを取る(図 44)。
クレビスのジャムナットをゆるめて、クレビスの穴とトランスアクスルブラケットの穴を揃える。
調整が終わったらクレビスピンを取り付けてジャムナットを締め付ける。
| 整備間隔 | 整備手順 |
|---|---|
| 200運転時間ごと |
|
デファレンシャルロックレバーをOFF位置にする。
デファレンシャルロックケーブルをトランスアクスルのブラケットに固定しているジャムナットをゆるめる(図 45)。

スプリングのフックとトランスアクスルのレバーの穴の外縁との間が 0.25-1.5 mm になるよう、ジャムナットで調整する。
調整が終わったらジャムナットを締めつける。
| 整備間隔 | 整備手順 |
|---|---|
| 100運転時間ごと |
|
前タイヤの規定空気圧:2.20 bar(2.24 kg/cm2 = 32 psi)
後タイヤの規定空気圧:1.24 bar(2.24 kg/cm2 = 18 psi)
運転中に縁石にぶつけるなどした場合、リムが破損したり、トーインが狂ったりする可能性がありますから、このような事故の後では必ず点検してください。
Important: タイヤ空気圧はひんぱんに点検して適正に保ってください。空気圧が適正でないと、タイヤの摩耗が通常より早くなって四輪駆動できなくなる場合があります。
図 46は空気圧不足で生じる磨耗の例です。

図 47は空気圧過多で生じる磨耗の例です。

| 整備間隔 | 整備手順 |
|---|---|
| 400運転時間ごと |
|
前輪の整列を点検する前に、タイヤ空気圧が左右前輪とも適正であることを確認する;タイヤ空気圧を点検するを参照。
誰かを運転席に座らせる。または、標準的なオペレータの体重と同程度のウェイトを運転席に載せる。
運転席に着席した人または運転士代わりのおもりは、以下の調整作業中、ずっと運転席にいる必要がある。
水平な床の上で、車両を 2-3 m まっすぐにバックさせた後、まっすぐ前に押して元の位置に戻す。
これにより、サスペンションが通常の作動状態にセットされる。
タイヤをまっすぐ前に向ける。
前輪の前と後ろで、左右のタイヤの中央線間距離を測る;計測はアクスルの高さで行う(図 48)。
前輪のトーインの適正値は 0-6 mm です。
Important: 計測はタイヤの同じ位置で行ってください。車両は平らな場所に停めること、またタイヤはまっすぐ前に向けること。

前輪のトーインが適正でない場合には、以下の手順で調整する:
タイロッドの中心についているジャムナットをゆるめる(図 49)。

両方のタイロッドを同じだけ回してタイヤの前側を内向きまたは外向きに動かして調整する。
トーインが正しく調整できたら、タイロッドのジャムナットを締める。
タイロッドのジャムナットを 62-74 N·m(6.2-7.6 kg.m = 45-55 ft-lb)にトルク締めする。
トーインの調整が完了したら、ハンドルが左右の限度いっぱいまで問題なく切れることを確認する。
ハンドルを動かしている間、タイヤが車体のどこにも触れないことを確認する。必要に応じて調整を行う。
| 整備間隔 | 整備手順 |
|---|---|
| 使用開始後最初の 2 時間 |
|
| 使用開始後最初の 10 時間 |
|
| 200運転時間ごと |
|
ホイールナットの規定トルク:109-122 N·m(11-12 kg.m = 80-90 ft-lb)
前後の車輪のホイールナットを 図 50 に示すクロスパターンで規定トルクまで締め付けてください。

冷却液を飲み込むと中毒を起こす;冷却液は子供やペットが触れない場所に保管すること。
高温高圧の冷却液を浴びたり、高温のラジエター部分に触れたりすると大火傷をする恐れがある。
エンジン停止後、少なくとも15分間程度待って、エンジンが冷えてからキャップを開けること。
キャップを開けるときはウェスなどを使い、高温の水蒸気を逃がしながらゆっくりと開けること。
マシンは、必ず安全カバー類を取り付けた状態で運転すること。
手、指、衣服などを、ファンやベルトに近づけないように注意すること。
保守作業を行う前にエンジンを停止し、キーを抜き取っておくこと。
| 整備間隔 | 整備手順 |
|---|---|
| 使用するごとまたは毎日 |
|
冷却液容量: 3.7 リットル
冷却液のタイプ:水とエチレングリコール不凍液の 50/50 混合液
エンジン停止直後にラジエターのキャップを開けると、高温高圧の冷却液が吹き出してやけどを負う恐れがある。
ラジエターを開けたり直接冷却液を追加すると内部にエアが混入してエンジンを損傷する。冷却液は、補助タンクに補給すること。
エンジン回転中はラジエターのふたを開けないこと。
キャップを開けるときはウェスなどを使い、高温の水蒸気を逃がしながらゆっくりと開けること。
平らな場所に駐車する。
トランスミッションレバーを P (駐車) 位置にシフトする。
エンジンを止め、キーを抜き取る。
補助タンクにあるラジエターの液量を点検する。

Note: エンジンが冷えている状態で補給管の下部まであれば適正である。
液量が不足している場合には、補助タンクのふたをとり、(OAT)製蒸留水とエチレングリコール不凍液の50/50 混合液を補給する。
入れすぎないこと。
補助タンクのキャップを手締めする。
| 整備間隔 | 整備手順 |
|---|---|
| 1000運転時間ごと |
|
冷却液容量: 3.7 リットル
冷却液のタイプ:水とエチレングリコール不凍液の 50/50 混合液
代理店に連絡してください。
| 整備間隔 | 整備手順 |
|---|---|
| 使用するごとまたは毎日 |
|
| 1000運転時間ごと |
|
ブレーキオイルのタイプ: DOT 3
| 整備間隔 | 整備手順 |
|---|---|
| 使用開始後最初の 10 時間 |
|
| 200運転時間ごと |
|
| 整備間隔 | 整備手順 |
|---|---|
| 200運転時間ごと |
|
Note: 前のフードを外すと調整作業がやりやすくなります。
| 整備間隔 | 整備手順 |
|---|---|
| 使用開始後最初の 10 時間 |
|
| 200運転時間ごと |
|
荷台を上げ、荷台サポートを取り付けて、荷台を固定する。
クランクシャフトとオルタネータのプーリ間の中央でベルトを指で押してベルトの張りを点検する; 押す力は10kg程度(図 60)。
Note: 新しいベルトの場合は 8-12 mm 程度のたわみが出るのが適正である。
Note: 古いベルトの場合は 10-14 mm 程度のたわみが出るのが適正である。たわみの量が適正でない場合は以下の手順へ進む。適正であれば調整は不要です。
ベルトの張りの調整は以下のように行います:
| 整備間隔 | 整備手順 |
|---|---|
| 200運転時間ごと |
|
Note: クラッチペダルのケーブルはベルハウジングでもクラッチペダルのピボットでも調整することができます。フロントフードを外すとペダルピボットに手が届きやすくなります。
クラッチケーブルをベルハウジング上のブラケットに固定しているジャムナットをゆるめる(図 61)。
Note: さらに調整が必要な場合は、ボールジョイントを外して回しても構いません。

クラッチレバーからリターンスプリングを外す。
ジャムナットまたはボールジョイントを調整する; 1.8 kgの力でクラッチペダルを踏んだ時にペダルの裏面の下端が床のダイヤモンド柄の頂部から 9.2-9.8 cm になるようにする(図 62)。

Note: クラッチリリースベアリングがプレッシャプレートのフィンガーに軽く触れるように力を掛けてください。
調整ができたらジャムナットを締めて調整を固定する。
ジャムナットを締めた後で測定して、正しく 9.2-9.8 cmに調整できていることを確認する。
Note: 必要に応じて再調整する。
リターンスプリングをクラッチレバーに取り付ける。
Important: ジャムナットを締めた後、ロッドの端部がねじれずにぴったりボールに当たり、クラッチペダルと平行になっていることを確認してください(図 63)。
Note: クラッチの遊びは絶対に 19 mm よりも小さくしないでください。

万一、油圧オイルが体内に入ったら、直ちに専門医の治療を受ける。万一、油圧オイルが体内に入った場合には、数時間以内に手術を受ける必要がある。
油圧系統の整備作業を行う時は、必ずエンジンを停止し、ダンプバルブを上昇から下降に切り替えるか、荷台やアタッチメントを下降させてシステム内部の圧力を完全に解放してください。リモート油圧装置のレバーは平らに寝た状態にセットしてください。また、荷台を上げて作業する場合には、かならず荷台安全サポートで荷台を固定してください。
油圧装置を作動させる前に、全部のラインコネクタが適切に接続されていること、およびラインやホースの状態が良好であることを確認すること。
油圧のピンホールリークやノズルからは作動油が高圧で噴出しているので、絶対に手や足を近づけない。
リークの点検には新聞紙やボール紙を使う。
トランスアクスルオイルのタイプ: Dexron III ATF
| 整備間隔 | 整備手順 |
|---|---|
| 使用するごとまたは毎日 |
|
平らな場所に駐車する。
駐車ブレーキを掛ける。
エンジンを止め、キーを抜き取る。
ディップスティック取り付け部の周辺をきれいにぬぐう(図 66)。

トランスアクスルの上部からディップスティックを抜き取り、ウェスで一度きれいに拭く。
ディップスティックを、トランスアクスルにもう一度しっかりと差し込む。
ディップスティックを抜き出してオイルの量を読み取る。
Note: ディップスティックの平たい部分の一番上まで油量があれば適正である。
不足している場合は、所定のオイルを適正量まで補給する;トランスアクスル・油圧作動液の仕様を参照。
| 整備間隔 | 整備手順 |
|---|---|
| 800運転時間ごと |
|
油圧オイルの量: 7 リットル
平らな場所に駐車する。
駐車ブレーキを掛ける。
エンジンを止め、キーを抜き取る。
油圧オイルタンクの側面にあるドレンバルブをゆるめ、流れ出すオイルを容器に受ける(図 67)。

タンク側面のストレーナについている油圧ホースと90°フィッティングの向きを確認記憶する(図 68)。
油圧ホースと90度フィッティングを外す。
ストレーナを外し、裏側から溶剤で洗浄する。
Note: 取り付ける前に自然乾燥させる。

ストレーナを取り付ける。
ストレーナに接続する油圧ホースと 90°ィッティングも元通りの向きに取り付ける。
ドレンプラグを取り付け、締め付ける。
約 7 リットルの油圧オイルを入れる;トランスアクスル/油圧オイルの量を点検するを参照。
エンジンを始動させて運転を行い、システム全体にオイルを行き渡らせる。
オイルの量を点検し、必要に応じて補給する。
Important: 指定された銘柄のオイル以外は使用しないでください。他のオイルを使用すると油圧システムを損傷する恐れがあります。
| 整備間隔 | 整備手順 |
|---|---|
| 使用開始後最初の 10 時間 |
|
| 800運転時間ごと |
|
Important: 純正品以外のフィルタを使用すると関連機器の保証が適用されなくなる場合があります。
平らな場所に駐車する。
駐車ブレーキを掛ける。
エンジンを止め、キーを抜き取る。
フィルタ取り付け部周辺をウェスできれいにぬぐう。
フィルタの下に廃油受けを置いてフィルタを外す(図 69)。

新しいフィルタのガスケットにオイルを塗る。
取り付け部が汚れていないのを確認する。
ガスケットが取り付けプレートに当たるまで手で回して取り付け、そこから更に½回転増し締めする。
エンジンを始動して2分間運転し、システム内のエアをパージする。
エンジンを停止し、タンクの油量を点検し、オイル漏れがないか調べる。
油圧オイル溜めに高品質の油圧オイルを満たして出荷しています。初めての運転の前に必ず油量を確認し、その後は毎日点検してください;ハイフロー油圧オイルの量を点検するを参照。
交換用の推奨油圧オイル:Toro PX Extended Life Hydraulic Fluid(19 リットル缶または208 リットル缶)。
Note: 推奨オイルを使用するとオイルやフィルタ交換の回数を減らすことができます。
使用可能な他のオイル:Toro PX Extended Life Fluidが入手できない場合は、以下に挙げる特性条件および産業規格を満たす石油系の油圧オイルを使用することができます。合成オイルは使用しないでください。オイルの専門業者と相談の上、適切なオイルを選択してください:
Note: 不適切なオイルの使用による損害については弊社は責任を持ちかねますので、品質の確かな製品をお使い下さる様お願いいたします。
| 物性: | ||
| 粘度, ASTM D445 | cSt @ 40°C 44-48 | |
| 粘性インデックス ASTM D2270 | 140 以上 | |
| 流動点, ASTM D97 | -37°C--45°C | |
| 産業規格: | Eaton Vickers 694 (I-286-S, M-2950-S/35VQ25 or M-2952-S) | |
Note: 多くの油圧オイルはほとんど無色透明であり、そのためオイル洩れの発見が遅れがちです。油圧オイル用の着色剤(20 ml 瓶)をお使いいただくと便利です。1瓶で 15-22 リットルのオイルに使用できます。パーツ番号は P/N 44-2500; ご注文は Toro 代理店へ。
| 整備間隔 | 整備手順 |
|---|---|
| 使用するごとまたは毎日 |
|
平らな場所に駐車する。
駐車ブレーキを掛ける。
エンジンを止め、キーを抜き取る。
油圧オイルタンクの注油口周辺をきれいに拭き、キ ャップを外す(図 70)。
給油口からキャップを取る。

補給口の首からディップスティック(図 70)を抜き、ウ ェスできれいに拭う。
もう一度首に差し込んで引き抜き、オイルの量を点検する。
Note: 2本のマークの間にあれば適正である。
油量が少なければ上マークまで補給する;ハイフロー油圧オイルとフィルタの交換を参照。
ディップスティックとキャップを取り付ける。
エンジンを掛け、アタッチメントを ON にする。
Note: 約 2 分間運転し、システム内のエアをパージする。
Important: ハイフロー油圧装置を ON にする前に車両を始動させておく必要があります。
エンジンとアタッチメントを止め、オイル漏れがないか点検する。
| 整備間隔 | 整備手順 |
|---|---|
| 800運転時間ごと |
|
| 1000運転時間ごと |
|
| 2000運転時間ごと |
|
油圧オイルタンクの量:約 15 リットル
平らな場所に駐車する。
駐車ブレーキを掛ける。
エンジンを止め、キーを抜き取る。
ハイフローフィルタを取り付けている周辺をウェスできれいにぬぐう(図 69)。
フィルタの下に廃油受けを置いてフィルタを外す。
Note: オイルを抜かずにフィルタのみを交換する場合には、フィルタに入るラインに栓をしてください。
新しいフィルタのガスケットをオイルで湿し、ガスケットがフィルタヘッドに当たるまで手で回し入れる。その状態からさらに ¾ 回転締め付ける。これでフィルタは十分に密着する。
油圧オイルタンクに約 15 リットルの油圧オイルを入れる。
エンジンを始動させ、約 2 分間のアイドリングを行ってオイルを全体に行き渡らせ、内部にたまっているエアを逃がす。
エンジンを止め、油量を点検する。
オイルの量が適正であることを確認する。
抜いたオイルは適切に廃棄処理する。
エンジンで荷台を上げられなくなった時には、スタータを使うか、もう一台のワークマンの油圧装置を使うかして上げることができます。
昇降レバーを上昇位置にした状態でスタータモータを回せば荷台を上げることができます。但し、スタータは10 秒間以上連続で回さないでください; 10 秒使用したら 60 秒休んでください。クランキングできない時は、積み荷を降ろして荷台(アタッチメント)を外し、エンジンまたはトランスアクスルの整備を行う必要があります。
荷台に資材を積んだままで荷台を上昇させ、確実に支持しないと荷台が急に降下する可能性がある。適切に支持されていない荷台の下での作業は危険である。
車両の整備や調整を行う時には、まず平らな場所に駐車し、駐車ブレーキを掛け、エンジンを停止させてキーを抜き取ること。
荷台の下で作業するときは荷台もアタッチメントも空にし、昇降シリンダが完全に延びた状態にして荷台を安全サポートで支える。
この方法には本体側のカップラに合うクイックカップラの付いた油圧ホース(片側にオスのカップラ、もう一方にメスのカップラ)が 2 本必要です。
もう一台のワークマンを、故障しているワークマンに背中合わせに寄せる。
Important: ワークマンの油圧システムにはDexron III ATF オイルを使用しています。油圧装置の汚染を防ぐため、2 台のワークマン(救援車と故障車)が共に同じオイルを使用していることを必ず確認してください。
それぞれの車両で、クイックカップラホース(2本)を、カップラブラケットのホースから外す(図 71)。

故障しているワークマンのカップラホースに、救援用ホース 2 本を接続する(図 72)。
使用しないフィッティングにはキャップをかぶせておく。

救援側のワークマンのカップラブラケットにまだついているカップラに、救援用ホースを接続する(上のホースは上のカップラに、下のホースは下のカップラに接続する)(図 73)。
使用しないフィッティングにはキャップをかぶせておく。

周囲から人を遠ざける。
救援車のエンジンを始動し、油圧昇降レバーを「上昇」位置にすると、故障側の荷台が持ち上がる。
油圧レバーをニュートラル位置にしてレバーをロックする。
伸ばした昇降シリンダに、荷台サポートを取り付ける;安全サポートの使い方を参照。
Note: 両方の車両のアタッチメントとエンジンを停止させた状態で、油圧昇降レバーを数回前後に動かし、内部の圧力を解放するとクイックカップラが外しやすくなります。
作業が終わったら救援ホースを外し、各ワークマンの油圧ホースを元通りに接続する。
Important: 両方の車両とも、運転を再開する前に必ず油圧オイルの量を確認してください。
必要に応じて水または水と刺激の少ない洗剤で車体を洗浄する。柔らかい布などを使っても構いません。
Important: 塩分を含んだ水や処理水は機体の洗浄に使用しないでください。
Important: 高圧洗浄機は使用しないでください。圧力洗浄機を使うと、電装部の損傷、ステッカー類の剥がれ、潤滑部のグリス落ちなどを起こす可能性があります。また、コントロールパネル、エンジン、バッテリー付近に大量の水をかけないようにしてください。
Important: エンジンを駆動させたままで洗車を行わないでください。エンジンを駆動させたままで洗車するとエンジン内部を損傷する恐れがあります。
マシンを停止させ、キーを抜き取り、各部の動作が完全に停止したのを確認してから運転位置を離れる。調整、整備、清掃、格納などは、車両が十分に冷えてから行ってください。
ガス湯沸かし器のパイロット火やストーブなど裸火や火花を発するものがある近くでは、機械や燃料容器を保管・格納しないでください。
| 整備間隔 | 整備手順 |
|---|---|
| 使用開始後最初の 50 時間 |
|
| 200運転時間ごと |
|
| 400運転時間ごと |
|
| 600運転時間ごと |
|
平らな場所に駐車し、駐車ブレーキを掛け、エンジンを停止し、キーを抜き取る。
エンジンのシリンダヘッドや冷却フィン、ブロアハウジングをふくめた車両全体を洗浄する。
ブレーキを点検する;ブレーキオイル量の点検を参照。
エアクリーナの整備を行う;エアクリーナの整備を参照。
エアクリーナの吸気口とエンジンの排気口を防水テープでふさぐ。
機体のグリスアップを行う;ベアリングとブッシュのグリスアップを参照。
エンジンオイルとフィルタの交換を行う;エンジンオイルとフィルタの交換を参照。
燃料タンクから燃料を抜き取り、きれいな燃料で内部を洗浄する。
燃料系統の接続状態を点検し必要な締め付けを行う。
タイヤ空気圧を点検する;タイヤ空気圧を点検するを参照。
冷却水(エチレングリコール不凍液と水との 50/50 混合液)の量を点検し、凍結を考慮して必要に応じて補給する。
車体からバッテリーを外し、電解液の量を点検し、フル充電する;バッテリーの整備を参照。
Note: 保管期間中は、バッテリーケーブルを外しておいてください。
Important: 氷点下での凍結破損を防止するため、バッテリーは必ずフル充電してください。フル充電したバッテリーは周囲温度約 4°C でほぼ 50 日間電圧を保持します。保管場所の気温がそれよりも高い場合には 30 日ごとに再充電してください。
機体各部のゆるみを点検し、必要な締め付けや交換、修理を行う。破損個所はすべて修理する。
機体の塗装がはげていればタッチアップ修理をする。
ペイントは代理店で入手することができる。
汚れていない乾燥した場所で保管する。
機体にはカバーを掛けておく。
| Problem | Possible Cause | Corrective Action |
|---|---|---|
| クイックカップラの着脱がしにくい。 |
|
|
| パワーステアリングが重い。 |
|
|
| 油圧フィッティングからオイルが漏れている。 |
|
|
| アタッチメントが作動しない。 |
|
|
| エンジンを始動できない |
|
|